Посудомоечные машины AEG FAVORIT 65000 I - инструкция пользователя по применению, эксплуатации и установке на русском языке. Мы надеемся, она поможет вам решить возникшие у вас вопросы при эксплуатации техники.
Если остались вопросы, задайте их в комментариях после инструкции.
"Загружаем инструкцию", означает, что нужно подождать пока файл загрузится и можно будет его читать онлайн. Некоторые инструкции очень большие и время их появления зависит от вашей скорости интернета.

СМОAТИЖAИКA МИЛ ČA
3
4
5
6
7
8
9
1
2
1
РемзЭ цЭ тзилм/ецзилм
2
Тлаеč мл молгоЭйед
3
РемзЭ МолгоЭй
4
МолгоЭйпзе екаезЭрложе
5
МоезЭцлтЭикез
6
РемзЭ АбиЭх
7
РемзЭ ПрЭор
8
ЕкаезЭрложе
9
РемзЭ Лмрелк
ЕкаезЭрложе
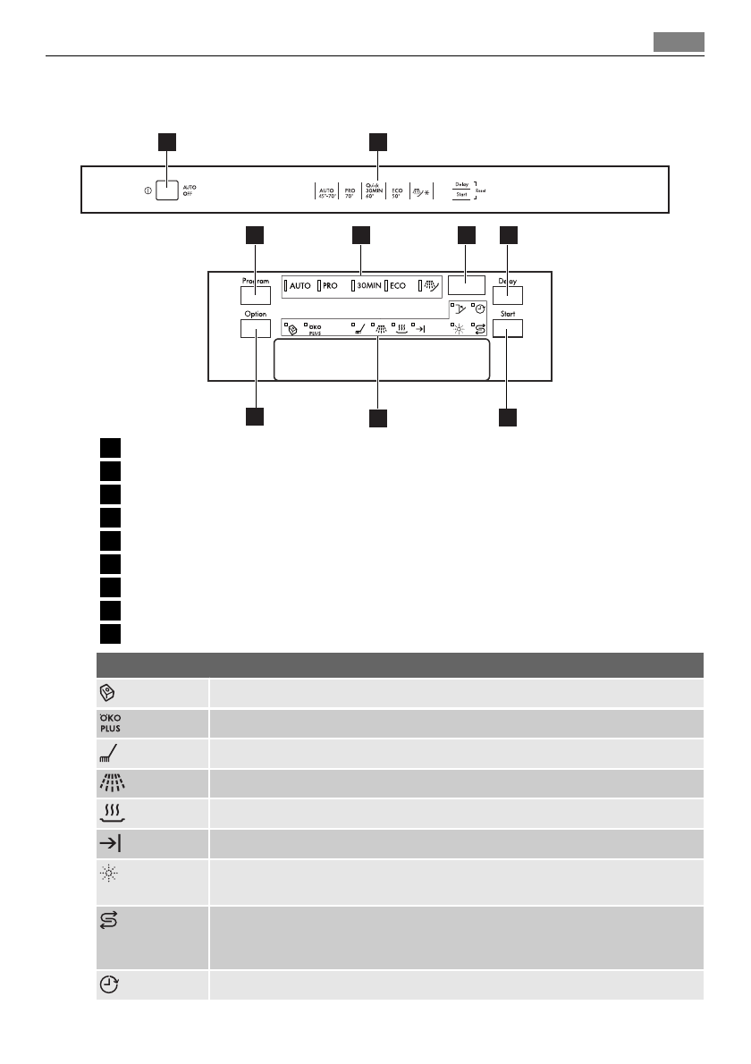
ЕкаезЭрло вскзЯежб ЙсирерЭЮ. ЦЭптбре, зл тзилмерб вскзЯежл.
ЕкаезЭрло вскзЯежб ÖЗЛ МИСП. ЦЭптбре, зл тзилмерб вскзЯежл.
ЕкаезЭрло млйетЭкжЭ. Птбре йба млйетЭкжбй.
ЕкаезЭрло ецмеоЭкжЭ. Птбре йба ецмеоЭкжбй.
ЕкаезЭрло пс бкжЭ. Птбре йба пс бкжбй.
ЕкаезЭрло цЭ злкбЯ. ЦЭптбре, зл пб молгоЭй млйетЭкжЭ цЭзижсčе.
ЕкаезЭрло побапртЭ цЭ ецмеоЭкжб. ЦЭптбре, зл жб робЮЭ кЭмликере мобаЭи побапртЭ цЭ
ецмеоЭкжб.
1)
ЕкаезЭрло цЭ пли. ЦЭптбре, зл жб робЮЭ кЭмликере млплал цЭ пли.
1)
Мл мликжбкжс млплаб цЭ пли иЭдзл екаезЭрло цЭ пли птбре б кбзЭж со. Рл кейЭ кбс‐
глакбгЭ тмиетЭ кЭ абилтЭкжб кЭмоЭтб.
ЕкаезЭрло вскзЯежб АбиЭх. ЦЭптбре, зл тзилмерб цЭйез тзилмЭ.
СмоЭтижЭикЭ мил čЭ
31












