Посудомоечные машины AEG F99015IM0P - инструкция пользователя по применению, эксплуатации и установке на русском языке. Мы надеемся, она поможет вам решить возникшие у вас вопросы при эксплуатации техники.
Если остались вопросы, задайте их в комментариях после инструкции.
"Загружаем инструкцию", означает, что нужно подождать пока файл загрузится и можно будет его читать онлайн. Некоторые инструкции очень большие и время их появления зависит от вашей скорости интернета.

ОПИС ВИРОБУ
1
2 3
4
5
8
10
6
7
12
9
11
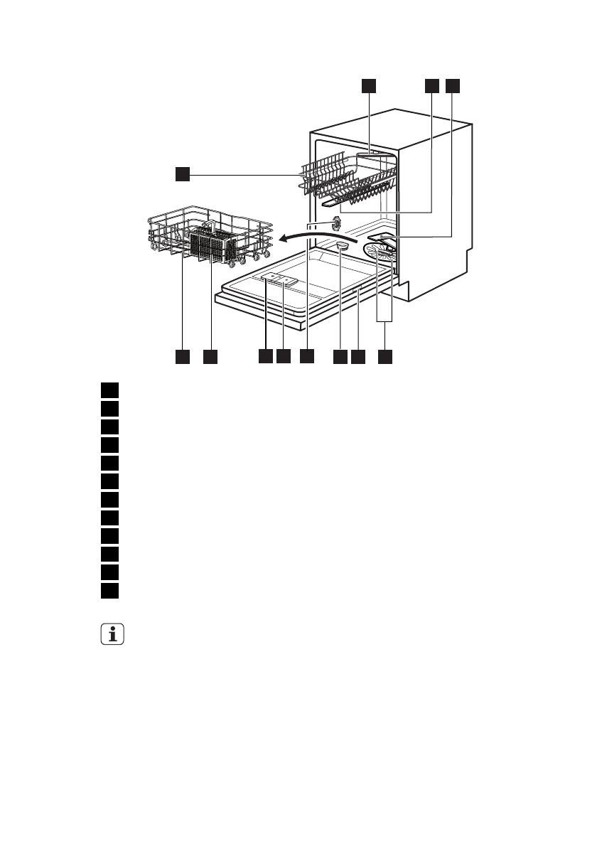
1
Верхній розпилювач
2
Середній розпилювач
3
Нижній розпилювач
4
Фільтри
5
Табличка з технічними даними
6
Контейнер для солі
7
Перемикач рівня жорсткості води
8
Дозатор ополіскувача
9
Дозатор миючого засобу
10
Кошик для столових приборів
11
Нижній кошик
12
Верхній кошик
Цей прилад обладнаний внутрішнім
освітленням, яке вмикається під час
відкривання дверцят та вимикається
при їх закриванні.
Українська
29
Содержание
- 3 белья...; ПОДДЕРЖКА ПОТРЕБИТЕЛЕЙ И СЕРВИСНОЕ ОБСЛУЖИВАНИЕ
- 4 СВЕДЕНИЯ ПО ТЕХНИКЕ БЕЗОПАСНОСТИ
- 6 ОПИСАНИЕ ИЗДЕЛИЯ
- 7 ПАНЕЛЬ УПРАВЛЕНИЯ; ДИСПЛЕЙ
- 9 ПРОГРАММЫ
- 11 РЕЖИМЫ; МЕНЮ ФУНКЦИЙ
- 13 ПЕРЕД ПЕРВЫМ ИСПОЛЬЗОВАНИЕМ; НАСТРОЙКА УСТРОЙСТВА ДЛЯ
- 14 Настройка вручную; Электронная настройка
- 15 ЗАПОЛНЕНИЕ ЕМКОСТИ ДЛЯ СОЛИ
- 16 ЗАПОЛНЕНИЕ ДОЗАТОРА ОПОЛАСКИВАТЕЛЯ
- 17 ЕЖЕДНЕВНОЕ ИСПОЛЬЗОВАНИЕ; ЗАГРУЗКА КОРЗИН
- 18 ИСПОЛЬЗОВАНИЕ МОЮЩЕГО СРЕДСТВА
- 20 УХОД И ОЧИСТКА; ЧИСТКА ФИЛЬТРОВ
- 21 ПОИСК И УСТРАНЕНИЕ НЕИСПРАВНОСТЕЙ
- 22 РЕЗУЛЬТАТЫ МОЙКИ И СУШКИ НЕУДОВЛЕТВОРИТЕЛЬНЫ
- 23 ТЕХНИЧЕСКИЕ ДАННЫЕ
Характеристики
Остались вопросы?Не нашли свой ответ в руководстве или возникли другие проблемы? Задайте свой вопрос в форме ниже с подробным описанием вашей ситуации, чтобы другие люди и специалисты смогли дать на него ответ. Если вы знаете как решить проблему другого человека, пожалуйста, подскажите ему :)













