Подогреватели Miele ESW 7010 - инструкция пользователя по применению, эксплуатации и установке на русском языке. Мы надеемся, она поможет вам решить возникшие у вас вопросы при эксплуатации техники.
Если остались вопросы, задайте их в комментариях после инструкции.
"Загружаем инструкцию", означает, что нужно подождать пока файл загрузится и можно будет его читать онлайн. Некоторые инструкции очень большие и время их появления зависит от вашей скорости интернета.
Загружаем инструкцию

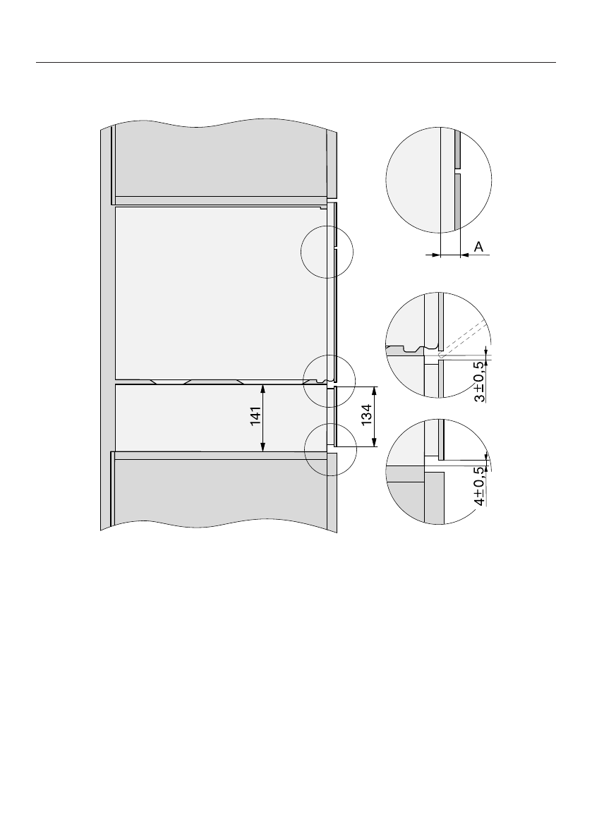
Размеры для встраивания ESW 7010, ESW 7110
50
Вид сбоку
A
Стеклянный фронт: 22 мм
Металлический фронт: 23,3 мм
Содержание
- 2 Содержание
- 4 Указания по безопасности и предупреждения
- 5 Надлежащее использование; Этот прибор предназначен для использования домашних хо-
- 6 Если у Вас есть дети
- 7 Техническая безопасность
- 9 Если прибор встроен за мебельным фронтом (например,
- 10 Правильная эксплуатация
- 11 Попадание жидкостей внутрь прибора может вызвать корот-; Чистка и уход; Опасность поражения электрическим током. Пар из паро-
- 12 Ваш вклад в охрану окружающей среды; Утилизация прибора
- 13 Обзор; Противоскользящий коврик
- 15 Элементы управления и индикаторы; Сенсорные кнопки
- 16 Решётка
- 17 Ввод в эксплуатацию; Первая чистка прибора
- 18 Доступность Miele@home
- 19 Для регистрации потребуется:
- 20 Соединение через WPS
- 21 Управление прибором; Принцип управления
- 22 Использование MobileStart
- 23 Установки температуры; можно изменить температуру с шагом в 5° °C.
- 24 Поддержание тепла блюд; Рекомендации
- 25 Угроза здоровью при слишком
- 26 Настройки
- 28 Подогрев посуды
- 29 Стандартный сервиз на 6 персон
- 30 Стандартный сервиз на 12 персон
- 31 Низкотемпературное приготовление; Внутренняя температура; – 55–60 °C = средняя прожарка; Длительность приготовления; – Мясо должно быть хорошо «со-
- 33 – Не доводите продукт до полной го-
- 34 Таблица приготовления говядины; Таблица приготовления телятины; Вид мяса
- 35 Таблица приготовления свинины; Таблица приготовления баранины
- 36 Таблица приготовления дичи; Таблица приготовления рыбы; Вид рыбы
- 37 Другие возможности применения
- 38 Условия; – Подогреватель подключён к до-
- 39 Функция «Шаббат»; Включение; Горят; Выключение; Вся индикация погаснет.
- 42 Нарушение работы сенсорных
- 45 Дополнительно приобретаемые принадлежности
- 46 Повреждения из-за неправильно выполненного встраивания.
- 47 Указания по монтажу; – все духовые шкафы шириной 60 см
- 51 Подключения и вентиляция; Вид спереди
- 60 Встраивание
- 61 Подключение к электросети; Опасность получения травм
- 62 Общая мощность; Мощность в Вт при; Параметры подключения; Опасность поражения элект-
- 63 Замена сетевого кабеля
- 64 Сервисная служба; – в сервисные центры Miele.; Типовая табличка; Типовую табличку вы найдёте здесь:; Гарантия; Гарантийный срок составляет 2 года.
- 65 Сертификат соответствия; Срок службы прибора: 10 лет; Дата изготовления
- 66 Гарантия качества товара
- 68 Контактная информация о Miele
- 69 Заявление о соответствии товара; Диапазон частот
- 70 Факс
Характеристики
Остались вопросы?Не нашли свой ответ в руководстве или возникли другие проблемы? Задайте свой вопрос в форме ниже с подробным описанием вашей ситуации, чтобы другие люди и специалисты смогли дать на него ответ. Если вы знаете как решить проблему другого человека, пожалуйста, подскажите ему :)
Часто задаваемые вопросы
Как посмотреть инструкцию к Miele ESW 7010?
Необходимо подождать полной загрузки инструкции в сером окне на данной странице
Руководство на русском языке?
Все наши руководства представлены на русском языке или схематично, поэтому вы без труда сможете разобраться с вашей моделью
Как скопировать текст из PDF?
Чтобы скопировать текст со страницы инструкции воспользуйтесь вкладкой "HTML"