Подогреватели Miele ESW 5080-14 - инструкция пользователя по применению, эксплуатации и установке на русском языке. Мы надеемся, она поможет вам решить возникшие у вас вопросы при эксплуатации техники.
Если остались вопросы, задайте их в комментариях после инструкции.
"Загружаем инструкцию", означает, что нужно подождать пока файл загрузится и можно будет его читать онлайн. Некоторые инструкции очень большие и время их появления зависит от вашей скорости интернета.

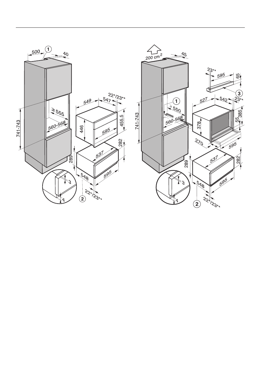
Êîìáè-ïàðîâàðêà XL
* Ïðèáîðû ñî ñòåêëÿííîé ôðîíòàëü-
íîé ïàíåëüþ
** Ïðèáîðû ñ ìåòàëëè÷åñêîé ôðîí-
òàëüíîé ïàíåëüþ
a
Ïðîðåçü äëÿ âåíòèëÿöèè ïðè êîì-
áèíàöèè ñ êîìáè-ïàðîâàðêîé XL
b
Ðàçìåð äëÿ âñòðàèâàíèÿ ñ âèëêîé
Êàáåëü äëÿ ïîäêëþ÷åíèÿ L= 2200
ìì
Ïàðîâàðêà ïîä äàâëåíèåì
a
Âûðåç â äíèùå øêàôà äëÿ
ïðîêëàäûâàíèÿ çàëèâíîãî è ñëèâ-
íîãî øëàíãîâ
b
Ðàçìåð äëÿ âñòðàèâàíèÿ ñ âèëêîé
Êàáåëü äëÿ ïîäêëþ÷åíèÿ L= 2200
ìì
c
Âûðàâíèâàþùàÿ ïàíåëü AB 45-7
(äîïîëíèòåëüíî ïðèîáðåòàåìûå
ïðèíàäëåæíîñòè)
Ðàçìåðû ïðèáîðà è íèøè äëÿ âñòðàèâàíèÿ
39
Характеристики
Остались вопросы?Не нашли свой ответ в руководстве или возникли другие проблемы? Задайте свой вопрос в форме ниже с подробным описанием вашей ситуации, чтобы другие люди и специалисты смогли дать на него ответ. Если вы знаете как решить проблему другого человека, пожалуйста, подскажите ему :)