Плита Reex CTE-32 BBN (бежево-коричневый) - инструкция пользователя по применению, эксплуатации и установке на русском языке. Мы надеемся, она поможет вам решить возникшие у вас вопросы при эксплуатации техники.
Если остались вопросы, задайте их в комментариях после инструкции.
"Загружаем инструкцию", означает, что нужно подождать пока файл загрузится и можно будет его читать онлайн. Некоторые инструкции очень большие и время их появления зависит от вашей скорости интернета.

Надпись «ВЫКЛ» на панели верхней, означает положение «выключено»,
надпись «МИН» соответствует включенному положению и минимальному нагреву
конфорки, надпись «МАКС» соответствует максимальному нагреву.
При вращении ручки от положения «МИН» в положение «МАКС» плавно
увеличивается степень нагрева конфорки.
Внимание! Перед включением плитки в сеть убедитесь, что ручки
переключателей установлены в положение «ВЫКЛ».
Приготовление пищи рекомендуется начинать на максимальной мощности до
закипания. Затем переключите электроконфорку на необходимый Вам режим. За 5-10
мин. до окончания приготовления выключите электроконфорку. Это позволит вам
воспользоваться накопленным теплом электроконфорки и обеспечит экономию
электроэнергии.
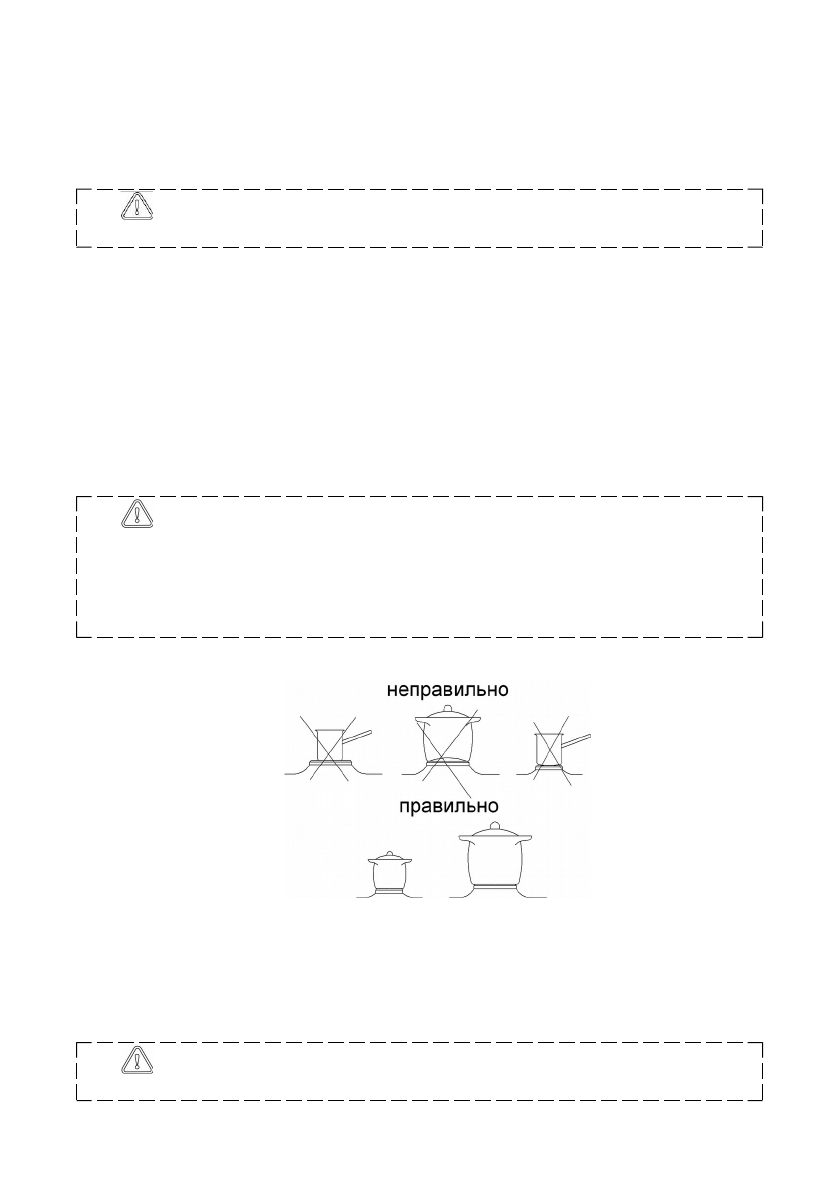
Для снижения расхода электроэнергии, ускорения процесса приготовления пищи,
и увеличения срока службы конфорок необходимо правильно выбрать посуду. Посуда
должна иметь плоское ровное дно диаметром равным, или несколько большим
диаметру электроконфорки (см. рисунок 2).
Во время приготовления накрывайте посуду крышками, следите, чтобы дно
посуды оставалось чистым. Это так же сократит время приготовления и сэкономит
электроэнергию.
ВНИМАНИЕ! КАТЕГОРИЧЕСКИ ЗАПРЕЩАЕТСЯ ОСТАВЛЯТЬ
ЭЛЕКТРОКОНФОРКУ ВКЛЮЧЕННОЙ БЕЗ ПОСУДЫ БОЛЕЕ 6 МИН. ПРИ
ПОЛОЖЕНИИ РУЧКИ УПРАВЛЕНИЯ ВЫШЕ ЧЕМ «МИН»!
Это может оказаться причиной выхода из строя основных элементов
электроплитки и как следствие, представлять опасность при дальнейшей её
эксплуатации.
Во избежание коррозии электроконфорок пользуйтесь посудой с сухим дном.
Берегите конфорки от резкой смены температуры.
Рисунок 2 – Выбор посуды
7 УХОД ЗА ПЛИТКОЙ, ВОЗМОЖНЫЕ НЕИСПРАВНОСТИ
И МЕТОДЫ ИХ УСТРАНЕНИЯ
Внимание! Содержите плитку в чистоте – это продлит срок ее
службы
.
Перед чисткой плитки отключите её от электросети!
8
Содержание
- 2 Уважаемый покупатель!; Благодарим Вас за сделанный выбор. Наша
- 4 Внимание! Без заземления плитку не включать! По окончанию работы
- 5 УСТАНОВКА И ПОДКЛЮЧЕНИЕ
- 6 устройства, имеющие естественное заземление.; ПОДГОТОВКА К РАБОТЕ; ПЛИТКА ГОТОВА К РАБОТЕ.; ОПИСАНИЕ И РАБОТА ПЛИТКИ; таблице 2 соответственно.; Таблица 1; Таблица 2
- 7 ОПИСАНИЕ И РАБОТА СОСТАВНЫХ ЧАСТЕЙ ПЛИТКИ; Рисунок 1-Электроплитка бытовая
- 8 УХОД ЗА ПЛИТКОЙ, ВОЗМОЖНЫЕ НЕИСПРАВНОСТИ
- 10 выходе из строя ремонту не подлежат и требуют замены.
- 12 1 СВИДЕТЕЛЬСТВО О ПРИЕМКЕ И ПРОДАЖЕ; МЕСТО ДЛЯ ЭТИКЕТКИ; Дата продажи
- 13 Израсходованные запасные части