Плита Zanussi ZCG 961011 W (X) - инструкция пользователя по применению, эксплуатации и установке на русском языке. Мы надеемся, она поможет вам решить возникшие у вас вопросы при эксплуатации техники.
Если остались вопросы, задайте их в комментариях после инструкции.
"Загружаем инструкцию", означает, что нужно подождать пока файл загрузится и можно будет его читать онлайн. Некоторые инструкции очень большие и время их появления зависит от вашей скорости интернета.

Налаштування для піци
ї
».
Духовка догляд та чищення
ПОПЕРЕДЖЕННЯ!
.
є
.
Примітки щодо чищення
•
’
.
•
.
•
.
.
•
.
•
.
’
.
•
є
,
.
.
Прилади з алюмінію або іржостійкої
сталі
.
’
.
,
,
.
,
,
.
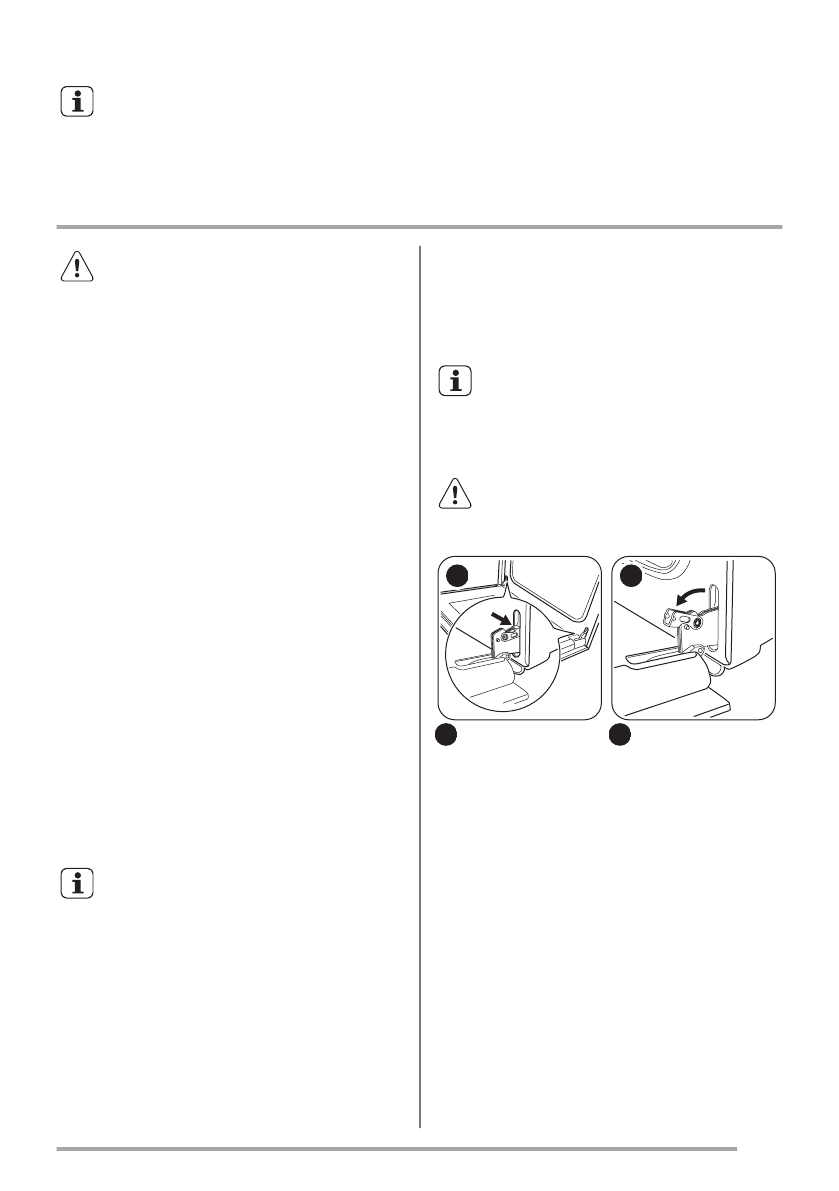
Чищення дверцят духовки
.
,
.
.
ОБЕРЕЖНО!
.
Л
.
Л
М
.
М
www.zanussi.com
43
Содержание
- 3 Общие правила техники безопасности
- 4 Указания по безопасности; Установка
- 6 Уход и очистка
- 8 Описание изделия; Общий обзор; Решетка
- 9 Перед первым использованием; Первая чистка; Варочная панель З ежедневное использование; Розжиг горелки; ЛИ
- 10 Общий вид горелки; ЫГ; Выключение горелки; Варочная панель Указания и рекомендации; Кухонная посуда
- 11 Варочная панель З уход и чистка; Удаляйте немедленноФ
- 12 Периодический уход; Духовой шкаф З ежедневное использование; Режимы духового шкафа; Ручной розжиг газовой горелки
- 14 Выключение горелки гриля; Духовой шкаф принадлежности; Установка дополнительных
- 15 Духовой шкаф Указания и рекомендации; Общая информация
- 16 Таблица для приготовления
- 17 Пицца
- 18 Духовой шкаф З уход и чистка; Примечание относительно очистки
- 19 Замена лампы; Поиск и устранение неисправностей
- 20 Что делатьЖ еслиИИИ
- 21 Место для установки прибора; Минимальные расстояния
- 22 Газовые горелки для ПРИРОДНОГО ГАЗА бМК ЛН мбар
- 23 Газовые горелки для ПРИРОДНОГО ГАЗА бМК МК мбар; Газовые горелки для сжиженного газа бНК НК мбар
- 28 НИ; Выравнивание прибора; ОХРАНА ОКРУЖАЮЩЕЙ СРЕДЫ












