Zanussi ZCG 553 NW (NX) - Инструкция по эксплуатации - Страница 8

Плита Zanussi ZCG 553 NW (NX) - инструкция пользователя по применению, эксплуатации и установке на русском языке. Мы надеемся, она поможет вам решить возникшие у вас вопросы при эксплуатации техники.

Если остались вопросы, задайте их в комментариях после инструкции.

"Загружаем инструкцию", означает, что нужно подождать пока файл загрузится и можно будет его читать онлайн. Некоторые инструкции очень большие и время их появления зависит от вашей скорости интернета.
Страница:
/ 40
Загружаем инструкцию
background image

 

 - 

 

!

 

 "

 

 

".

 

!

 

 

 

 

 

 

 

 

   

 

   

.

 

 

 

 

 

 

.

 

:

1.

 

 

 

 

 

   

 

 

 

 

   . 

 

-

 

 

 

 

-

 

.

2.

 

 

 

   

 10 

Э

 

 

 

 

 

 

 

 

.

3.

 

 

 

 

 

.

 

 

 

 

-

 

 

 

 

 

 

 

.

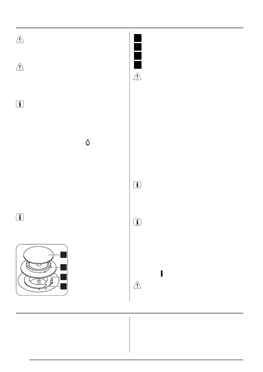
1

2

3

4

1

 

2

 

3

 

4

!

 

 

 

 

 

 15 

.

 

 

 

 

 

15 

 

 

,

 

   

 «

» 

 

 

 

,

 

 

 

 1 

.

!

 

 

 

   

 

 (

 

 

 

 

). 

 

 

 

   

 

 

   

 

 

 

 

 

 

 

 

.

 

 

 

-

 

 

 

-

   

 "

"   

 

 

 

 

 

-

 

 1 

.

Э

 

 

 

-

 

 

 

-

 

 

 

 

 

 

-

 

Э

 - 

-

 

.

 

 

 

 

 

   .

!

 

 

 

 

 

 

 

   

.

 

 - 

 

Э

 

 

 

 

 

-

 

.

 

 

 

 

,

 

 

 

 

 

 

 

-

 

.

8

 

www.zanussi.com

Полезные видео

Характеристики

Оцените статью
tehnopanorama.ru
Остались вопросы?

Не нашли свой ответ в руководстве или возникли другие проблемы? Задайте свой вопрос в форме ниже с подробным описанием вашей ситуации, чтобы другие люди и специалисты смогли дать на него ответ. Если вы знаете как решить проблему другого человека, пожалуйста, подскажите ему :)

Задать вопрос

Часто задаваемые вопросы
Как посмотреть инструкцию к Zanussi ZCG 553 NW (NX)?
Необходимо подождать полной загрузки инструкции в сером окне на данной странице
Руководство на русском языке?
Все наши руководства представлены на русском языке или схематично, поэтому вы без труда сможете разобраться с вашей моделью
Как скопировать текст из PDF?
Чтобы скопировать текст со страницы инструкции воспользуйтесь вкладкой "HTML"