Плита Zanussi ZCG 5161 - инструкция пользователя по применению, эксплуатации и установке на русском языке. Мы надеемся, она поможет вам решить возникшие у вас вопросы при эксплуатации техники.
Если остались вопросы, задайте их в комментариях после инструкции.
"Загружаем инструкцию", означает, что нужно подождать пока файл загрузится и можно будет его читать онлайн. Некоторые инструкции очень большие и время их появления зависит от вашей скорости интернета.

13
Òåõíè÷åñêîå îáñëóæèâàíèå è ÷èñòêà
Ä ó õ î â ê à ä î ë æ í à â ñ å â ð å ì ÿ
ïîääåðæèâàòüñÿ â ÷èñòîòå. Íàëåò æèðà
èëè äðóãèõ ïèùåâûõ ïðîäóêòîâ ìîæåò
ïðèâåñòè ê âîçãîðàíèþ, îñîáåííî íà
ïðîòèâíå.
Ïåðåä î÷èñòêîé óáåäèòåñü, ÷òî âñå
ð ó ÷ ê è ó ï ð à â ë å í è ÿ í à õ î ä ÿ ò ñ ÿ â
â û ê ë þ÷ å í í îì ï îëîæå í è è , à ï ë è ò à
îñòûëà.
Ïåðåä ïðîâåäåíèåì ëþáûõ ðàáîò ïî
ò å õ î á ñ ë ó æ è â à í è þ è ë è î ÷ è ñ ò ê å
í å î á õ î ä è ì î Î Ò Ê Ë Þ × È Ò Ü ï ë è ò ó î ò
ýëåêòðè÷åñêîé ñåòè.
×èñòÿùèå ñðåäñòâà
Ïåðåä ïðèìåíåíèåì ëþáûõ ñðåäñòâ äëÿ ÷èñòêè
äóõîâêè ïðîâåðüòå, ïîäõîäÿò ëè îíè äëÿ ýòîãî è
ðåêîìåíäîâàíû ëè ïðîèçâîäèòåëåì.
ÍÅ ñëåäóåò èñïîëüçîâàòü ÷èñòÿùèå
ñðåäñòâà, ñîäåðæàùèå îòáåëèâàòåëü,
ò.ê. îíè ìîãóò îáåñöâåòèòü îòäåëî÷íûå
ï î ê ð û ò è ÿ . Ñ ë å ä ó å ò ò à ê æ å è ç á å ã à ò ü
ï ð è ì å í å í è ÿ ã ð ó á û õ à á ð à ç è â í û õ
ìàòåðèàëîâ.
Âíåøíÿÿ î÷èñòêà
Ðåãóëÿðíî ïðîòèðàéòå ïàíåëü óïðàâëåíèÿ,
äâåðöó äóõîâêè è óïëîòíèòåëü äâåðöû ìÿãêîé
õîðîøî âûæàòîé òêàíüþ, ïðîïèòàííîé òåïëîé
âîäîé ñ äîáàâëåíèåì ìîþùåãî ñðåäñòâà.
 î è ç á å æ à í è å ï î â ð å æ ä å í è ÿ è ë è
îñëàáëåíèÿ ñòåêëà äâåðöû èçáåãàéòå
èñïîëüçîâàíèÿ ñëåäóþùåãî:
•
Õîçÿéñòâåííûõ ìîþùèõ ñðåäñòâ è
îòáåëèâàòåëåé
• Ïðîïèòàííûõ ãóáîê, íå ïîäõîäÿùèõ
äëÿ àíòèïðèãàðíîé ïîñóäû
• Ãóáîê Brillo/Ajax èëè ãóáîê èç òîíêîé
ñòàëüíîé ïðîâîëîêè
• Õèìè÷åñêèõ ãóáîê èëè àýðîçîëåé
äëÿ äóõîâêè
• Âåùåñòâ, óäàëÿþùèõ ðæàâ÷èíó
• Ì î þ ù è õ ñ ð å ä ñ ò â ä ë ÿ â à í í û /
ðàêîâèíû
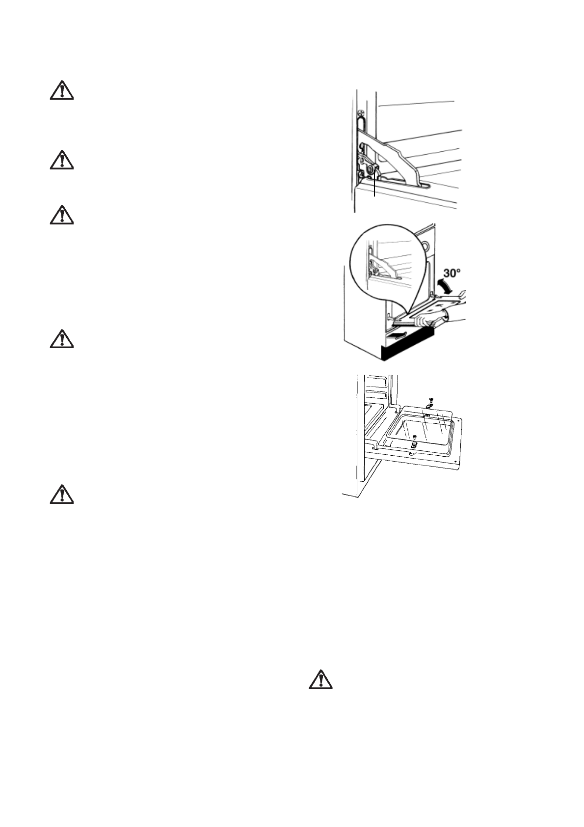
Äâåðöà äóõîâêè
Äâåðöó ìîæíî äåìîíòèðîâàòü äëÿ î÷èñòêè
ñëåäóþùèì îáðàçîì:
•
Ïîëíîñòüþ îòêðîéòå äâåðöó.
•
Ï î â å ð í è ò å ä â à ô è ê ñ à ò î ð à í à ï å ò ë ÿ õ
ïîëíîñòüþ ââåðõ.
ôèêñàòîðû
Âíóòðåííåå ñòåêëî äâåðöû äóõîâêè ìîæíî
ñíÿòü äëÿ ìûòüÿ. Äëÿ ýòîãî îòâåðíèòå äâà
ê ð å ï å æ í û õ â è í ò à . Ì î é ò å â í å ø í å å è
â í ó ò ð å í í å å ä â å ð í û å ñ ò å ê ë à â ò å ï ë î é
ìûëüíîé âîäå.
Âñåãäà ïðèäåðæèâàéòå äâåðöó ïðè ñíÿòèè
ñòåêëà, ïîñêîëüêó îíà ìîæåò îòïðóæèíèòü è
çàêðûòüñÿ âñëåäñòâèå óìåíüøåíèÿ ñâîåãî
âåñà.
ÍÅ ÷èñòèòå äâåðöó äóõîâêè, åñëè
ñòåêëî òåïëîå. Ïðè íåñîáëþäåíèè
äàííîé ìåðû ïðåäîñòîðîæíîñòè
ñòåêëî ìîæåò òðåñíóòü.
Åñëè ñòåêëî äâåðöû èìååò îòáèòûå
êóñî÷êè èëè ãëóáîêèå öàðàïèíû, îíî
ñòàíîâèòñÿ îñëàáëåííûì è äîëæíî
á û ò ü ç à ì å í å í î â î è ç á å æ à í è å
âîçìîæíîãî ðàçðóøåíèÿ.
•
×àñòè÷íî çàêðîéòå äâåðöó íà óãîë 30°.
•
Ïðèïîäíèìèòå äâåðöó è âûòàùèòå åå.












