Плита Лысьва ЭГ 401 МС-2у - инструкция пользователя по применению, эксплуатации и установке на русском языке. Мы надеемся, она поможет вам решить возникшие у вас вопросы при эксплуатации техники.
Если остались вопросы, задайте их в комментариях после инструкции.
"Загружаем инструкцию", означает, что нужно подождать пока файл загрузится и можно будет его читать онлайн. Некоторые инструкции очень большие и время их появления зависит от вашей скорости интернета.

-
Проявляйте
осторожность
при
приготовлении
блюд
с
большим
количеством
жира
или
масла
.
Перегретые
жиры
могут
воспламениться
.
Не
допускается
тушить
воспламенившееся
масло
водой
,
плотно
закройте
посуду
крышкой
.
-
Убедитесь
,
что
электропитание
плиты
выключено
,
прежде
чем
проводить
замену
лампы
освещения
жарочного
шкафа
,
чтобы
избежать
опасности
поражения
электрическим
током
.
-
Не
допускайте
попадания
влаги
внутрь
плиты
,
а
так
же
заливания
газовых
горелок
.
-
Не
эксплуатируйте
электроконфорку
при
появлении
трещин
на
её
поверхности
.
Внимание
!
Производитель
не
несет
ответственности
за
поломки
,
вызванные
неправильной
эксплуатацией
плиты
!
3
УСТАНОВКА
И
ПОДКЛЮЧЕНИЕ
Внимание
!
Инструкции
по
установке
и
подключению
плиты
,
а
так
же
по
переводу
её
на
другой
тип
газа
даны
только
для
специалистов
соответствующих
организаций
!
Установка
плиты
,
её
подключение
,
опробование
в
работе
и
техническое
обслуживание
в
процессе
эксплуатации
должны
производиться
с
соблюдений
действующих
стандартов
и
правил
!
Перед
подключением
проверить
,
соответствуют
ли
условия
подключения
(
вид
газа
и
давление
газа
)
настройке
прибора
.
Параметры
настройки
прибора
приведены
в
маркировке
.
1)
Снимите
плиту
с
деревянного
поддона
.
Для
этого
открутите
в
нем
2
винта
,
находящиеся
снизу
(
если
плита
укомплектована
крышкой
стола
,
предварительно
уберите
её
).
При
перемещении
плиты
запрещается
поднимать
ее
за
ручку
жарочного
шкафа
.
Перемещение
плиты
производится
при
открытой
дверке
за
верх
жарочного
шкафа
.
2)
Проверьте
соответствие
значений
электрических
параметров
плиты
и
электрической
сети
,
а
также
наличие
заземления
.
3)
На
плите
предусмотрен
подвод
газа
,
что
позволяет
присоединять
её
к
магистральному
газопроводу
с
помощью
гибкого
шланга
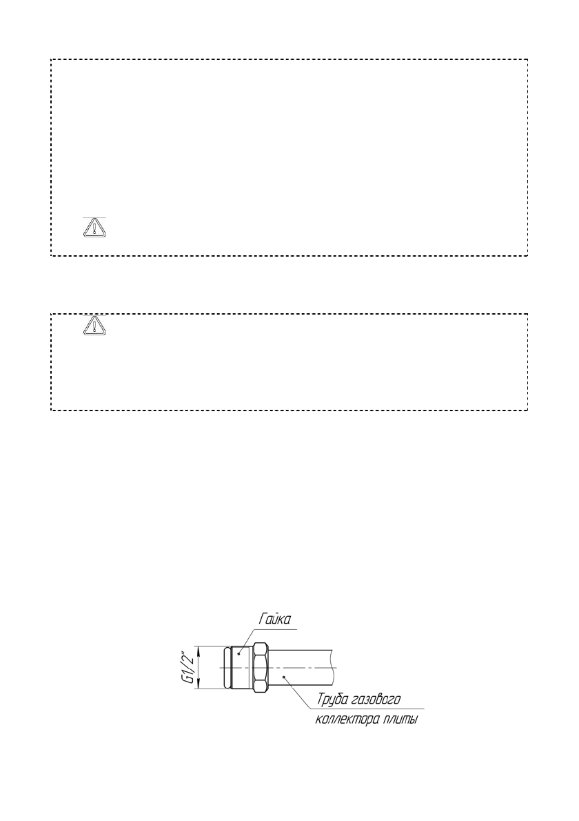
.
На
выходе
газового
коллектора
плиты
расположена
гайка
с
наружной
цилиндрической
резьбой
G1/2",
предназначенная
для
подключения
плиты
к
сетевому
газопроводу
(
см
.
Рис
. 1).
Рис
. 1.
Конструкция
газового
коллектора
6
Характеристики
Остались вопросы?Не нашли свой ответ в руководстве или возникли другие проблемы? Задайте свой вопрос в форме ниже с подробным описанием вашей ситуации, чтобы другие люди и специалисты смогли дать на него ответ. Если вы знаете как решить проблему другого человека, пожалуйста, подскажите ему :)





