Плита Hansa FCIW 53800 - инструкция пользователя по применению, эксплуатации и установке на русском языке. Мы надеемся, она поможет вам решить возникшие у вас вопросы при эксплуатации техники.
Если остались вопросы, задайте их в комментариях после инструкции.
"Загружаем инструкцию", означает, что нужно подождать пока файл загрузится и можно будет его читать онлайн. Некоторые инструкции очень большие и время их появления зависит от вашей скорости интернета.

12
Подключение плиты к электропроводке
Внимание !
Подключение к проводке может выполнять квалифицированный специалист по монтажу с соот
-
ветствующим допуском. Запрещается самовольно производить перенастройку или изменения в
электропроводке.
Указания для специалиста по монтажу.
Плита рассчитана на питание переменным трехфазным током (400В 3N ~50Гц). Номинальное на
-
пряжение нагревательных элементов составляет 230 В. Переключение плиты для питания одно
-
фазным током (230 В) осуществляется установкой мостка на панели подключения в соответствии
с прилагающейся схемой соединений.
Схема соединений находится рядом с распределительным щитком плиты. Доступ к щитку возмо
-
жен после снятия кожуха, отвинтив крепления отверткой. Нужно помнить о правильном выборе
соединительного кабеля, учитывать тип подсоединения и номинальную мощность плиты. Соеди
-
нительный кабель следует закрепить в оттяжке.
Внимание!
Следует помнить о подключении нулевой цепи к зажиму на распределительном щитке, обозна
-
ченного символом («заземление»). Электропроводка, питающая плиту, должна иметь выклю
-
чатель защиты, позволяющий прервать подачу тока при возникновении аварийной ситуации. Рас
-
стояние между рабочими контактами выключателя защиты должно составлять минимум 3 мм.
Способ подключения, отличающийся от показанного на схеме, может привести к поломке пли
-
ты.
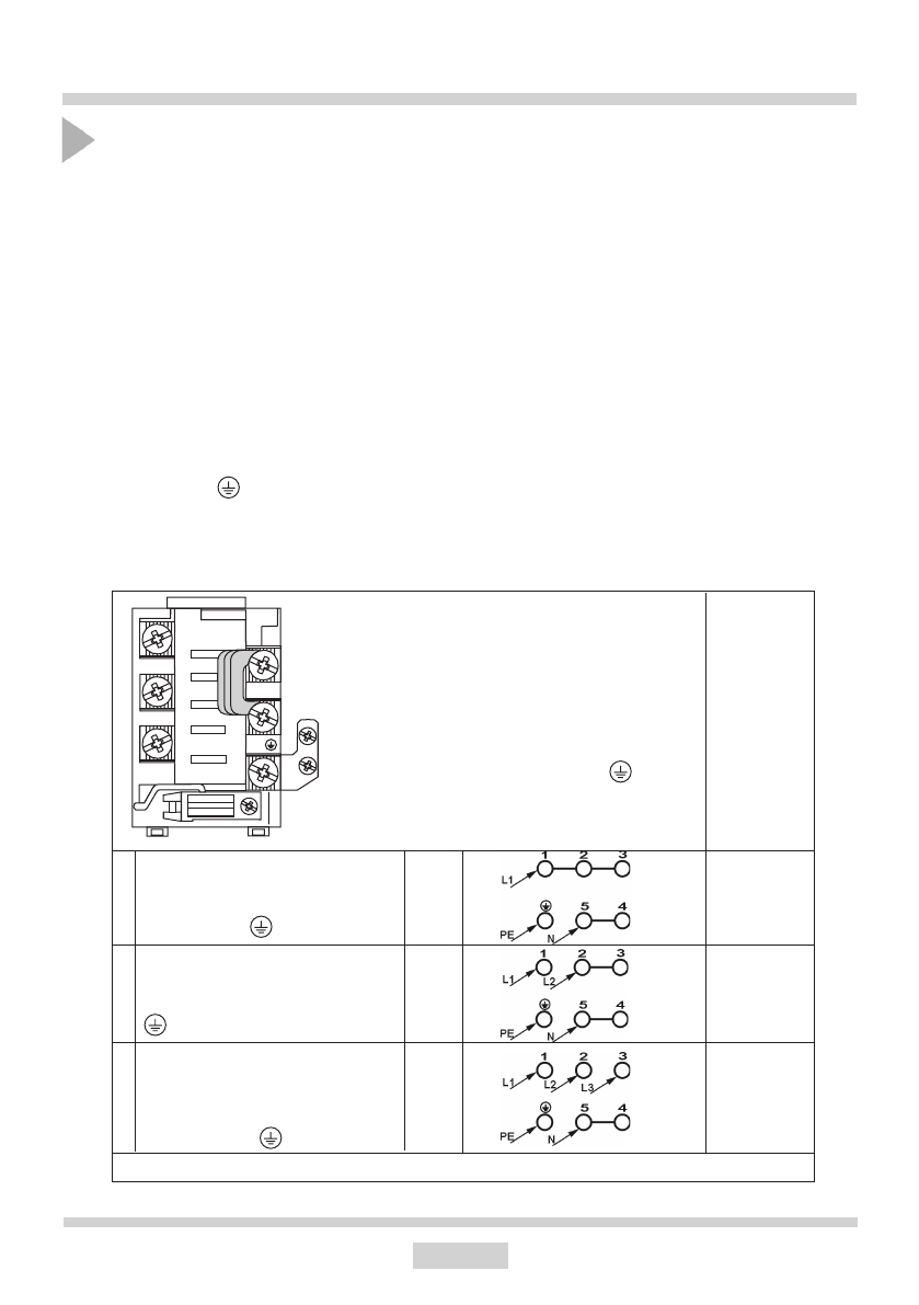
МОНТАЖ
СХЕМА ВОЗМОЖНЫХ
ПОДКЛЮЧЕНИЙ
Внимание! Напряжение
нагревательных элементов 230 В)
1
2
3
Сеть 400/230 V двухфазное
подключение с нейтралью, мост
- конаткты 2-3 и 4-5, защита на
(«заземление»)
Сеть 400/230 V трехфазное с
нейтралью, мост - контакты 4-5,
провода фазы 1, 2 и 3, нейтраль
4-5, провод защиты на
(«заземление»)
1N~
Провода фазы - L1 =R, L2=S, L3=T; N - нейтраль; PE – защитный ноль
Внимание! В любом соединении
защитный провод должен
быть соединен с контактом
(«заземление») PE
Рек
оменду
емый тип
сое
динит
ельног
о
каб
еля
2N~
3N~
В сети 230 V однофазное
подключение с нулевым проводом,
мост связывает контакты 1 -2-3 и
4-5,защита на («заземление»).
H05VV-F3G4
H05VV-F4G2,5
H05VV-F5G1,5
1
2
3
3
4
5
Характеристики
Остались вопросы?Не нашли свой ответ в руководстве или возникли другие проблемы? Задайте свой вопрос в форме ниже с подробным описанием вашей ситуации, чтобы другие люди и специалисты смогли дать на него ответ. Если вы знаете как решить проблему другого человека, пожалуйста, подскажите ему :)