Плита Gorenje K5341WF - инструкция пользователя по применению, эксплуатации и установке на русском языке. Мы надеемся, она поможет вам решить возникшие у вас вопросы при эксплуатации техники.
Если остались вопросы, задайте их в комментариях после инструкции.
"Загружаем инструкцию", означает, что нужно подождать пока файл загрузится и можно будет его читать онлайн. Некоторые инструкции очень большие и время их появления зависит от вашей скорости интернета.

RU 12
Через 10 секунд программатор автоматически
сохранит заданные настройки. Настройки также
можно подтвердить нажатием на сенсор часов
Прибор начнет работу до установленного
времени конца приготовления
с учетом
продолжительности
приготовления
При
достижении
заданного
времени
конца
приготовления
духовка выключится.
Пример:
Вы установили продолжительность
приготовления 30 минут и конец приготовления в
12:00. Духовка начнет приготовление в 11:30, на
дисплее будет выводиться оставшееся время
приготовления. В 12:00 духовка выключится.
По истечении установленного времени раздастся
звуковой сигнал, и нагрев автоматически
выключится. Выключите духовку, установив
переключатель режимов в нулевое положение.
Звуковой сигнал выключите нажатием на любой
сенсор программатора.
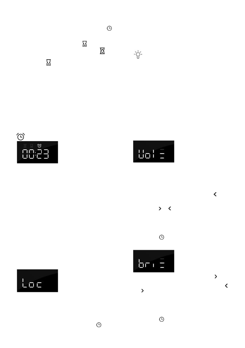
Таймер оповещения
Таймер
оповещения
можно
использовать
независимо от работы прибора. Максимальное
время таймера составляет 23 часа 59 минут.
В течение последней минуты дисплей показывает
отсчет секунд.
По истечении установленного времени раздастся
звуковой сигнал. Звуковой сигнал выключите
нажатием на любой сенсор программатора.
Программатор переключится в режим ожидания,
на дисплее высветится текущее время.
Чтобы отменить любую функцию программатора,
обнулите время функции (ʺ0ʺ).
Если прибор не используется несколько минут, он
переключится в режим ожидания. На дисплее
будет высвечиваться текущее время и выбранная
функция программатора.
ДОПОЛНИТЕЛЬНЫЕ ФУНКЦИИ
Защитная блокировка
Функция
защитной
блокировки
позволяет
предотвратить изменение параметров работы
духовки,
а
также
изменение
настроек
программатора.
Для
включения
блокировки
нажмите
и
удерживайте 5 секунд сенсор часов
.
На
дисплее в течение 5 секунд будет гореть надпись
‘‘Locʺ. Означающая, что изменение параметров
функций невозможно.
Для выключения блокировки снова нажмите и
удерживайте несколько секунд сенсор защитной
блокировки.
Если включена защитная блокировка, и не
установлена ни одна из функций программатора
(на дисплее высвечивается только текущее
время), духовка не будет работать. Если
блокировку включить после установки одной из
функций программатора, духовка будет работать,
но поменять параметры ее работы будет
невозможно.
При
включенной
защитной
блокировке
невозможно поменять параметры работы духовки
и другие функции. Вы можете только выключить
духовку, повернув переключатель режимов
работы в положение 0. После выключения
духовки блокировка остается активной. Для
включения
новой
программы
выключите
защитную блокировку.
Звуковой сигнал
Чтобы отрегулировать громкость сигнала, должны
быть выключены функции, программирующие
время работы духовки. Прибор в режиме
ожидания, на дисплее высвечивается текущее
время.
Нажмите и удерживайте 5 секунд сенсор ʺ ʺ.
На дисплее высветится надпись ʺVolʺ и несколько
полностью подсвеченных полосок.
Сенсорами ʺ ʺ и ʺ ʺ выберите громкость сигнала
от 1 до 3 (одна, две или три полоски).
Через 5 секунд программатор автоматически
сохранит заданные настройки, и на дисплее
высветится текущее время.
Настройки также можно подтвердить нажатием на
сенсор часов
.
Яркость дисплея
Нажмите и удерживайте 5 секунд сенсор “ ”.
На дисплее высветится надпись ʺBriʺ и несколько
полностью подсвеченных полосок. Сенсорами ʺ
ʺ и ʺ ʺ выберите яркость дисплея от 1 до 3 (одна,
две или три полоски).
Через 5 секунд программатор автоматически
сохранит заданные настройки, и на дисплее
высветится текущее время.
Настройки также можно подтвердить нажатием на
сенсор часов
.