Плита Gorenje E132W - инструкция пользователя по применению, эксплуатации и установке на русском языке. Мы надеемся, она поможет вам решить возникшие у вас вопросы при эксплуатации техники.
Если остались вопросы, задайте их в комментариях после инструкции.
"Загружаем инструкцию", означает, что нужно подождать пока файл загрузится и можно будет его читать онлайн. Некоторые инструкции очень большие и время их появления зависит от вашей скорости интернета.

Руководство по эксплуатации,установке и подключению
8
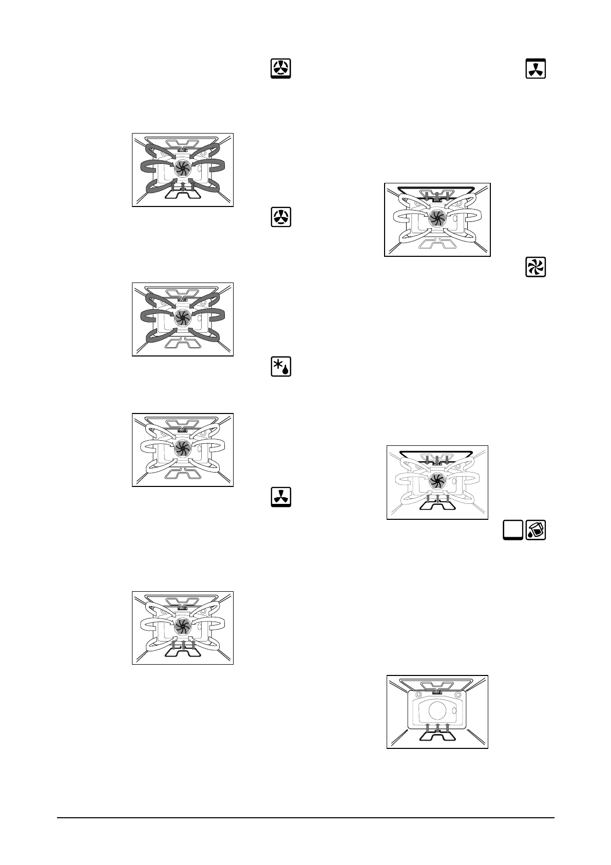
Вентиляционный нагрев + нижний нагреватель
В таком режиме одновре-менно работает нижний
нагреватель и нагреватель вентилятора. Лучше всего этот
режим подходит для приготовления пиццы, а также сочного
печенья на 2 уровнях, фруктовых пирожных из дрожжевого
или рассыпчатого теста.
Вентиляционный нагрев
Вентилятор на задней стенке духовки создает постоянную
циркуляцию горячего воздуха вокруг готовящихся блюд.
Этот режим
соответствует для запекания мяса и мучных изделий на
нескольких уровнях.
Размораживание
В этом режиме воздух циркулирует без включенных
нагревателей. Используется для постепенного
размораживания продуктов.
Нижний нагреватель + вентилятор
В этом режиме одно-временно работают нижний
нагреватель и вентилятор. Используется в основ-ном для
приготовления
выпечки из низко поднимающегося дрожжевого теста и
консервирования овощей и фруктов.Противень установите
в нижние направляющие. Не используйте очень высокие
формы, поскольку нагретый воздух должен циркулировать
также сверху блюда.
Нагрев с помощью верхнего нагревателя и
вентилятора
В этом режиме работает верхний нагреватель и
вентилятор. Подходит для запека-ния мяса и мучных
изделий, кроме выпечки с фруктовой начинкой.
Ориентировочные данные для предвари-тельного
нагревания, выбора уровня, температуры и времени
приготовления - в таблице приготовления с помощью
верхнего и нижнего нагревателей. Красная сигнальная
лампочка погаснет при разогреве духовки до требуемой
температуры.
Нагрев сверху и снизу + работа вентилятора
Работает верхний нагреватель, нижний нагреватель и
вентилятор. Вентилятор обеспечивает равномерную
циркуляцию горячего воздуха в духовом шкафу. Данная
система рекомендуется для приготовления всех видов
выпечки, оттаивания замороженных продуктов, а также для
сушки фруктов и овощей. Когда Вы ставите противень с
блюдом в нагретую духовку - подождите, пока не погаснет
лампочка. Самые лучшие результаты приготовления
достигаются при выпекании на одном уровне. Несколько
менее хорошие результаты достигаются при выпекании на
двух уровнях. Духовку нужно обязательно предварительно
нагреть. Используйте для установки противней 2-й и 4-й
уровни направляющих (если считать снизу).
Температура приготовления будет ниже, чем при
классическом режиме нагрева. Помимо прилагаемых к
аппарату противней можно использовать имеющиеся у Вас
противни или формы для выпечки.
Нижний нагреватель/ Aqua clean
Работает только нагреватель, расположенный внизу
духовки. Этот режим выбирайте в том случае, если Вам
необходимо запечь блюдо снизу (например, выпечка
сочного мучного изделия с фруктовой начинкой).
Но кнопку для регулировки температуры надо установить
на желаемую температуру. Нижний нагреватель - Aqua
clean может использоваться также при очистке духовки.
Подробности в связи с очисткой можете прочитать в главе
"Уход и обслуживание".
(Не относится к аппаратам с типом управления K11, см.
раздел «Духовка/Управление». Данный режим
используется для непродолжительной работы.)












