Плита Gorenje BO758A33XG - инструкция пользователя по применению, эксплуатации и установке на русском языке. Мы надеемся, она поможет вам решить возникшие у вас вопросы при эксплуатации техники.
Если остались вопросы, задайте их в комментариях после инструкции.
"Загружаем инструкцию", означает, что нужно подождать пока файл загрузится и можно будет его читать онлайн. Некоторые инструкции очень большие и время их появления зависит от вашей скорости интернета.

12
470671
ТЕХНИЧЕСКИЕ ДАННЫЕ
(В ЗАВИСИМОСТИ ОТ МОДЕЛИ)
Класс энергоэффективности: А
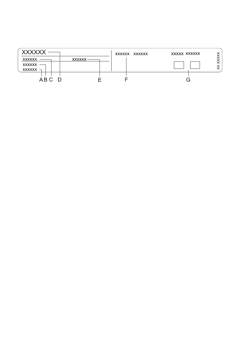
Заводская табличка с основными данными
прибора находится на рамке духовой камеры и
видна при открытой дверце.
A
Серийный
номер
B
Артикул
C
Тип
D
Торговая
марка
E
Модель
F
Технические
данные
G
Знаки
соответствия












