Плита Gorenje B8980E - инструкция пользователя по применению, эксплуатации и установке на русском языке. Мы надеемся, она поможет вам решить возникшие у вас вопросы при эксплуатации техники.
Если остались вопросы, задайте их в комментариях после инструкции.
"Загружаем инструкцию", означает, что нужно подождать пока файл загрузится и можно будет его читать онлайн. Некоторые инструкции очень большие и время их появления зависит от вашей скорости интернета.

Руководство по эксплуатации, установке и подключению
20
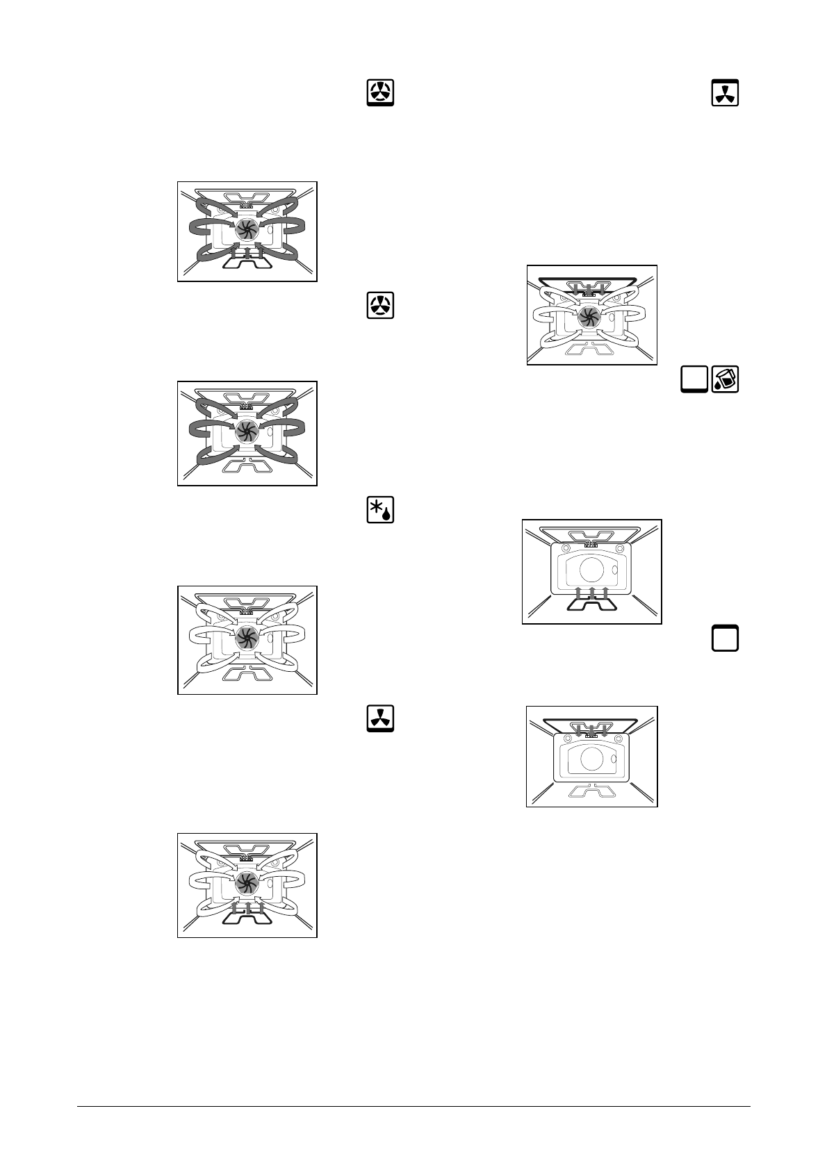
Вентиляционный нагрев + нижний нагреватель
В таком режиме одновременно работает нижний
нагреватель и нагреватель вентилятора. Лучше всего этот
режим подходит для приготовления пиццы, а также сочного
печенья на 2 уровнях, фруктовых пирожных из дрожжевого
или песочного теста.
Вентиляционный нагрев
Вентилятор на задней стенке духовки создает постоянную
циркуляцию горячего воздуха вокруг готовящихся блюд.
Этот режим соответствует для запекания мяса и мучных
изделий на нескольких уровнях.
Размораживание
В этом режиме воздух циркулирует без включения
нагревателей.
Данный режим используется для постепенного
размораживания продуктов.
Нижний нагреватель+вентилятор
В этом режиме одновременно работают нижний
нагреватель и вентилятор. Используется в основном для
приготовления выпечки из низко поднимающегося
дрожжевого теста и консервирования овощей и фруктов.
Противень установите в нижние направляющие, и не
используйте очень высокие формы, поскольку нагретый
воздух должен циркулировать также сверху пищи.
Нагрев с помощью
верхнего нагревателя и вентилятора
В этом режиме работает верхний нагреватель и
вентилятор.
Подходит для запекания мяса и мучных изделий, кроме
выпечки с фруктовой начинкой. Ориентировочные данные
для предварительного нагревания, выбора уровня,
температуры и времени приготовления - в таблице
приготовления с помощью верхнего и нижнего
нагревателей.
Красная сигнальная лампочка погаснет при разогреве
духовки до требуемой температуры.
Нижний нагреватель/Aqua clean
Работает только нагреватель, расположенный внизу
духовки. Этот режим выбирайте в том случае, если Вам
необходимо запечь блюдо снизу (например, выпечка
сочного мучного изделия с фруктовой начинкой). Но кнопку
для регулировки температуры надо установить на
желаемую температуру.
Нижний нагреватель - Aqua clean может использоваться
также при очистке духовки. Рекомендации по очистке
можно прочитать в главе "Уход и обслуживание".
Верхний нагреватель
Работает только нагреватель сверху.
Этот режим используйте в том случае, когда Вы хотите
запечь блюдо сверху (напр. для дополнительного
поджаривания).












