Плита Electrolux RKK660201X - инструкция пользователя по применению, эксплуатации и установке на русском языке. Мы надеемся, она поможет вам решить возникшие у вас вопросы при эксплуатации техники.
Если остались вопросы, задайте их в комментариях после инструкции.
"Загружаем инструкцию", означает, что нужно подождать пока файл загрузится и можно будет его читать онлайн. Некоторые инструкции очень большие и время их появления зависит от вашей скорости интернета.

верхнего края и на 110–115 мм от
левого края прибора. Для
установки воспользуйтесь круглым
отверстием в кронштейне.
Привинтите его к твердому
надежному материалу или
прикрепите с помощью
соответствующей арматуры
(стены).
110-115
mm
232- 237
mm
2. На задней стороне прибора
находится отверстие с левой
стороны. Поднимите переднюю
часть прибора и поместите его в
центр пространства между
шкафами. Если расстояние между
кухонными шкафами больше, чем
ширина прибора, следует
установить ее так, чтобы зазоры с
обеих сторон были одинаковыми.
При изменении размеров
кухонной плиты
необходимо правильно
совместить защиту от
опрокидывания.
ПРЕДУПРЕЖДЕНИЕ
Если расстояние между
кухонными шкафами
больше, чем ширина
прибора, следует
установить ее так, чтобы
зазоры с обеих сторон
были одинаковыми.
3.16 Подключение к
электросети
ВНИМАНИЕ!
Производитель не несет
ответственности в случае
несоблюдения мер
предосторожности,
приведенных в главах,
содержащих сведения по
технике безопасности.
Данный прибор поставляется с
сетевым шнуром и вилкой.
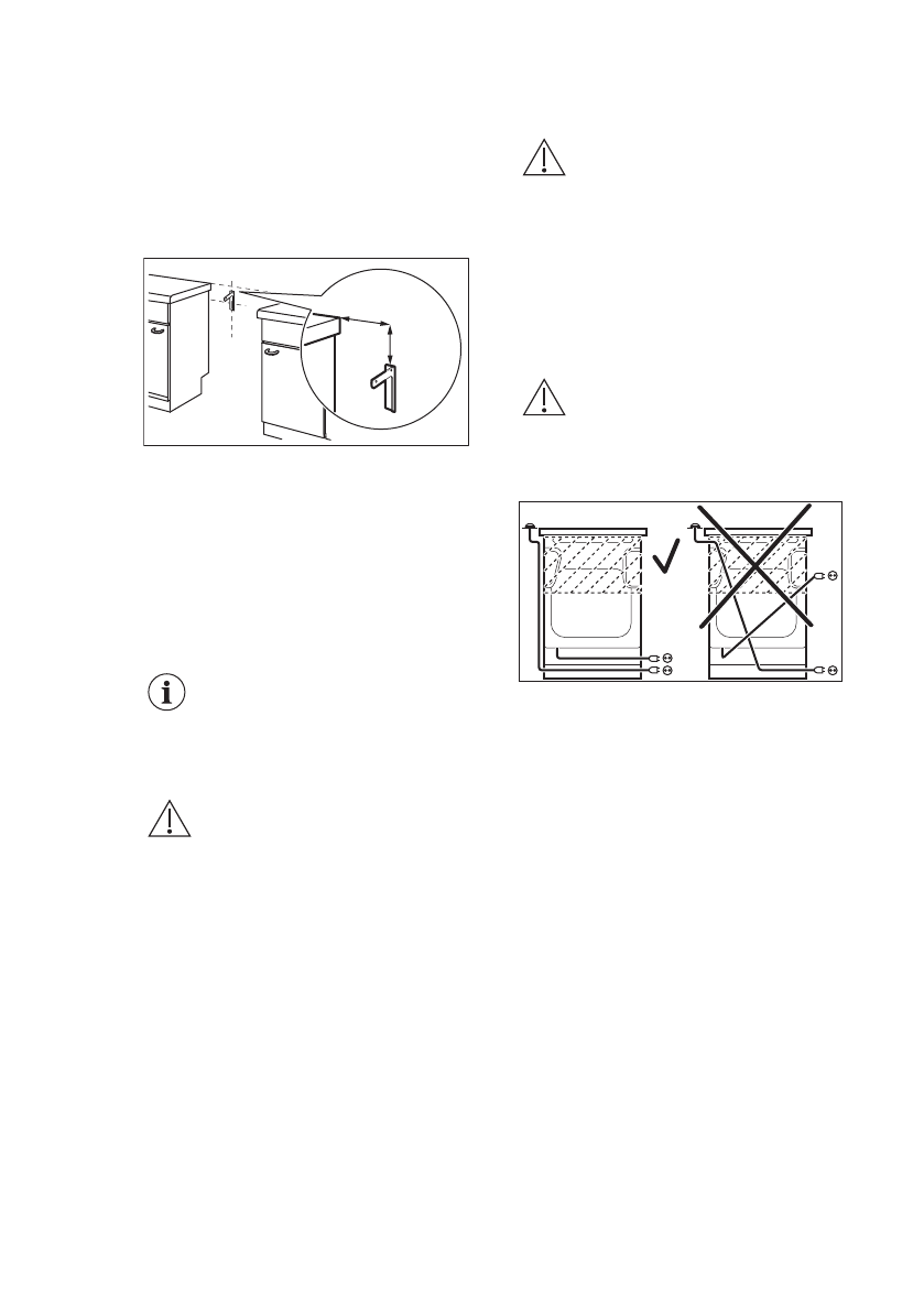
ВНИМАНИЕ!
Сетевой кабель не должен
касаться частей прибора,
заштрихованных на
рисунке.
РУССКИЙ
15
Характеристики
Остались вопросы?Не нашли свой ответ в руководстве или возникли другие проблемы? Задайте свой вопрос в форме ниже с подробным описанием вашей ситуации, чтобы другие люди и специалисты смогли дать на него ответ. Если вы знаете как решить проблему другого человека, пожалуйста, подскажите ему :)