Плита Electrolux EKK96450CW - инструкция пользователя по применению, эксплуатации и установке на русском языке. Мы надеемся, она поможет вам решить возникшие у вас вопросы при эксплуатации техники.
Если остались вопросы, задайте их в комментариях после инструкции.
"Загружаем инструкцию", означает, что нужно подождать пока файл загрузится и можно будет его читать онлайн. Некоторые инструкции очень большие и время их появления зависит от вашей скорости интернета.

12.2 Модели из нержавеющей
стали или алюминия
Очистку дверцы духового
шкафа можно производить
только влажной тряпкой
или губкой. Протрите ее
насухо мягкой тряпкой.
Никогда не используйте
абразивные средства,
металлические губки или
средства, содержащие
кислоты, т.к. они могут
повредить поверхность
духового шкафа.
Выполняйте чистку панели
управления духового
шкафа с соблюдением
аналогичных
предосторожностей.
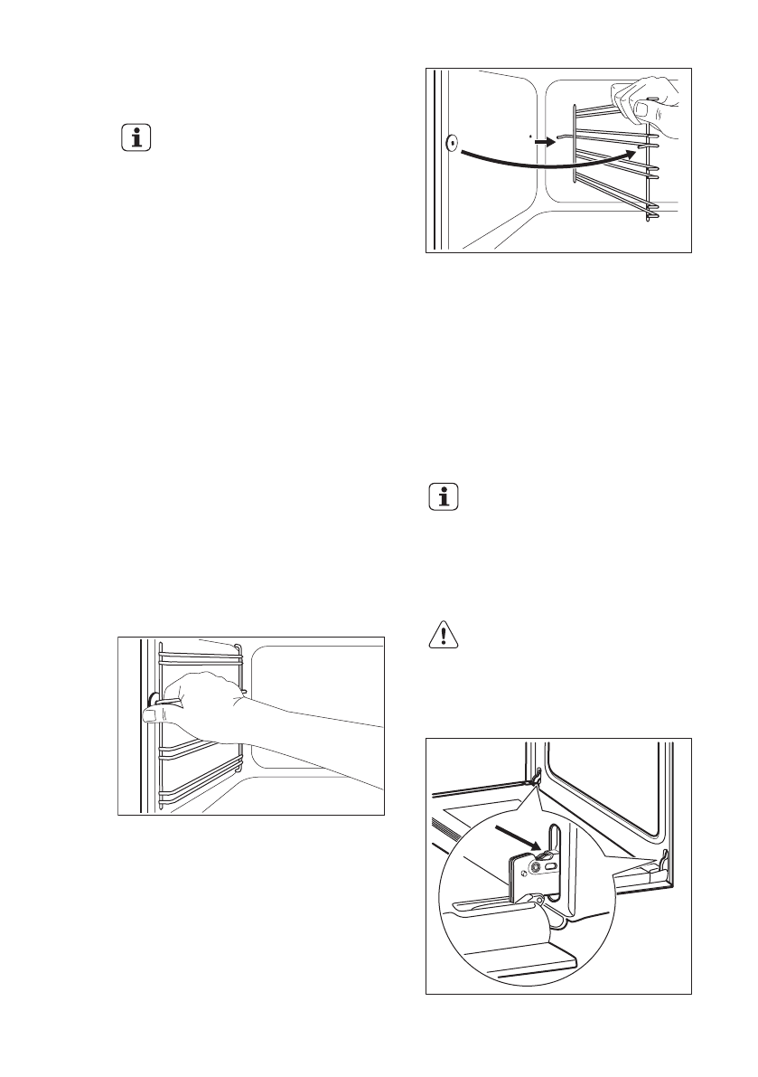
12.3 Снятие направляющих
для противней, а также
снятие
Для очистки камеры духового шкафа
извлеките направляющие для
противней, а также извлеките .
1. Потяните переднюю часть
направляющей для противня в
сторону, противоположную
боковой стенке.
2. Вытяните заднюю часть
направляющей для противня из
боковой стенки и снимите ее.
2
1
Установка направляющих для
противня производится в обратном
порядке.
12.4 Очистка дверцы
духового шкафа
В дверце духового шкафа имеются
две стеклянные панели. И дверца
духового шкафа, и внутренняя
стеклянная панель снимаются для
чистки.
Дверца духового шкафа
может захлопнуться при
попытке извлечь
внутреннюю стеклянную
панель, если
предварительно не снять
дверцу.
ОСТОРОЖНО!
Не используйте прибор без
внутренней стеклянной
панели.
1. Откройте дверцу до конца и
возьмитесь за обе петли.
РУССКИЙ
31













