Плита Electrolux EKK 954904 W (X) - инструкция пользователя по применению, эксплуатации и установке на русском языке. Мы надеемся, она поможет вам решить возникшие у вас вопросы при эксплуатации техники.
Если остались вопросы, задайте их в комментариях после инструкции.
"Загружаем инструкцию", означает, что нужно подождать пока файл загрузится и можно будет его читать онлайн. Некоторые инструкции очень большие и время их появления зависит от вашей скорости интернета.

80-85
mm
317-322
mm
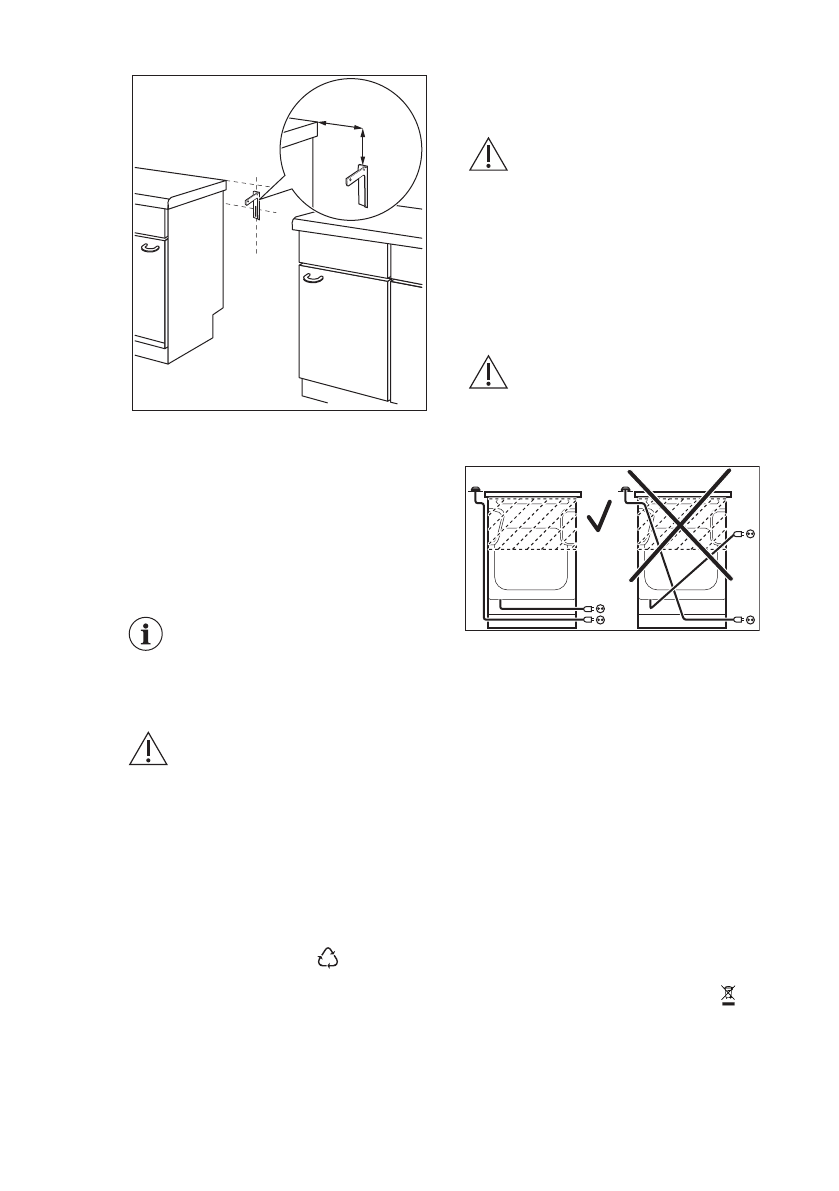
2. Отверстие для крепления
находится слева на задней
стороне прибора. Поднимите
переднюю часть прибора и
поместите его между кухонными
шкафами. Если расстояние между
кухонными шкафами больше, чем
ширина прибора, следует
установить его так, чтобы зазоры с
обеих сторон были одинаковыми.
При изменении положения
кухонной плиты
необходимо надлежащим
образом отрегулировать
защиту от опрокидывания.
ПРЕДУПРЕЖДЕНИЕ
Если расстояние между
кухонными шкафами
больше, чем ширина
прибора, следует
установить его так, чтобы
зазоры с обеих сторон
были одинаковыми.
14.16 Электрическое
подключение
ВНИМАНИЕ!
Производитель не несет
ответственности, при
несоблюдении мер
предосторожности,
приведенных в Главах,
содержащих Сведения по
технике безопасности.
Данный прибор поставляется с
сетевым шнуром и вилкой.
ВНИМАНИЕ!
Сетевой кабель не должен
касаться частей прибора,
заштрихованных на
рисунке.
15. ОХРАНА ОКРУЖАЮЩЕЙ СРЕДЫ
Материалы с символом следует
сдавать на переработку. Положите
упаковку в соответствующие
контейнеры для сбора вторичного
сырья. Принимая участие в
переработке старого электробытового
оборудования, Вы помогаете
защитить окружающую среду и
здоровье человека. Не выбрасывайте
вместе с бытовыми отходами бытовую
технику, помеченную символом .
Доставьте изделие на местное
предприятие по переработке
вторичного сырья или обратитесь в
свое муниципальное управление.
www.electrolux.com
42












