Electrolux EKK 6450 AOW - Инструкция по эксплуатации - Страница 67

Плита Electrolux EKK 6450 AOW - инструкция пользователя по применению, эксплуатации и установке на русском языке. Мы надеемся, она поможет вам решить возникшие у вас вопросы при эксплуатации техники.

Если остались вопросы, задайте их в комментариях после инструкции.

"Загружаем инструкцию", означает, что нужно подождать пока файл загрузится и можно будет его читать онлайн. Некоторые инструкции очень большие и время их появления зависит от вашей скорости интернета.
Страница:
/ 68
Загружаем инструкцию
background image

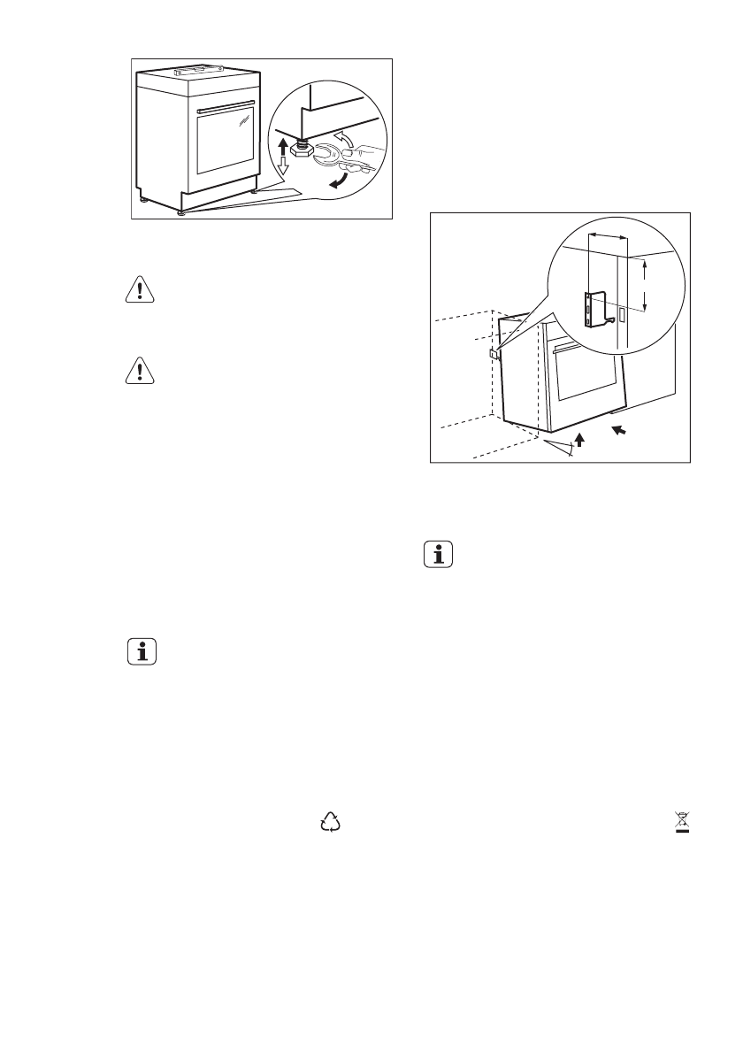
14.8 

   

!

 

 

    ‐

 

   

,

 

 

.

 

 

  ‐

 

 

 

 

.

1.

 

 

   

 

 

 

,   

 

 

.

2.

   

 

 

   

 77     

  ‐

 

   49   

   

   

 

   

 (

). 

 

   

 

 

 

 

(

).

3.

 

 

   

  ‐

 

.

 

є

   

 

.

 

 

 

   

 

.

 

 

 

 (1) 

 

 

   

    ‐

 (2). 

 

   

 

 

   

 

 

 

 

 

 

.

   

,   

  ‐

 

 

.

1

2

49 mm

77 mm

14.9 

 

   

 

 

 

 

 

 

   

ї

   

 

».

 

 

 

 

.

15. 

 

   

 

 

,

 

 

   .

 

   

 

 

 

.

 

 

є

   

’  

 

 

 

 

 

 

 

.   

 

 

   ,

   

 

 

   

   

 

 

 

 

 

   

 

 

.

Ук аїн ька

67

Полезные видео

Характеристики

Оцените статью
tehnopanorama.ru
Остались вопросы?

Не нашли свой ответ в руководстве или возникли другие проблемы? Задайте свой вопрос в форме ниже с подробным описанием вашей ситуации, чтобы другие люди и специалисты смогли дать на него ответ. Если вы знаете как решить проблему другого человека, пожалуйста, подскажите ему :)

Задать вопрос

Часто задаваемые вопросы
Как посмотреть инструкцию к Electrolux EKK 6450 AOW?
Необходимо подождать полной загрузки инструкции в сером окне на данной странице
Руководство на русском языке?
Все наши руководства представлены на русском языке или схематично, поэтому вы без труда сможете разобраться с вашей моделью
Как скопировать текст из PDF?
Чтобы скопировать текст со страницы инструкции воспользуйтесь вкладкой "HTML"