Плита Electrolux EKI954901X - инструкция пользователя по применению, эксплуатации и установке на русском языке. Мы надеемся, она поможет вам решить возникшие у вас вопросы при эксплуатации техники.
Если остались вопросы, задайте их в комментариях после инструкции.
"Загружаем инструкцию", означает, что нужно подождать пока файл загрузится и можно будет его читать онлайн. Некоторые инструкции очень большие и время их появления зависит от вашей скорости интернета.

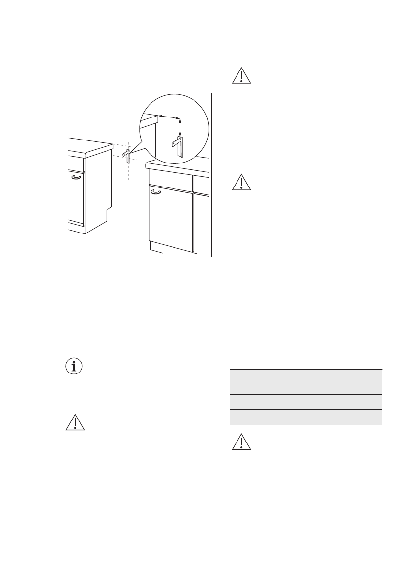
мм от бокового края прибора. Как
следует привинтите его к твердому
надежному материалу или
прикрепите с помощью
соответствующей арматуры к
стене.
80-85
mm
317-322
mm
2. Отверстие для крепления
находится слева на задней
стороне прибора. Поднимите
переднюю часть прибора и
поместите его между кухонными
шкафами. Если расстояние между
кухонными шкафами больше, чем
ширина прибора, следует
установить его так, чтобы зазоры с
обеих сторон были одинаковыми.
При изменении положения
кухонной плиты
необходимо надлежащим
образом отрегулировать
защиту от опрокидывания.
ПРЕДУПРЕЖДЕНИЕ
Если расстояние между
кухонными шкафами
больше, чем ширина
прибора, следует
установить его так, чтобы
зазоры с обеих сторон
были одинаковыми.
3.5 Электрическое
подключение
ВНИМАНИЕ!
Производитель не несет
ответственности, при
несоблюдении мер
предосторожности,
приведенных в Главах,
содержащих Сведения по
технике безопасности.
Данный прибор поставляется без
сетевого шнура или вилки.
ВНИМАНИЕ!
Перед подключением
кабеля электропитания к
клеммной колодке
измерьте напряжение
между фазами в домашней
электросети. Затем
воспользуйтесь наклейкой
со схемой подключения на
задней стороне прибора и
выберите подходящую
схему подключения.
Данный порядок действий
предотвратит ошибки
установки и повреждение
электрических
компонентов внутри
прибора.
Типы кабелей, пригодных для
различных фаз:
Фаза
Мин. сечение ка‐
беля
1
3x10 мм²
3 с нейтралью
5x1,5 мм²
ВНИМАНИЕ!
Сетевой кабель не должен
касаться частей прибора,
заштрихованных на
рисунке.
РУССКИЙ
11

 
  
  
  
  
  
  
  
  
  
  
  
  
  
  
  
  
  
  
  
  
  
  
  
  
  
  
  
  
  
  
  
  
  
  
  
  
  
  
  
  
  
  
  
  
  
  
  
 











