Плита Electrolux EKG 96118 CX - инструкция пользователя по применению, эксплуатации и установке на русском языке. Мы надеемся, она поможет вам решить возникшие у вас вопросы при эксплуатации техники.
Если остались вопросы, задайте их в комментариях после инструкции.
"Загружаем инструкцию", означает, что нужно подождать пока файл загрузится и можно будет его читать онлайн. Некоторые инструкции очень большие и время их появления зависит от вашей скорости интернета.

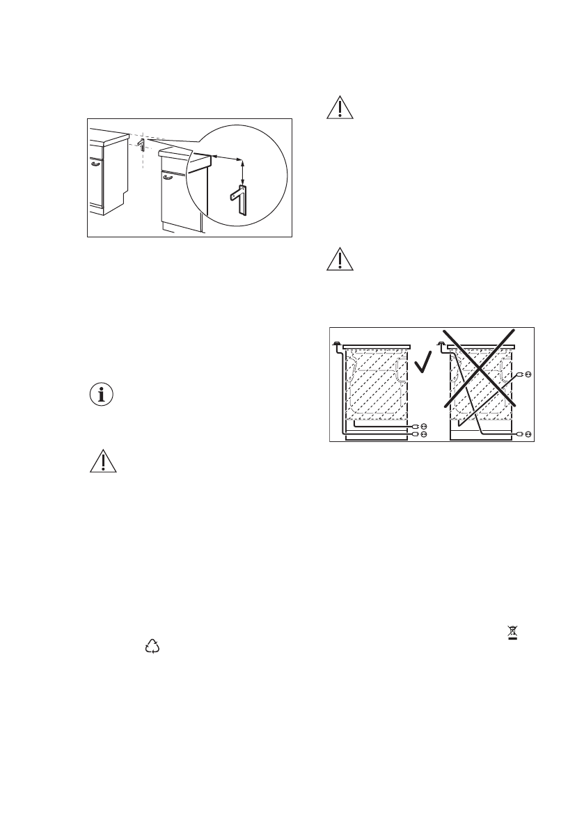
110–115 мм збоку від приладу в
круглий отвір на скобі. Прикрутіть
його до твердої поверхні або
використайте відповідну опору
(стіну).
110-115
mm
232- 237
mm
2. Отвір знаходиться ліворуч позаду
приладу. Підніміть передню
частину приладу і встановіть його
посередині в зоні між шафами.
Якщо відстань між кухонними
шафами виявиться більшою за
ширину приладу, необхідно
відповідно змінити відстань по
боках, щоб прилад стояв
посередині.
Якщо розміри пічки було
змінено, відповідно
вирівняйте пристрій, що
запобігає перекиданню.
УВАГА
Якщо відстань між
кухонними шафами
виявиться більшою за
ширину приладу,
необхідно відповідно
змінити бокову відстань,
щоб прилад стояв
посередині.
14.18 Підключення до
електромережі
ПОПЕРЕДЖЕННЯ!
Виробник не несе
відповідальності у разі
порушення користувачем
правил техніки безпеки,
викладених у розділі
«Інформація з техніки
безпеки».
Прилад оснащено електричним
кабелем з вилкою.
ПОПЕРЕДЖЕННЯ!
Кабель живлення не
повинен торкатися частини
приладу, затемненої на
малюнку.
15. ОХОРОНА ДОВКІЛЛЯ
Здавайте на повторну переробку
матеріали, позначені відповідним
символом . Викидайте упаковку у
відповідні контейнери для вторинної
сировини. Допоможіть захистити
навколишнє середовище та здоров’я
інших людей і забезпечити вторинну
переробку електричних і електронних
приладів. Не викидайте прилади,
позначені відповідним символом ,
разом з іншим домашнім сміттям.
Поверніть продукт до заводу із
вторинної переробки у вашій
місцевості або зверніться до місцевих
муніципальних органів влади.
*
www.electrolux.com
68
Содержание
- 4 возможностями
- 5 Общие правила техники безопасности
- 7 УКАЗАНИЯ ПО БЕЗОПАСНОСТИ; электросети
- 8 Подключение к газовой; магистрали
- 10 Внутреннее освещение
- 11 Функциональные элементы варочной поверхности
- 12 ПЕРЕД ПЕРВЫМ ИСПОЛЬЗОВАНИЕМ; Предварительный нагрев; ИСПОЛЬЗОВАНИЕ; Розжиг горелки варочной; панели
- 13 Общий вид горелки; Выключение горелки
- 14 ВАРОЧНАЯ ПАНЕЛЬ – УКАЗАНИЯ И; РЕКОМЕНДАЦИИ; Экономия электроэнергии
- 15 Периодический уход
- 16 духового шкафа; Ручной розжиг газовой; горелки духового шкафа
- 17 После розжига газовой; Выключение горелки; Предохранительный; термостат
- 18 Индикатор функции гриля; ДОПОЛНИТЕЛЬНЫХ ПРИНАДЛЕЖНОСТЕЙ; дополнительных
- 19 ДУХОВОЙ ШКАФ – УКАЗАНИЯ И; Общая информация
- 20 выпечных блюд; Приготовление мяса и; рыбы; Время приготовления
- 23 относительно очистки; Модели из нержавеющей; стали или алюминия; Снятие направляющих; для противней, а также
- 25 Извлечение ящика
- 26 Задняя лампа; ПОИСК И УСТРАНЕНИЕ НЕИСПРАВНОСТЕЙ
- 27 обращения в сервис-центр
- 28 Место для установки; прибора; Технические данные; Другие технические данные
- 29 Диаметры обводных клапанов; Газовые горелки для ПРИРОДНОГО ГАЗА G20 13 мбар; Газовые горелки для ПРИРОДНОГО ГАЗА G20 20 мбар
- 30 Подключение к газовой
- 35 опрокидывания
- 36 подключение; ОХРАНА ОКРУЖАЮЩЕЙ СРЕДЫ