Плита Electrolux EKG 961100 W (X) - инструкция пользователя по применению, эксплуатации и установке на русском языке. Мы надеемся, она поможет вам решить возникшие у вас вопросы при эксплуатации техники.
Если остались вопросы, задайте их в комментариях после инструкции.
"Загружаем инструкцию", означает, что нужно подождать пока файл загрузится и можно будет его читать онлайн. Некоторые инструкции очень большие и время их появления зависит от вашей скорости интернета.

1. Установите кронштейн защиты от
опрокидывания, воспользовавшись
круглым отверстием в нем и
отступив на 232-237 мм вниз от
верхнего края прибора и на
110-115 мм от бокового края
прибора. Как следует привинтите
его к твердому надежному
материалу или прикрепите с
помощью соответствующей
арматуры к стене.
110-115
mm
232- 237
mm
2. Отверстие для крепления
находится слева на задней
стороне прибора. Поднимите
переднюю часть прибора и
поместите его между кухонными
шкафами. Если расстояние между
кухонными шкафами больше, чем
ширина прибора, следует
установить его так, чтобы зазоры с
обеих сторон были одинаковыми.
При изменении положения
кухонной плиты
необходимо надлежащим
образом отрегулировать
защиту от опрокидывания.
ОСТОРОЖНО!
Если расстояние между
кухонными шкафами
больше, чем ширина
прибора, следует
установить его так, чтобы
зазоры с обеих сторон
были одинаковыми.
14.18 Электрическое
подключение
ВНИМАНИЕ!
Производитель не несет
ответственности, при
несоблюдении мер
предосторожности,
приведенных в Главах,
содержащих Сведения по
технике безопасности.
Данный прибор поставляется с
сетевым шнуром и вилкой.
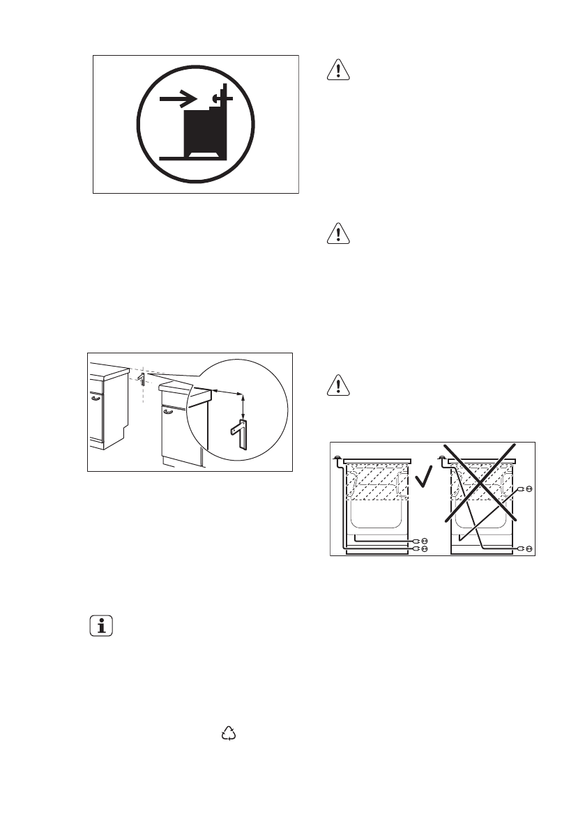
ВНИМАНИЕ!
Сетевой шнур не должен
касаться частей прибора,
показанных на рисунке.
15. ОХРАНА ОКРУЖАЮЩЕЙ СРЕДЫ
Материалы с символом следует
сдавать на переработку. Положите
упаковку в соответствующие
контейнеры для сбора вторичного
сырья. Принимая участие в
переработке старого электробытового
оборудования, Вы помогаете
www.electrolux.com
34
Характеристики
Остались вопросы?Не нашли свой ответ в руководстве или возникли другие проблемы? Задайте свой вопрос в форме ниже с подробным описанием вашей ситуации, чтобы другие люди и специалисты смогли дать на него ответ. Если вы знаете как решить проблему другого человека, пожалуйста, подскажите ему :)
 
  
  
  
  
  
  
  
  
  
  
  
  
  
  
  
  
  
  
  
  
  
  
  
  
  
  
  
  
  
  
  
  
  
  
  
 











