Плита Electrolux EKG 954100 W (X) - инструкция пользователя по применению, эксплуатации и установке на русском языке. Мы надеемся, она поможет вам решить возникшие у вас вопросы при эксплуатации техники.
Если остались вопросы, задайте их в комментариях после инструкции.
"Загружаем инструкцию", означает, что нужно подождать пока файл загрузится и можно будет его читать онлайн. Некоторые инструкции очень большие и время их появления зависит от вашей скорости интернета.

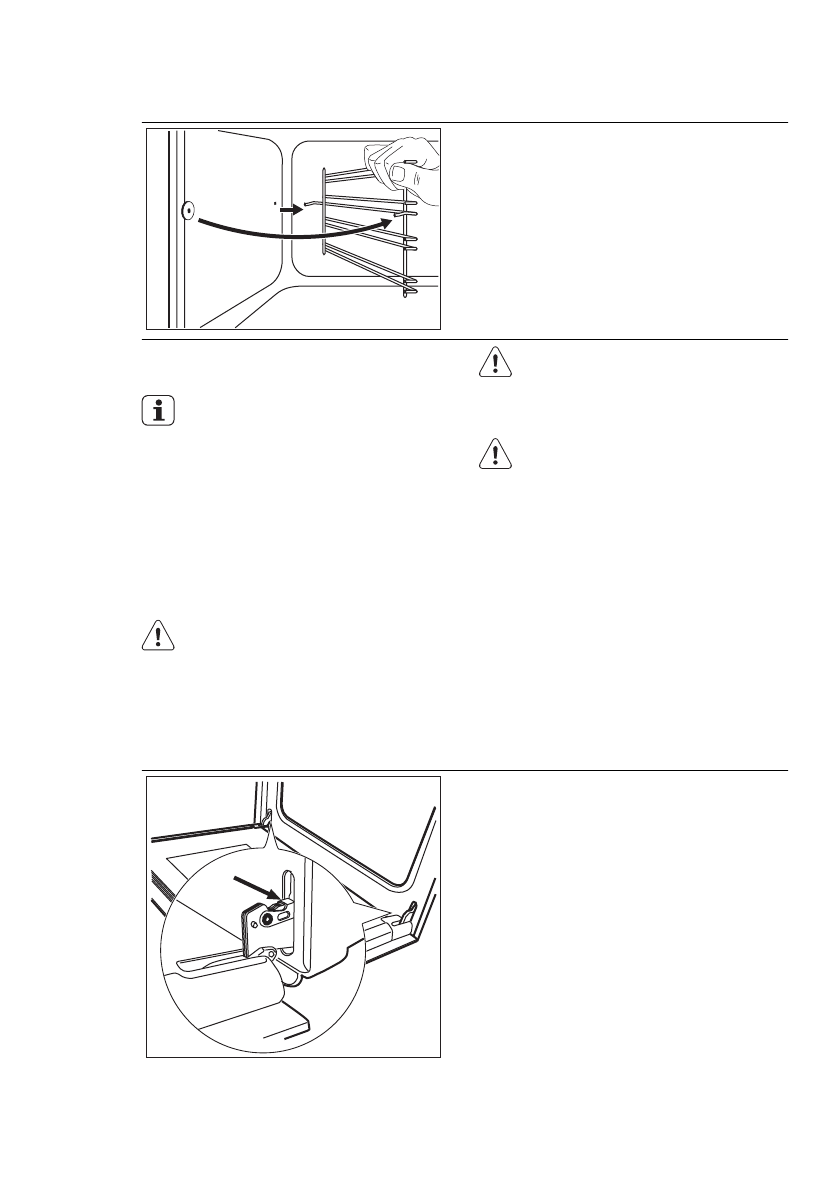
12.1 Снятие направляющих для противня
2
1
Для очистки боковых стенок духового шкафа
направляющие для противня можно снять.
1.
Потяните переднюю часть направляю‐
щей для противня в сторону, противопо‐
ложную боковой стенке.
2.
Вытяните заднюю часть направляющей
для противня из боковой стенки и сними‐
те ее.
Установка направляющих для противня про‐
изводится в обратном порядке.
Закругленные концы направляющих
для противня должны быть направле‐
ны вперед.
12.2 Очистка дверцы духового
шкафа
В дверце духового шкафа имеются две сте‐
клянные панели, установленные одна за дру‐
гой. Чтобы облегчить их очистку, снимите
дверцу духового шкафа.
ВНИМАНИЕ!
Если попытаться извлечь внутрен‐
нюю стеклянную панель, предвари‐
тельно не сняв дверцу, то дверца ду‐
хового шкафа может захлопнуться.
ВНИМАНИЕ!
Перед очисткой стеклянных панелей
убедитесь, что они остыли. Суще‐
ствует опасность, что стекло треснет.
ВНИМАНИЕ!
Стеклянные панели дверцы, имею‐
щие повреждения или царапины, ста‐
новятся хрупкими и могут треснуть.
Во избежание этого их необходимо
заменить. Для получения более под‐
робных указаний обратитесь в мест‐
ный сервисный центр.
Снятие дверцы духового шкафа и стеклянной панели
1.
Откройте дверцу до конца и возьмитесь
за обе петли.
РУССКИЙ
21