Плита Electrolux EKG 61101 OW (OX) - инструкция пользователя по применению, эксплуатации и установке на русском языке. Мы надеемся, она поможет вам решить возникшие у вас вопросы при эксплуатации техники.
Если остались вопросы, задайте их в комментариях после инструкции.
"Загружаем инструкцию", означает, что нужно подождать пока файл загрузится и можно будет его читать онлайн. Некоторые инструкции очень большие и время их появления зависит от вашей скорости интернета.

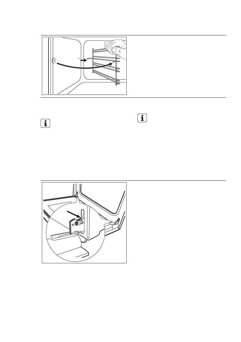
11.1 Знімання направляючих для поличок
2
1
Направляючі для поличок можна зняти, щоб
помити бічні стінки.
1.
Спочатку потягніть передню частину опо‐
рної рейки від бічної стінки.
2.
Потягніть задню частину опорної рейки
від бічної стінки і зніміть її.
Для вставлення опорних рейок виконайте на‐
ведену вище процедуру у зворотній послідов‐
ності.
Округлені кінці направляючих для по‐
личок мають бути спрямовані вперед.
11.2 Чищення дверцят духової
шафи
Дверцята духової шафи складаються із двох
скляних панелей. Для чищення дверцята ду‐
хової шафи і внутрішню скляну панель можна
зняти.
Відчинені й не зняті з приладу двер‐
цята можуть раптово закритися під
час спроби витягти внутрішню скляну
панель.
Знімання дверцят духової шафи і скляної панелі
1.
Повністю відкрийте дверцята і утримуйте
обидва дверні шарніри.
68 www.electrolux.com
Содержание
- 27 ПОДДЕРЖКА ПОТРЕБИТЕЛЕЙ И СЕРВИСНОЕ ОБСЛУЖИВАНИЕ
- 29 УКАЗАНИЯ ПО БЕЗОПАСНОСТИ
- 34 ПЕРЕД ПЕРВЫМ ИСПОЛЬЗОВАНИЕМ; Предварительный нагрев; ВАРОЧНАЯ ПАНЕЛЬ - ЕЖЕДНЕВНОЕ ИСПОЛЬЗОВАНИЕ
- 35 Выключение горелки
- 36 ДУХОВОЙ ШКАФ - ЕЖЕДНЕВНОЕ ИСПОЛЬЗОВАНИЕ; Режимы духового шкафа
- 42 Информация об акриламидах
- 52 Электрическая установка; ОХРАНА ОКРУЖАЮЩЕЙ СРЕДЫ












