Плита Electrolux EKG 61100 OW (OX) - инструкция пользователя по применению, эксплуатации и установке на русском языке. Мы надеемся, она поможет вам решить возникшие у вас вопросы при эксплуатации техники.
Если остались вопросы, задайте их в комментариях после инструкции.
"Загружаем инструкцию", означает, что нужно подождать пока файл загрузится и можно будет его читать онлайн. Некоторые инструкции очень большие и время их появления зависит от вашей скорости интернета.

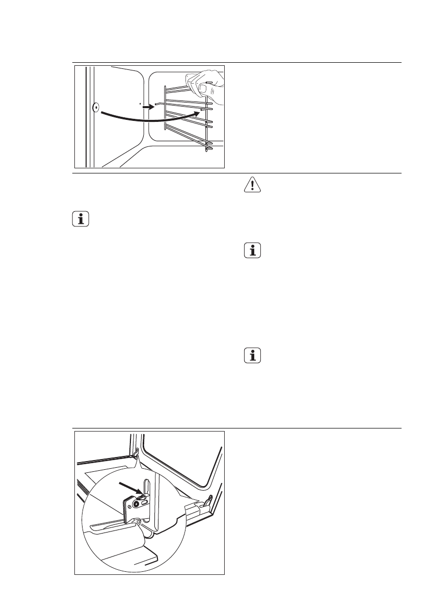
11.1 Знімання опорних рейок
2
1
Опорні рейки можна зняти, щоб помити бічні
стінки.
1.
Спочатку потягніть передню частину опо‐
рної рейки від бічної стінки.
2.
Потягніть задню частину опорної рейки
від бічної стінки і зніміть її.
Для вставлення опорних рейок виконайте ви‐
щенаведену процедуру у зворотній послідов‐
ності.
Заокруглені кінці опорних рейок ма‐
ють бути спрямовані вперед.
11.2 Каталітичні стінки
Стінки з каталітичним покриттям здатні очи‐
щуватися самостійно. Вони вбирають жир, що
розбризкується у процесі готування їжі.
Для покращення результатів самоочищення
регулярно нагрівайте пусту духовку:
1.
Відчиніть дверцята духовки.
2.
Вийміть з духової шафи все приладдя.
3.
Зачиніть дверцята.
4.
Встановіть максимальну температуру ду‐
хової шафи і залиште духову шафу пра‐
цювати протягом 1 години.
5.
Протріть камеру духової шафи м’якою,
вологою губкою.
Обережно!
Не застосовуйте для чищення каталі‐
тичних поверхонь аерозолі, абразивні
засоби, мило й інші миючі засоби. Це
може призвести до пошкодження ка‐
талітичної поверхні.
Знебарвлення каталітичної поверхні
не впливає на її робочі якості.
11.3 Чищення дверцят духової
шафи
Дверцята духової шафи складаються із двох
скляних панелей. Для чищення дверцята ду‐
хової шафи і внутрішню скляну панель можна
зняти.
Відчинені й не зняті з приладу двер‐
цята можуть раптово закритися під
час спроби витягти внутрішню скляну
панель.
Знімання дверцят духової шафи і скляної панелі
1.
Повністю відкрийте дверцята і утримуйте
обидва дверні шарніри.
Українська
69
Содержание
- 27 ПОДДЕРЖКА ПОТРЕБИТЕЛЕЙ И СЕРВИСНОЕ ОБСЛУЖИВАНИЕ
- 29 УКАЗАНИЯ ПО БЕЗОПАСНОСТИ
- 33 Функциональные элементы варочной панели
- 34 ПЕРЕД ПЕРВЫМ ИСПОЛЬЗОВАНИЕМ; Предварительная чистка; ВАРОЧНАЯ ПАНЕЛЬ - ЕЖЕДНЕВНОЕ ИСПОЛЬЗОВАНИЕ
- 35 Выключение горелки
- 36 ДУХОВОЙ ШКАФ - ЕЖЕДНЕВНОЕ ИСПОЛЬЗОВАНИЕ; Режимы духового шкафа
- 40 Таблица для приготовления
- 44 Снятие дверцы духового шкафа и стеклянной панели
- 51 Замена инжектора духового шкафа
- 53 Электрическая установка; ОХРАНА ОКРУЖАЮЩЕЙ СРЕДЫ












