Плита Electrolux EKG 603302 W (X) - инструкция пользователя по применению, эксплуатации и установке на русском языке. Мы надеемся, она поможет вам решить возникшие у вас вопросы при эксплуатации техники.
Если остались вопросы, задайте их в комментариях после инструкции.
"Загружаем инструкцию", означает, что нужно подождать пока файл загрузится и можно будет его читать онлайн. Некоторые инструкции очень большие и время их появления зависит от вашей скорости интернета.

Затем
приступайте
к
выполнению
под
-
соединения
.
Гибкий
шланг
можно
ис
-
пользовать
при
соблюдении
следую
-
щих
условий
:
–
шланг
не
может
нагреваться
выше
комнатной
температуры
(
выше
30°C);
–
длина
шланга
не
превышает
1500
мм
;
–
в
шланге
отсутствуют
участки
суже
-
ния
просвета
;
–
шланг
не
натянут
и
не
перекручен
;
–
шланг
не
соприкасается
с
острыми
кромками
или
углами
;
–
шланг
можно
легко
осмотреть
для
проверки
его
состояния
.
При
выполнении
проверки
состояния
гибкого
шланга
необходимо
обследо
-
вать
шланг
на
предмет
того
,
что
:
–
на
обоих
концах
шланга
и
на
всем
его
протяжении
отсутсвуют
трещины
,
по
-
резы
и
следы
обгорания
;
–
материал
шланга
не
стал
жестким
и
сохраняет
нормальную
эластичность
;
–
на
хомутах
крепления
отсутствует
ржавчина
;
–
срок
службы
шланга
не
истек
.
При
выявлении
одного
или
нескольких
дефектов
следует
заменить
шланг
,
а
не
ремонтировать
его
.
ВАЖНО
!
По
завершении
монтажа
проверьте
герметичность
всех
трубных
соединений
.
Проверку
следует
выполнять
с
помощью
мыльного
раствора
,
ни
в
коем
случае
не
применяйте
для
этого
открытое
пламя
!
Газораспределительный
узел
находит
-
ся
с
обратной
стороны
панели
управле
-
ния
.
ВНИМАНИЕ
!
Перед
подключением
газа
выньте
вилку
из
розетки
или
отключите
предохранитель
на
щитке
.
Закройте
главный
клапан
подвода
газа
.
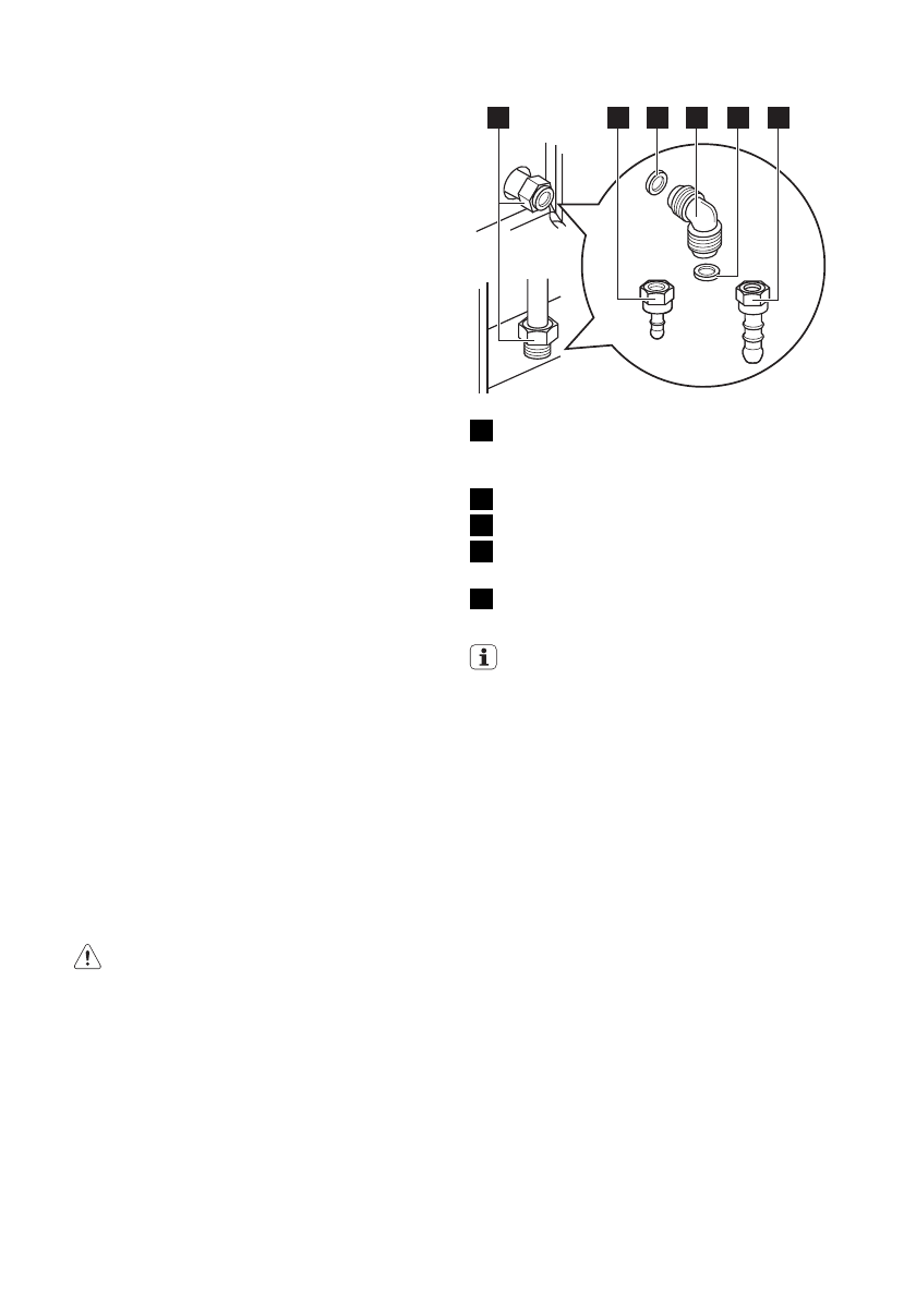
1
4
2
3
2
5
1
Патрубок
для
подсоединения
к
си
-
стеме
газоснабжения
(
в
приборе
предусмотрен
только
один
штуцер
)
2
Прокладка
3
Соединительный
переходник
4
Штуцер
для
шланга
,
предназначен
-
ного
для
сжиженного
газа
5
Штуцер
для
шланга
,
предназначен
-
ного
для
природного
газа
Прибор
налажен
для
использова
-
ния
определенного
газа
.
Для
пере
-
наладки
прибора
на
другой
газ
сле
-
дует
выбрать
штуцер
для
шланга
из
перечня
.
Необходимо
всегда
ис
-
пользовать
уплотнительную
про
-
кладку
Замена
форсунок
1.
Снимите
решетки
конфорок
.
2.
Снимите
с
горелок
крышки
и
рассе
-
катели
пламени
.
3.
С
помощью
торцевого
ключа
на
7
мм
демонтируйте
форсунки
и
заме
-
ните
их
на
те
,
которые
соответ
-
ствуют
используемому
типу
газа
.
4.
Установите
детали
на
место
,
выпол
-
нив
вышеприведенную
последова
-
тельность
действий
в
обратном
по
-
рядке
.
electrolux
21
Характеристики
Остались вопросы?Не нашли свой ответ в руководстве или возникли другие проблемы? Задайте свой вопрос в форме ниже с подробным описанием вашей ситуации, чтобы другие люди и специалисты смогли дать на него ответ. Если вы знаете как решить проблему другого человека, пожалуйста, подскажите ему :)












