Плита Electrolux EKG 603300 W (X) - инструкция пользователя по применению, эксплуатации и установке на русском языке. Мы надеемся, она поможет вам решить возникшие у вас вопросы при эксплуатации техники.
Если остались вопросы, задайте их в комментариях после инструкции.
"Загружаем инструкцию", означает, что нужно подождать пока файл загрузится и можно будет его читать онлайн. Некоторые инструкции очень большие и время их появления зависит от вашей скорости интернета.

56
electrolux
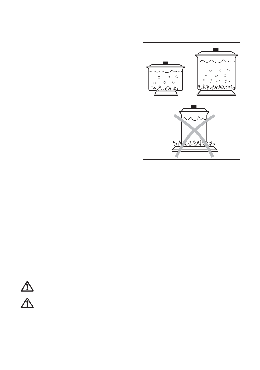
Рекомендуемая посуда
Помните, что кастрюли с широким дном
позволяют уменьшить время приготовления
по сравнению с кастрюлями с узким дном.
В с е г д а и с п о л ь з у й т е п о с у д у ,
с о о т в е т с т в у ю щ у ю п р и г о т а в л и в а е м о м у
блюду.
В частности, при приготовлении жидкостей
обращайте внимание, чтобы размер посуды
н е б ы л с л и ш к о м м а л , т . к . в п р о т и в н о м
случае они могут легко перелиться через
край.
К р о м е т о г о , д л я о б е с п е ч е н и я б о л е е
быстрого приготовления пищи, посуда не
д о л ж н а б ы т ь ч р е з м е р н о ш и р о к о й .
Д е й с т в и т е л ь н о , ж и р и с о к и м о г у т
р а с п р е д е л и т ь с я п о д н у и л е г к о
воспламениться.
Для выпечки кондитерских изделий лучше
использовать неразъемные формы. В самом
д е л е , с о к и и с а х а р м о г у т в ы т е ч ь и з
разъемной формы, стекая на дно духового
шкафа и, соответственно, пригореть на дне
противня, затрудняя его чистку.
Не помещайте в духовой шкаф посуду с
пластиковыми ручками, если только они не
являются теплостойкими.
Н е о б х о д и м о п о л ь з о в а т ь с я п о с у д о й ,
диаметр которой соответствует размеру
г о р е л к и , в ц е л я х о п т и м а л ь н о г о
использования прибора и, следовательно,
снижения потребления газа.
Также рекомендуется накрывать крышкой
кастрюли с кипящими жидкостями и, как
т о л ь к о ж и д к о с т ь в к а с т р ю л е н а ч и н а е т
к и п е т ь , у б а в л я т ь п л а м я д о м и н и м у м а ,
н е о б х о д и м о г о д л я т о г о , ч т о б ы
поддерживать температуру кипения.
Н и в к о е м с л у ч а е н е л ь з я
с т а в и т ь п о с уд у н а з о н у
управления прибором.
Следите, чтобы кастрюля не
выступала за края варочной
панели и стояла на горелке по
центр у – таким образом, Вы
снизите расход газа.
Содержание
- 47 Пояснение к пользованию настоящей инструкцией; Оглавление; Инструкции для пользователя Инструкции для установщика
- 48 Важные указания по безопасности; Установка; РУССКИЙ
- 49 При эксплуатации
- 50 Техническое обслуживание
- 53 Камера духового шкафа; Принадлежности
- 54 Включение газовых горелок; Правильная эксплуатация плиты
- 56 Рекомендуемая посуда
- 57 Эксплуатация газового духового шкафа
- 58 Ручной розжиг; Газовый духовой шкаф
- 59 Электрический гриль; Органы управления
- 60 Использование режима конвекции; Меньшее время прогрева; Более равномерный нагрев
- 61 Первое включение духового шкафа
- 62 Электронный таймер; Установка обратного отсчета времени
- 64 Энергосберегающий режим
- 65 Советы и рекомендации по эксплуатации
- 66 Конденсация и пар
- 69 Рекомендации по использованию газовых горелок
- 70 Таблица приготовления
- 71 Примерные температуры, соответствующие показаниям селектора
- 72 Чистка и уход; Чистка плиты
- 77 Технические данные; Плита
- 78 Требования к установке; Указания для установщика; Удаление продуктов сгорания; Выравнивание по высоте
- 79 Подключение к газовой магистрали
- 80 НЕТ; ДА
- 81 Винт обводного клапана
- 82 Замена инжектора горелки
- 84 Параметры горелок
- 85 Электрическое подключение
- 87 Гарантия/сервисная служба; ЕВРОПЕЙСКАЯ ГАРАНТИЯ












