Плита Electrolux EKG 51300 OW - инструкция пользователя по применению, эксплуатации и установке на русском языке. Мы надеемся, она поможет вам решить возникшие у вас вопросы при эксплуатации техники.
Если остались вопросы, задайте их в комментариях после инструкции.
"Загружаем инструкцию", означает, что нужно подождать пока файл загрузится и можно будет его читать онлайн. Некоторые инструкции очень большие и время их появления зависит от вашей скорости интернета.

3.
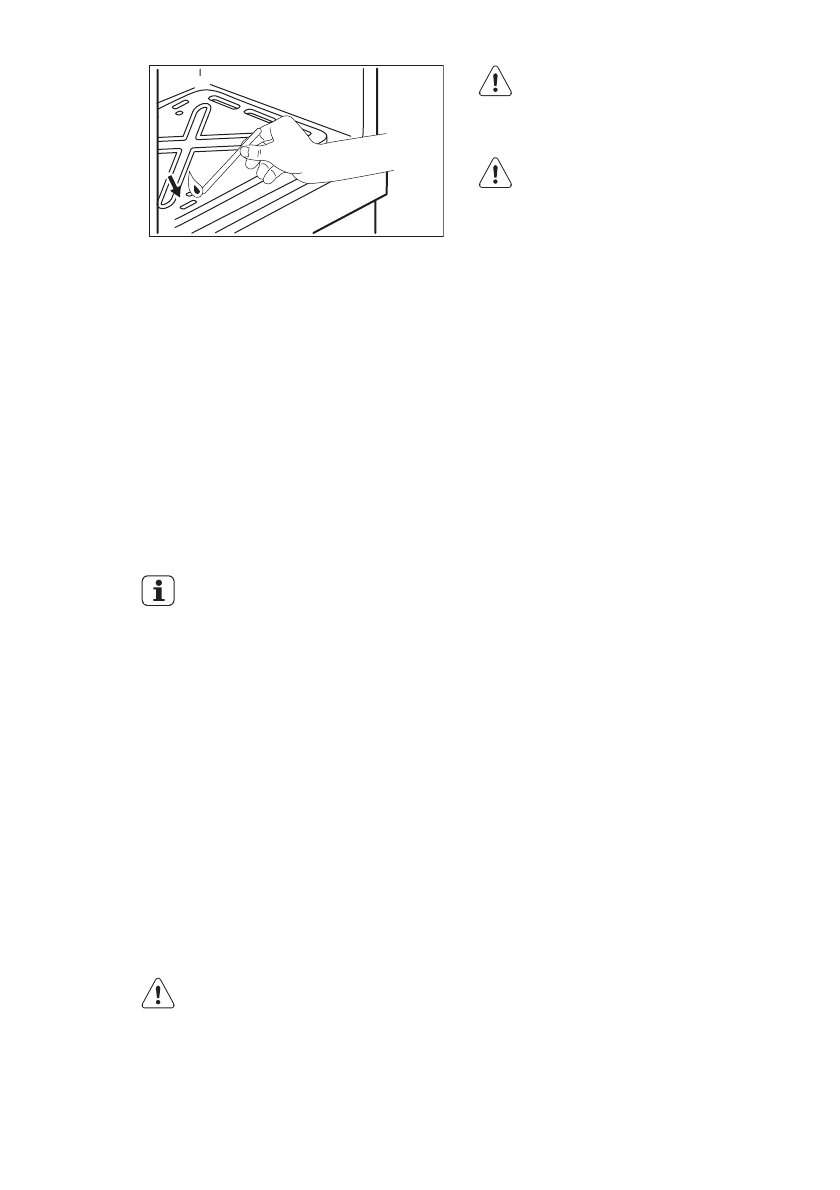
В то же самое время нажмите ручку вы‐
бора режима духового шкафа и поверни‐
те ее против часовой стрелки в положе‐
ние максимальной подачи газа.
4.
После появления пламени удерживайте
ручку в нажатом положении около 15 се‐
кунд.
После розжига
1.
Отпустите кнопку.
2.
Закройте дверцу печи.
3.
Установите ручку выбора режима духово‐
го шкафа в нужное положение.
Предохранительное устройство духового шка‐
фа
Духовой шкаф оснащен термопарой. Она пре‐
кращает подачу газа, если пламя гаснет.
Если горелка духового шкафа не за‐
горается или если она случайно пога‐
сла
1.
Отпустите ручку выбора режима
духового шкафа и поверните ее
в положение "Выкл".
2.
Откройте дверцу духового шка‐
фа.
3.
Через минуту попробуйте по‐
вторно зажечь горелку.
7.4 Выключение горелки духового
шкафа
Чтобы погасить пламя, поверните ручку в по‐
ложение "Выкл".
7.5 Использование электрического
гриля
ВНИМАНИЕ!
Всегда готовьте при закрытой дверце
духового шкафа.
ВНИМАНИЕ!
Одновременное использование элек‐
трического гриля и газового духового
шкафа не рекомендуется.
ВНИМАНИЕ!
Внешние элементы духового шкафа
при использовании гриля могут силь‐
но нагреваться. Не подпускайте де‐
тей.
Для выключения данной функции поверните
ручку в положение «Выкл».
7.6 Контрольная лампа работы
гриля
Контрольная лампа работы гриля (см. раздел
"Описание изделия") загорается при выборе
режима приготовления на гриле. Лампа гас‐
нет, когда температура внутри духового шка‐
фа достигает нужного значения. Затем лампа
поперемено загорается и гаснет, показывая,
что прибор поддерживает температуру.
7.7 Таймер
Предназначен для задания времени обратно‐
го отсчета.
Сначала, поверните ручку таймера (см. раз‐
дел "Описание изделия") по часовой стрелке
до упора. Затем, поверните ее обратно, уста‐
новив на требуемое значение времени. По ис‐
течении заданного времени подается звуко‐
вой сигнал.
Эта функция не влияет на работу духового
шкафа.
РУССКИЙ
11












