Плита Electrolux EKG 511112 W - инструкция пользователя по применению, эксплуатации и установке на русском языке. Мы надеемся, она поможет вам решить возникшие у вас вопросы при эксплуатации техники.
Если остались вопросы, задайте их в комментариях после инструкции.
"Загружаем инструкцию", означает, что нужно подождать пока файл загрузится и можно будет его читать онлайн. Некоторые инструкции очень большие и время их появления зависит от вашей скорости интернета.

После розжига:
1. отпустите ручку управления газовым
духовым шкафом;
2. закройте дверцу духового шкафа;
3. поверните ручку управления на нуж‐
ную отметку температуры.
Предохранительное устройство духово‐
го шкафа
Газовой духовой шкаф оснащен предох‐
ранительной термопарой. Если пламя
гаснет, она перекрывает подачу газа.
Электрический гриль нельзя исполь‐
зовать одновременно с газовым ду‐
ховым шкафом.
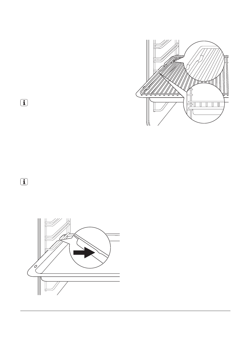
Установка принадлежностей для
духового шкафа
Вставьте выдвижные принадлежности
таким образом, чтобы двухсторонние
кромки были расположены в задней ча‐
сти духового шкафа по направлению
вниз. Вставьте выдвижные принадлеж‐
ности между направляющими одного из
уровней духового шкафа.
Плоский противень и полка духово‐
го шкафа имеют двухсторонние
кромки. Эти кромки и форма направ‐
ляющих предотвращают опрокиды‐
вание принадлежностей духового
шкафа.
Установка полки и плоского противня
вместе
Установите полку на плоский проти‐
вень. Установите плоский противень
между направляющими одного из уров‐
ней духового шкафа.
ДУХОВОЙ ШКАФ - ПОЛЕЗНЫЕ СОВЕТЫ
• В приборе предусмотрено четыре
уровня установки полок. Уровни уста‐
новки полок отсчитываются от дна ду‐
хового шкафа.
• Одновременно можно готовить раз‐
ные блюда на двух уровнях. Помести‐
те полки на уровни 1 и 3.
electrolux
31












