Плита Electrolux EKG 5006 - инструкция пользователя по применению, эксплуатации и установке на русском языке. Мы надеемся, она поможет вам решить возникшие у вас вопросы при эксплуатации техники.
Если остались вопросы, задайте их в комментариях после инструкции.
"Загружаем инструкцию", означает, что нужно подождать пока файл загрузится и можно будет его читать онлайн. Некоторые инструкции очень большие и время их появления зависит от вашей скорости интернета.

24
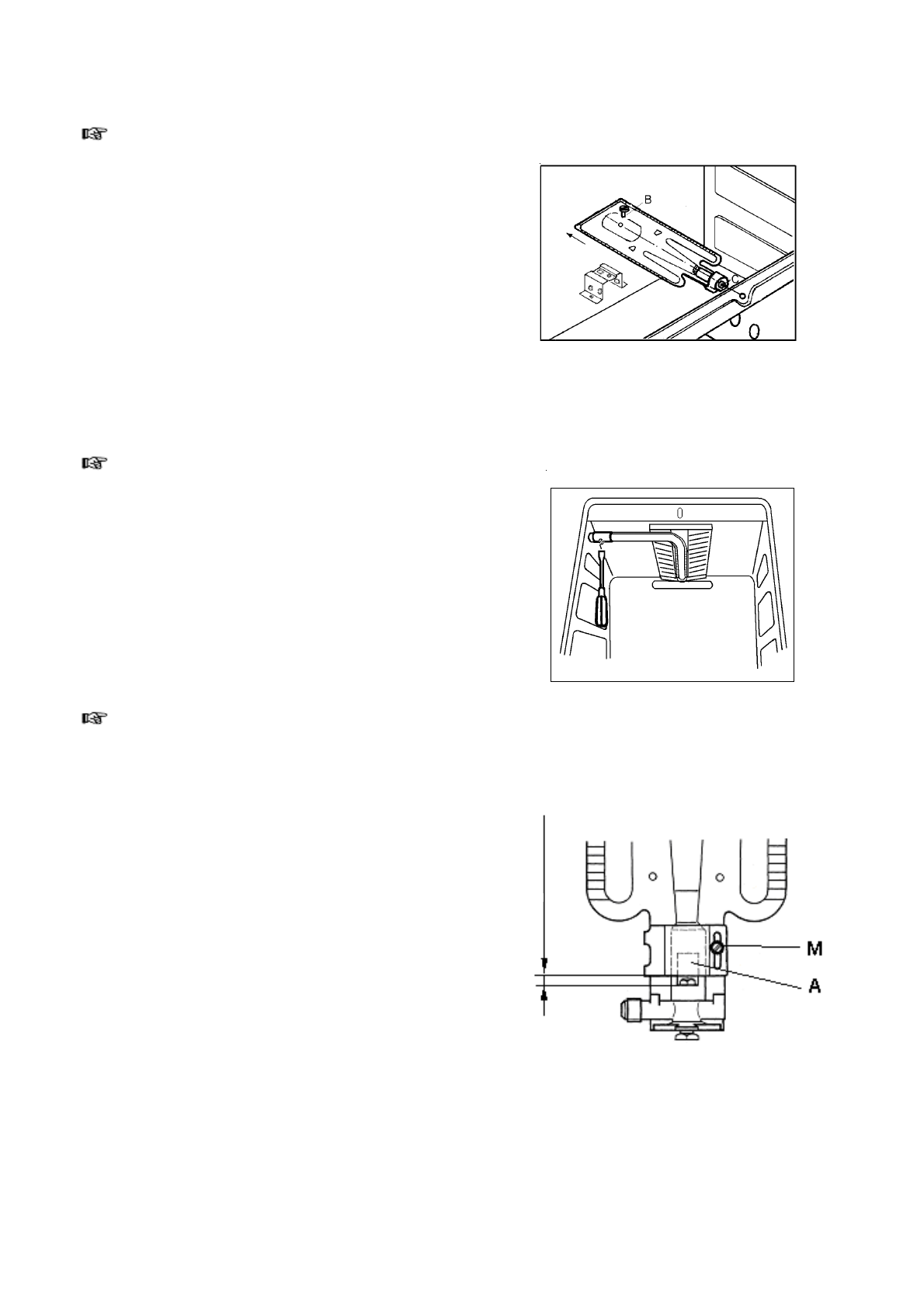
Çàìåíà ôîðñóíîê ãîðåëîê äóõîâêè
Ãîðåëêà äóõîâêè
Ä ë ÿ ç à ì å í û ô î ð ñ ó í ê è ã à ç î â î é ä ó õ î â ê è
âûïîëíèòå ñëåäóþùèå ïðîöåäóðû:
• Ï ð è ï î ì î ù è òà áë è ö û ¹ 1 î ï ð åä åë è òå
äèàìåòð ôîðñóíêè;
• Óäàëèòå ñúåìíóþ íèæíþþ ïàíåëü äóõîâêè;
• Âûêðóòèòå âèíò B, íàõîäÿùèéñÿ íà ñòåðæíå
ãîðåëêè â çàäíåé ÷àñòè äóõîâêè;
• Ñíèìèòå ãîðåëêó äóõîâêè, âûòîëêíóâ åå
íàçàä;
• Çàìåíèòå ôîðñóíêó C ïðè ïîìîùè òîðöåâîãî
êëþ÷à ¹ 10;
Ï ð î è ç â å ä è ò å ñ á î ð ê ó â î á ð à ò í î é
ïîñëåäîâàòåëüíîñòè.
Ãîðåëêà ãðèëÿ
Ðåãóëèðîâêà ïëàìåíè
Äëÿ çàìåíû ôîðñóíêè ãàçîâîãî ãðèëÿ âûïîëíèòå
ñëåäóþùóþ ïðîöåäóðó:
• Ñíèìèòå ãîðåëêó ãðèëÿ ïîñëå âûâèí÷èâàíèÿ
êðåïåæíîãî âèíòà.
• Çàìåíèòå ôîðñóíêó ïðè ïîìîùè òîðöåâîãî
êëþ÷à ¹ 10;
• Ñ î á å ð è ò å â ñ å ä å ò à ë è è ï ð î ò å ñ ò è ð ó é ò å
ïðèáîð.
Ãîðåëêà äóõîâêè
Ãîðåëêà ïðàâèëüíî îòðåãóëèðîâàíà, åñëè ïëàìÿ
ñòàáèëüíî áåñøóìíîå è ãàñíåò áåç øóìà.
• Åñëè ÿçûêè ïëàìåíè ñëèøêîì êîðîòêèå,
ôîðñóíêà ñâèñòèò èëè ïëàìÿ îòäåëÿåòñÿ îò
ãîðåëêè, ýòî îçíà÷àåò, ÷òî â êëàïàíå ñëèøêîì
ìíîãî âîçäóõà. Åñëè âîçäóõà ñëèøêîì ìíîãî,
è ì å å ò ñ ÿ â î ç ì î æ í î ñ ò ü ò î ã î , ÷ ò î ï ë à ì ÿ
ïîãàñíåò.
• Åñëè ÿçûêè ïëàìåíè ñëèøêîì äëèííûå,
íåóñòîé÷èâûå è íåÿðêèå, ýòî çíà÷èò, ÷òî â
êëàïàíå íåäîñòàòî÷íî âîçäóõà. Òàêîå ïëàìÿ
îáåñöâå÷èâàåò äíî ïîñóäû.
• Îñëàáüòå âèíò Ì, ôèêñèðóþùèé ðåãóëÿòîð
âîçäóõà À.
• Ïåðåìåùàéòå ðåãóëÿòîð âîçäóõà âïåðåä èëè
íàçàä äî ïîëó÷åíèÿ íóæíîé ãàçîâîçäóøíîé
ñìåñè;
• Çàêðóòèòå êðåïåæíûé âèíò Ì.
ðåãóëèðîâêà âîçäóõà












