Плита Electrolux EKD 603500 X - инструкция пользователя по применению, эксплуатации и установке на русском языке. Мы надеемся, она поможет вам решить возникшие у вас вопросы при эксплуатации техники.
Если остались вопросы, задайте их в комментариях после инструкции.
"Загружаем инструкцию", означает, что нужно подождать пока файл загрузится и можно будет его читать онлайн. Некоторые инструкции очень большие и время их появления зависит от вашей скорости интернета.

12
electrolux
Использование варочной панели
Устанавливайте на зоны нагрева
только посуду, пригодную для
использования с
индукционными варочными
панелями.
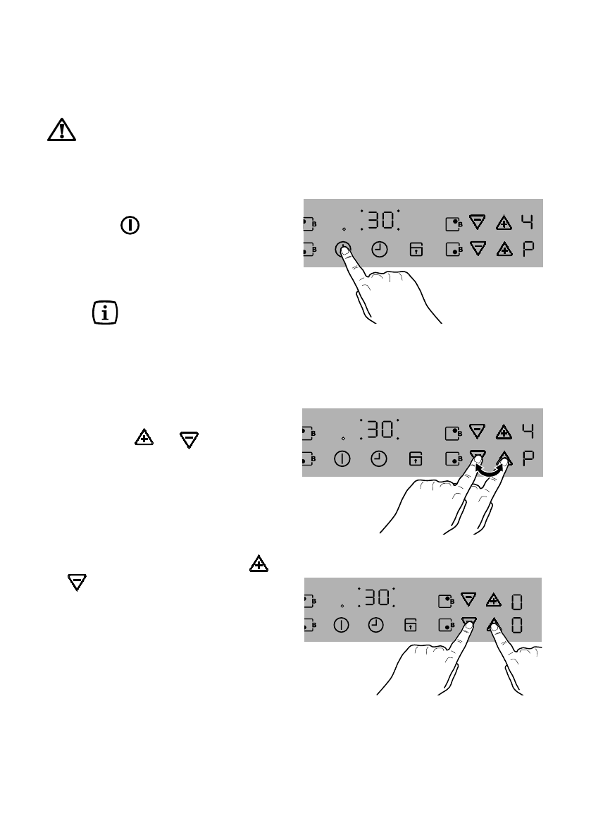
1. Для включения варочной панели
нажмите
и не отпускайте в
течение примерно 2 секунд. Дисплеи
зон нагрева покажут
“0”
или
“H”
- это
означает, что варочная панель готова к
использованию.
В течение примерно 10
секунд после включения
необходимо задать уровень
мощности нагрева или
какую-либо функцию, в
противном случае прибор
автоматически
выключится.
2. Нажимайте
или
той или иной
зоны нагрева для задания уровня
мощности нагрева в интервале от
“1”
до
“9”
или нажмите
“P”
; при этом
загорится соответствующая
индикаторная лампочка.
3. Для выключения той или иной зоны
нагрева одновременно нажмите
и
. Соответствующий дисплей
покажет
“0”
, а индикаторная лампочка
погаснет. При наличии оставшегося
тепла, передавшегося от посуды,
индикатор остаточного тепла
“Р”
загорится сразу же после выключения
зоны нагрева и погаснет после того,
как она остынет.












