Плита Electrolux EKC954301W - инструкция пользователя по применению, эксплуатации и установке на русском языке. Мы надеемся, она поможет вам решить возникшие у вас вопросы при эксплуатации техники.
Если остались вопросы, задайте их в комментариях после инструкции.
"Загружаем инструкцию", означает, что нужно подождать пока файл загрузится и можно будет его читать онлайн. Некоторые инструкции очень большие и время их появления зависит от вашей скорости интернета.

тряпку, смоченную в теплой воде с
моющим средством.
• Если у вас есть принадлежности с
антипригарным покрытием, для их
чистки не следует использовать
агрессивные средства, предметы с
острыми краями или
посудомоечную машину. Это может
привести к повреждению
антипригарного покрытия.
12.2 Модели из нержавеющей
стали или алюминия
Очистку дверцы духового
шкафа можно производить
только влажной губкой.
Протрите ее насухо мягкой
тряпкой.
Никогда не используйте
абразивные средства,
металлические губки или
средства, содержащие
кислоты, т.к. они могут
повредить поверхность
духового шкафа.
Выполняйте чистку панели
управления духового
шкафа с соблюдением
аналогичных
предосторожностей.
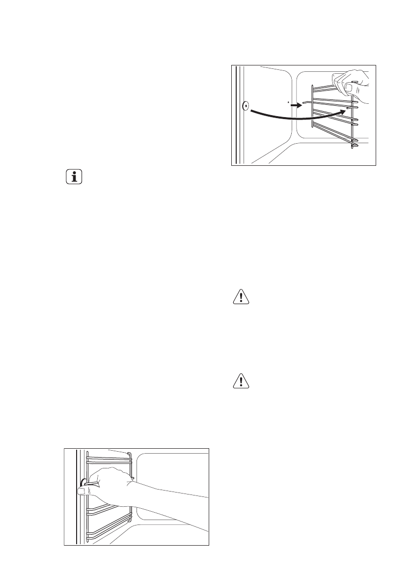
12.3 Снятие направляющих
для противней, а также
снятие
Для очистки камеры духового шкафа
извлеките направляющие для
противней, а также извлеките .
1. Потяните переднюю часть
направляющей для противня в
сторону, противоположную
боковой стенке.
2. Вытяните заднюю часть
направляющей для противня из
боковой стенки и снимите ее.
2
1
Установка направляющих для
противня производится в обратном
порядке.
12.4 Снятие и установка
стеклянных панелей духового
шкафа
Внутренние стеклянные панели
извлекаются для чистки. Количество
стеклянных панелей зависит от
конкретной модели.
ВНИМАНИЕ!
Во время процедуры
очистки дверца духового
шкафа должна быть
приоткрыта. Случайное
закрывание полностью
открытой дверцы может
привести к повреждениям.
ВНИМАНИЕ!
Не используйте прибор без
стеклянных панелей.
1. Откройте дверцу приблизительно
до угла в 30°. Слегка приоткрытая
дверца остается в этом
положении.
РУССКИЙ
25