Плита Electrolux EKC 954500 W (X) - инструкция пользователя по применению, эксплуатации и установке на русском языке. Мы надеемся, она поможет вам решить возникшие у вас вопросы при эксплуатации техники.
Если остались вопросы, задайте их в комментариях после инструкции.
"Загружаем инструкцию", означает, что нужно подождать пока файл загрузится и можно будет его читать онлайн. Некоторые инструкции очень большие и время их появления зависит от вашей скорости интернета.

Продукты
Тип и положение
противня
Время предвари‐
тельного прогре‐
ва (в минутах)
Температу‐
ра (°C)
Время приготов‐
ления / выпекания
(в минутах)
Цыпленок, це‐
ликом (1,2 кг)
полка духового
шкафа на уровне
2
2)
-
220 - 230
45 - 55
1) Поворотом ручки термостата задайте температуру 250°C.
2) Поместите глубокий противень под полку духового шкафа на уровень 1.
12. ДУХОВОЙ ШКАФ - УХОД И ЧИСТКА
ВНИМАНИЕ!
См. Главу «Сведения по технике
безопасности».
• Протирайте переднюю панель прибора
мягкой тряпкой, смоченной в теплом рас‐
творе моющего средства.
• Для чистки металлических поверхностей
используйте обычное чистящее средство.
• Чистите камеру духового шкафа после ка‐
ждого применения. Это облегчает удале‐
ние загрязнений и предотвращает их при‐
горание.
• Стойкие загрязнения удаляйте специаль‐
ными чистящими средствами для духовых
шкафов.
• После каждого использования протирайте
все принадлежности духового шкафа (мяг‐
кой тряпкой, смоченной в теплой воде с до‐
бавлением моющего средства) и затем да‐
вайте им высохнуть.
• При наличии принадлежностей с антипри‐
гарным покрытием не используйте для их
чистки агрессивные средства, острые пред‐
меты и не мойте их в посудомоечной маши‐
не. В противном случае возможно повре‐
ждение антипригарного покрытия!
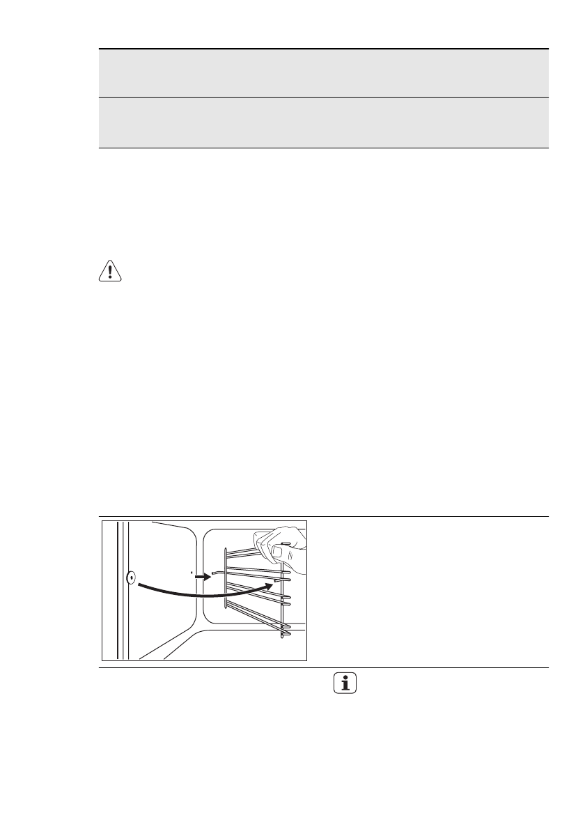
12.1 Снятие направляющих для противня
2
1
Для очистки боковых стенок духового шкафа
направляющие для противня можно снять.
1.
Потяните переднюю часть направляю‐
щей для противня в сторону, противопо‐
ложную боковой стенке.
2.
Вытяните заднюю часть направляющей
для противня из боковой стенки и сними‐
те ее.
Установка направляющих для противня про‐
изводится в обратном порядке.
Закругленные концы направляющих
для противня должны быть направле‐
ны вперед.
12.2 Очистка дверцы духового
шкафа
В дверце духового шкафа имеются две сте‐
клянные панели, установленные одна за дру‐
22 www.electrolux.com












