Плита Мечта 450 ГЭ - инструкция пользователя по применению, эксплуатации и установке на русском языке. Мы надеемся, она поможет вам решить возникшие у вас вопросы при эксплуатации техники.
Если остались вопросы, задайте их в комментариях после инструкции.
"Загружаем инструкцию", означает, что нужно подождать пока файл загрузится и можно будет его читать онлайн. Некоторые инструкции очень большие и время их появления зависит от вашей скорости интернета.

8
5 УСТРОЙСТВО ПЛИТЫ
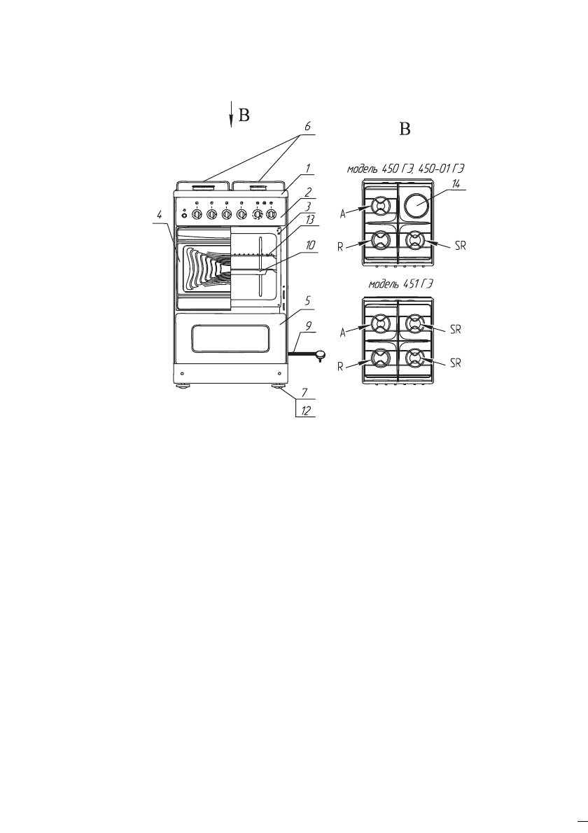
5.1 Внешний вид плиты в соответствии с рисунком 1.
1 — блок-плита; 2 — блок управления; 3 — электрошкаф жарочный; 4 — дверца жароч-
ного шкафа; 5 — крышка передняя (далее отсек хозяйственный); 6 — решётки горелок;
7 — болт регулировочный; 9 — шнур сетевой с вилкой; 10 — противень; 12 — колпачок;
13 — решетка электрошкафа жарочного; 14 — электроконфорка; R.SR. A — газовые
горелки (см. таблицу 1).
Рисунок 1 — Внешний вид плиты
5.2 Несущей конструкцией плиты является каркас, на который крепится
электрошкаф жарочный, дверца шкафа жарочного; панель блока управле-
ния, крышка отсека хозяйственного.
5.3 Наружные видовые детали плиты, а также внутренние и наружные
поверхности электрошкафа жарочного покрыты силикатными эмалями.
Боковые стенки плиты и крышка отсека хозяйственного покрыты порошко-
во-полимерной краской.
5.4 Электрошкаф жарочный обогревается трубчатыми электронагрева-
телями и имеет с наружной стороны тепловую изоляцию.
5.5 Внутри электрошкафа жарочного на боковых стенках расположены
выштамповки позволяющие устанавливать на желаемом уровне противни и
решетку при приготовлении блюд.
5.6 Внутреннее пространство электрошкафа жарочного для удобства
наблюдения за приготовлением освещается лампой подсветки.
5.7 Дверца электрошкафа жарочного имеет двойное остекление термо-
стойким стеклом, что позволяет визуально контролировать готовность при-
готовляемого блюда, не открывая её.
Содержание
- 3 Расход газа указан при температуре окружающей; Горелка; давление; давление
- 4 Технические данные и характеристики в соответствии с моделью; Наименование показателей
- 5 КОМПЛЕКТНОСТЬ; Примечание; ТРЕБОВАНИЯ БЕЗОПАСНОСТИ; ствующие сертификаты.; *Винт малого пламени 36
- 8 УСТРОЙСТВО ПЛИТЫ; Внешний вид плиты в соответствии с рисунком 1.; Рисунок 1 — Внешний вид плиты; Наружные видовые детали плиты, а также внутренние и наружные
- 9 Рисунок 2а; б) - панель блока управления плиты модели 451ГЭ; Рисунок 2б
- 10 Таблица 4; Рисунок 3; Круговое вращение
- 11 фа жарочного в соответствии с рисунком 5.; Рисунок 5; Ручка термостата для включения электрошкафа жарочного и ус-; Рисунок 6
- 12 Рисунок 7; ного патрубка на герметичность методом обмыливания.; Рисунок 8
- 13 ПОРЯДОК РАБОТЫ; совмещения метки на ручке со знаком «максимальное пламя» (рисунок 9); Рисунок 9 - Принцип работы органов управления; Кран закрыт
- 15 туры
- 20 Замену поврежденного шнура соединительного про-; 0 ГАРАНТИИ ИЗГОТОВИТЕЛЯ; Дата продажи должна быть отмечена в руководстве по эксплуата-
- 21 1 СВИДЕТЕЛЬСТВО О ПРИЕМКЕ И ПРОДАЖЕ
- 22 2 ТАЛОН УСТАНОВКИ ПЛИТЫ; АКЦИОНЕРНОЕ ОБЩЕСТВО
- 23 ТАЛОН No 1; ТАЛОН No 2