Плита GEFEST ПГЭ 5102-03 0027 (RU) - инструкция пользователя по применению, эксплуатации и установке на русском языке. Мы надеемся, она поможет вам решить возникшие у вас вопросы при эксплуатации техники.
Если остались вопросы, задайте их в комментариях после инструкции.
"Загружаем инструкцию", означает, что нужно подождать пока файл загрузится и можно будет его читать онлайн. Некоторые инструкции очень большие и время их появления зависит от вашей скорости интернета.

16
6101.00.0.000 РЭ
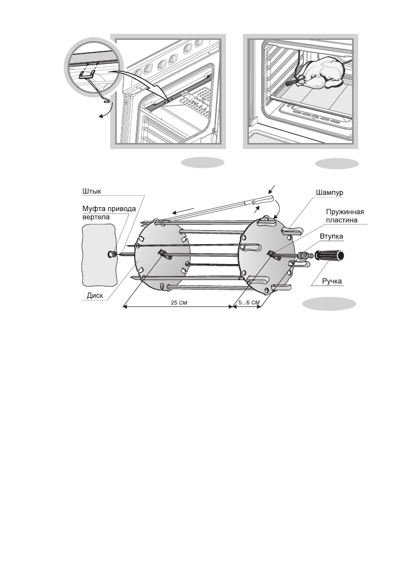
5.10 ШАШЛЫЧНИЦА
Рис.8
Сжав пружинные пластины, наденьте на штык диск и установите его на
расстоянии 5-6 см от втулки (рис.8).
Ориентируясь по длине шампура, на расстоянии приблизительно 25 см установите
на штыке второй диск.
ВНИМАНИЕ:
НЕ РАЗДВИГАЙТЕ ДИСКИ ШИРОКО. ЭТО МОЖЕТ ПРИВЕСТИ К
ВЫПАДЕНИЮ ШАМПУРОВ ВО ВРЕМЯ ВРАЩЕНИЯ!
Нарезанное кубиками (размер 4-5 см), заправленное и готовое к приготовлению
мясо нанизать на шампуры.
Не прижимайте куски сильно друг к другу и не допускайте их провисание.
Заведите острие шампура в круглое отверстие диска и, сжав пружинную ручку,
зафиксируйте шампур в квадратном гнезде другого диска, расположенного у
втулки.
Установите крючок, для чего вставьте «усы» крючка в пазы верхней полки проема
духовки и опустите крючок вниз (рис. 6).
Острый конец штыка вставьте до упора в муфту привода вертела, а втулку
повесьте на крючок. Крючок должен находиться в канавке втулки.
Снизу установите жаровню для сбора жира.
Включите гриль с вертелом и, убедившись,что шашлычница вращается, закройте
дверцу духовки (ручка должна быть снята). Конструкция позволяет поворачивать
шампур с шагом 90
о
и обжаривать шашлык со всех сторон. Для этого остановите
вращение и, сжав пружинную ручку, поверните шампур в гнезде на необходимый
угол. Если Вы используете не все шампуры, применяемые необходимо размещать
равномерно.
Рис.6
Рис.7
Содержание
- 3 СОДЕРЖАНИЕ
- 4 ОБЩИЕ УКАЗАНИЯ; ТРЕБОВАНИЯ БЕЗОПАСНОСТИ
- 6 ТЕХНИЧЕСКИЕ ХАРАКТЕРИСТИКИ
- 9 КОМПЛЕКТНОСТЬ
- 10 УСТРОЙСТВО И ПОРЯДОК РАБОТЫ
- 11 ПАНЕЛЬ УПРАВЛЕНИЯ
- 13 Духовка управляет ся терморегулятором с
- 14 Духовка управляется краном с безопасностью
- 15 ДУХОВКА ЭЛЕКТРИЧЕСКАЯ; Противень
- 19 УСКОРЕННЫЙ НАГРЕВ С КОНВЕКЦИЕЙ
- 22 M E N U; Табло; ТАЙМЕР ЭЛЕКТРОННЫЙ СЕНСОРНЫЙ
- 30 УСТАНОВКА; Выравнивание
- 31 Средства для повышения устойчивости плиты; Д Л Я Д О П О Л Н И Т Е Л Ь Н О Й Б Е З О П А С Н О СТ И , Ч ТО Б Ы П Л И ТА Н Е; Порядок установки предохранительного кронштейна
- 32 Порядок установки предохранительной цепочки
- 33 ПОДСОЕДИНЕНИЕ К ГАЗОВОЙ СЕТИ; ПОДКЛЮЧЕНИЕ
- 34 Подключение розетки
- 35 РЕКОМЕНДАЦИИ РЕМОНТНЫМ СЛУЖБАМ; Регулировка для различного давления газа
- 36 ПРАКТИЧЕСКИЕ СОВЕТЫ; ПО ИСПОЛЬЗОВАНИЮ ГОРЕЛОК СТОЛА; Замена винтов малого расхода (ВМР) в обычных кранах горелок стола.
- 38 Рекомендации по выпечке в газовой духовке
- 39 конкретной ситуации помогут внести необходимые коррективы.
- 40 ПО ПРИГОТОВЛЕНИЮ МЯСА И РЫБЫ; ОБСЛУЖИВАНИЕ ПЛИТЫ
- 43 2 ТРАНСПОРТИРОВАНИЕ И ХРАНЕНИЕ; 1 ТЕХНИЧЕСКОЕ ОБСЛУЖИВАНИЕ ПЛИТЫ
- 44 4 ГАРАНТИИ ИЗГОТОВИТЕЛЯ
Характеристики
Остались вопросы?Не нашли свой ответ в руководстве или возникли другие проблемы? Задайте свой вопрос в форме ниже с подробным описанием вашей ситуации, чтобы другие люди и специалисты смогли дать на него ответ. Если вы знаете как решить проблему другого человека, пожалуйста, подскажите ему :)












