Плита Gefest GC 532 E2 WH - инструкция пользователя по применению, эксплуатации и установке на русском языке. Мы надеемся, она поможет вам решить возникшие у вас вопросы при эксплуатации техники.
Если остались вопросы, задайте их в комментариях после инструкции.
"Загружаем инструкцию", означает, что нужно подождать пока файл загрузится и можно будет его читать онлайн. Некоторые инструкции очень большие и время их появления зависит от вашей скорости интернета.

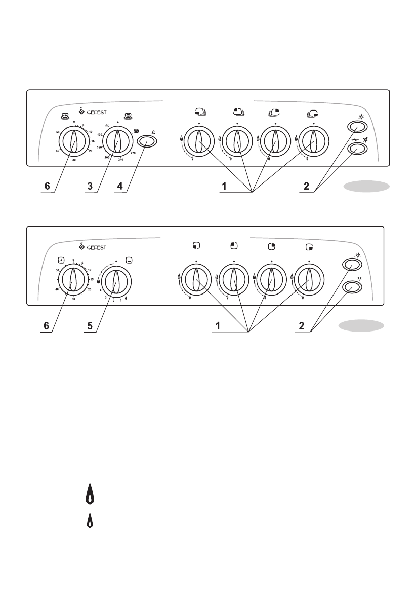
5.2 ПАНЕль УПРАВлЕНИЯ
Панель плиты с терморегулятором и устройством предохранительным
(ТУПом) духовки
Панель плиты c краном с безопасностью духовки
1.
Ручки крана горелки стола.
2.
Кнопки электророзжига, включения подсветки духовки и привода вертела.
3.
Ручка ТУПа горелок духовки.
4.
Кнопка предохранительного устройства ТУПа.
5.
Ручка крана горелки духовки.
6.
Ручка таймера механического.
5.3 ГОРЕлКИ СТОлА
Положение горелок на столе схематично изображено возле каждого крана.
символы:
Кран закрыт
максимальное пламя
малое пламя
8
Рис.3
Рис.2
1200.00.0.000Э РЭ
Все краны имеют фиксированное положение «малое пламя», обеспечивающее
устойчивое горение в экономичном режиме.
Характеристики
Остались вопросы?Не нашли свой ответ в руководстве или возникли другие проблемы? Задайте свой вопрос в форме ниже с подробным описанием вашей ситуации, чтобы другие люди и специалисты смогли дать на него ответ. Если вы знаете как решить проблему другого человека, пожалуйста, подскажите ему :)












