Плита DeLuxe 5003.17Э - инструкция пользователя по применению, эксплуатации и установке на русском языке. Мы надеемся, она поможет вам решить возникшие у вас вопросы при эксплуатации техники.
Если остались вопросы, задайте их в комментариях после инструкции.
"Загружаем инструкцию", означает, что нужно подождать пока файл загрузится и можно будет его читать онлайн. Некоторые инструкции очень большие и время их появления зависит от вашей скорости интернета.

УСТРОЙСТРОЙСТВО ПЛИТЫ
5
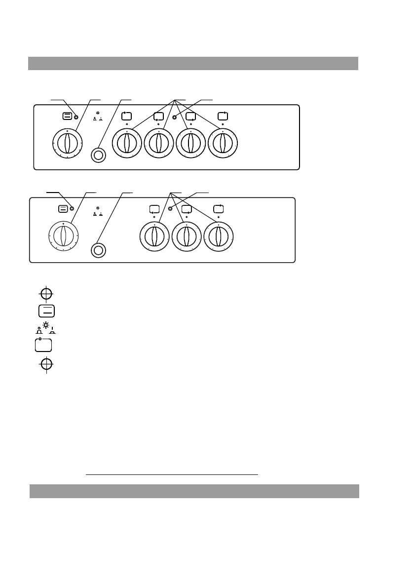
Панель управления плиты модели 5004.12э
Панель управления плиты модели 5003.17э
6
5
4
3
2
1
6
5
4
3
2
1
6
5
4
3
2
1
6
5
4
3
2
1
2
1
5
4
3
100
250
150
200
6
5
4
3
2
1
6
5
4
3
2
1
6
5
4
3
2
1
2
1
5
4
100
250
150
200
3
Элементы управления, расположенные на лицевых панелях, выполняют
следующие функции:
1 - сигнальная лампочка включения электрошкафа;
2 - ручка управления электрошкафом;
3 - кнопка переключателя освещения электрошкафа;
4 - ручки переключателей, управляющих работой
электроконфорок;
5 - сигнальная лампочка включения электроконфорок - загорается
при включении любой из них.
Жарочный электрошкаф имеет три пары направляющих пазов, предназна-
ченных для установки на желаемом уровне противней и решётки.
Дверь жарочного электрошкафа застеклена двумя прозрачными термостой-
кими  стёклами,  которые  позволяют  визуально    контролировать    процесс   
приготовления  пищи.
Крепление двери жарочного электрошкафа к корпусу плиты выполнено с
помощью    специальных    петель,    позволяющих    фиксировать    её    в  трёх   
положениях: 
закрыто, открыто, промежуточное.
ЭКОНОМИЯ
ЭЛЕКТРОЭНЕРГИИ
Рациональное использование электроэнергии позволяет не только снизить
расходы, но и сохранить окружающую среду. Выполнение следующих простых 
правил позволит добиться наилучших результатов.
Применение кастрюлей с плоским, ровным и толстым дном, диаметр которых
равняется диаметру электроконфорки, позволяет сэкономить электроэнергию.
332243.017-02
Содержание
- 2 ОБЩИЕ УКАЗАНИЯ; Окружающая среда должна быть не взрывоопасной и не содержать; ТРЕБОВАНИЯ ПО ТЕХНИКЕ БЕЗОПАСНОСТИ; приборам 1 класса по; Плиту можно устанавливать только в домах, имеющих специальный
 - 3 ТРЕБОВАНИЯ ПО ТЕХНИКЕ БЕЗОПАСНОСТИ; - оставлять детей без надзора с целью недопущения их игр с плитой; РАСПАКОВКА
 - 4 УСТАНОВКА; установите плиту на ровную поверхность.; Запрещается устанавливать плиту на подставку.; может являться причиной отказа в гарантийном обслу-; УСТРОЙСТВО ПЛИТЫ
 - 6 ЭКОНОМИЯ ЭЛЕКТРОЭНЕРГИИ; Уважаемый покупатель!; ПОДКЛЮЧЕНИЕ К ЭЛЕКТРИЧЕСКОЙ СЕТИ
 - 7 ПОДГОТОВКА К РАБОТЕ; Легко
 - 8 ТЕХНИЧЕСКИЕ ДАННЫЕ
 - 9 ПОРЯДОК РАБОТЫ; ОСВЕЩЕНИЕ ЖАРОЧНОГО ЭЛЕКТРОШКАФА; В нижней части плиты расположено хозяйственное; УХОД ЗА ПЛИТОЙ; Перед тем, как мыть плиту, отключите её от электрической сети.
 - 10 Для снятия двери духовки необходимо:
 - 11 СВИДЕТЕЛЬСТВО О ПРИЕМКЕ И ПРОДАЖЕ; Плита электрическая; Штамп ОТК; ТАЛОН НА УСТАНОВКУ
 - 12 ГАРАНТИЙНЫЕ ОБЯЗАТЕЛЬСТВА; на; Ремонт плит производят ремонтные организации, адреса которых; servis; ПРАВИЛА ТРАНСПОРТИРОВАНИЯ И ХРАНЕНИЯ
 - 13 УВАЖАЕМЫЙ ПОКУПАТЕЛЬ!; жарочном электрошкафу; Пирог выпекается слишком сухим; - в следующий раз необходимо; Поверхность пирога слишком темная; - следует поместить противень с; Пирог хорошо пропечен снаружи, но сырой внутри; - следует хорошо смазать противень и; РЕКОМЕНДАЦИИ
 - 14 Тесто
 
Характеристики
Остались вопросы?Не нашли свой ответ в руководстве или возникли другие проблемы? Задайте свой вопрос в форме ниже с подробным описанием вашей ситуации, чтобы другие люди и специалисты смогли дать на него ответ. Если вы знаете как решить проблему другого человека, пожалуйста, подскажите ему :)
 
 
 
 
 
 
 
 
 
 
 
 
 
 
 
 











