Плита DE-LUXE Evolution 506040.01Г (КР) Ч/Р - инструкция пользователя по применению, эксплуатации и установке на русском языке. Мы надеемся, она поможет вам решить возникшие у вас вопросы при эксплуатации техники.
Если остались вопросы, задайте их в комментариях после инструкции.
"Загружаем инструкцию", означает, что нужно подождать пока файл загрузится и можно будет его читать онлайн. Некоторые инструкции очень большие и время их появления зависит от вашей скорости интернета.

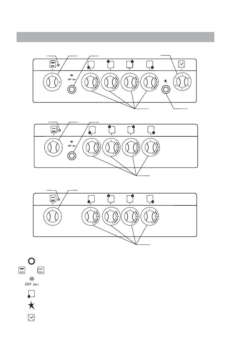
Панель управления плиты модели 506040.01гэ
Панель управления плиты модели 506040.11гэ
2
4
200
150
100
250
Элементы управления, расположенные на лицевых панелях, выполняют
следующие функции:
1 - сигнальная лампочка включения электрической духовки;
или 2 - ручка управления электрической духовки;
3 - кнопка переключателя освещения электрической духовки;
4 - ручки кранов, управляющих работой газовых горелок;
5
- кнопка электророзжига;
6 - ручка механического таймера.
Панель управления плиты модели 506040.00гэ, 506040.10гэ
УСТРОЙСТВО ПЛИТЫ
332243.032
7
2
4
200
150
100
250
1
1
200
150
2
3
3
4
100
5
6
1
Содержание
- 4 ОБЩИЕ УКАЗАНИЯ; газообразном топливе”,; на природном газе; ТРЕБОВАНИЯ ТЕХНИКИ БЕЗОПАСНОСТИ; lEC; только; Доступные части могут сильно нагреваться при использовании
- 5 ТРЕБОВАНИЯ ПО ТЕХНИКЕ БЕЗОПАСНОСТИ; При повреждении шнура питания, во избежании опасности, его должен
- 6 При не с облюдении вышеперечисленных требований
- 7 ТЕХНИЧЕСКИЕ ДАННЫЕ
- 8 РАСПАКОВКА; гэ с максимальным количеством
- 9 УСТРОЙСТВО ПЛИТЫ
- 10 Решетка
- 12 прекращает подачу газа на горелки в; УСТАНОВКА
- 13 ПОДКЛЮЧЕНИЕ К ГАЗОВОЙ МАГИСТРАЛИ; жёсткого или гибкого
- 14 ПЕРЕВОД НА ДРУГОЙ ТИП ГАЗА; Горелки плоскости готовки:
- 15 ЭКОНОМИЯ РАСХОДА ГАЗА; горелками в зависимости от диаметра кастрюли.; ЭКОНОМИЯ; Нужно помнить о необходимости использования крышки, в противном; Уважаемый покупатель!
- 16 ПОДГОТОВКА К РАБОТЕ; “Руководством по эксплуатации” и следуйте его рекомендациям.
- 17 ПОРЯДОК РАБОТЫ; Газовые горелки; продолжать удерживать ручку
- 18 ПОРЯДОК РАБОТЫ; ЭЛЕКТРОКОНФОРКИ; повышенной скоростью нагрева и имеет защиту от перегрева.
- 19 ЭЛЕКТРИЧЕСКАЯ ДУХОВКА
- 20 Режим “ГРИЛЬ; Вертел; Освещение электрической духовки
- 21 УХОД ЗА ПЛИТОЙ; Перед тем как мыть плиту, отключите её от электрической сети.
- 24 УСТРАНЕНИЕ НЕИСПРАВНОСТЕЙ; Вероятная причина
- 26 Штамп ОТК; Плита газовая с электрической
- 27 ГАРАНТИЙНЫЕ ОБЯЗАТЕЛЬСТВА; условий эксплуатации, хранения и транспортирования.; Ремонт плит производят ремонтные организации, адреса которых; ПРАВИЛА ТРАНСПОРТИРОВАНИЯ И ХРАНЕНИЯ; температуре плюс 25 С.
- 28 РЕКОМЕНДАЦИИ
Характеристики
Остались вопросы?Не нашли свой ответ в руководстве или возникли другие проблемы? Задайте свой вопрос в форме ниже с подробным описанием вашей ситуации, чтобы другие люди и специалисты смогли дать на него ответ. Если вы знаете как решить проблему другого человека, пожалуйста, подскажите ему :)













