Плита De Luxe 5040.42гэ(кр) ЧР-030 - инструкция пользователя по применению, эксплуатации и установке на русском языке. Мы надеемся, она поможет вам решить возникшие у вас вопросы при эксплуатации техники.
Если остались вопросы, задайте их в комментариях после инструкции.
"Загружаем инструкцию", означает, что нужно подождать пока файл загрузится и можно будет его читать онлайн. Некоторые инструкции очень большие и время их появления зависит от вашей скорости интернета.

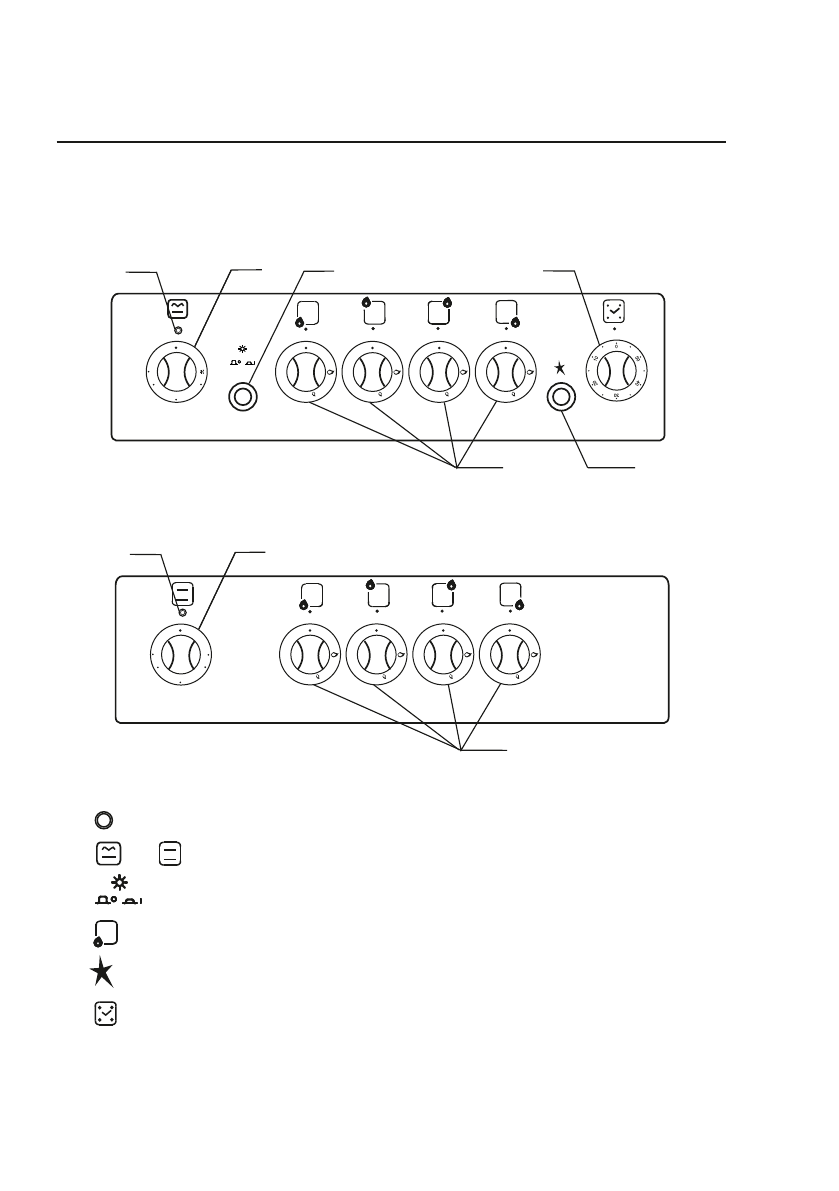
Панель управления плиты модели 5040.21гэ, 5040.31гэ
2
4
200
150
100
250
Элементы управления, расположенные на лицевых панелях, выполняют
следующие функции:
1 - сигнальная лампочка включения электрической духовки;
или 2 - ручка управления электрической духовки;
3 - кнопка переключателя освещения электрической духовки;
4 - ручки кранов, управляющих работой газовых горелок;
5
- кнопка электророзжига;
6 - ручка механического таймера.
Панель управления плиты модели 5040.20гэ, 5040.30гэ,
5040.42гэ(кр) ЧР-030
200
150
2
3
4
1
1
100
5
6
УСТРОЙСТВО ПЛИТЫ
7
332243.043
Содержание
- 2 ОБЩИЕ УКАЗАНИЯ; на природном газе; ТРЕБОВАНИЯ ТЕХНИКИ БЕЗОПАСНОСТИ
- 3 ТРЕБОВАНИЯ ПО ТЕХНИКЕ БЕЗОПАСНОСТИ
- 5 ТЕХНИЧЕСКИЕ ДАННЫЕ; Горелки плоскости готовки:
- 6 РАСПАКОВКА
- 7 УСТРОЙСТВО ПЛИТЫ
- 8 прекращает подачу газа на горелки в случае; УСТАНОВКА; Запрещается устанавливать плиту на подставку.
- 9 ПОДКЛЮЧЕНИЕ К ГАЗОВОЙ МАГИСТРАЛИ; жёсткого или гибкого
- 10 ПЕРЕВОД НА ДРУГОЙ ТИП ГАЗА
- 11 ПОДГОТОВКА К РАБОТЕ; ЭКОНОМИЯ РАСХОДА ГАЗА
- 12 ПОРЯДОК РАБОТЫ; Газовые горелки
- 13 ПОРЯДОК РАБОТЫ; ЭЛЕКТРИЧЕСКАЯ ДУХОВКА
- 14 Режим “ГРИЛЬ; Вертел; Освещение электрической духовки
- 15 УХОД ЗА ПЛИТОЙ
- 17 ЗАМЕНА ЛАМПЫ ОСВЕЩЕНИЯ; УТИЛИЗАЦИЯ
- 18 УСТРАНЕНИЕ НЕИСПРАВНОСТЕЙ
- 20 Плита газовая с электрической
- 21 ГАРАНТИЙНЫЕ ОБЯЗАТЕЛЬСТВА; Ремонт плит производят ремонтные организации, адреса которых; ПРАВИЛА ТРАНСПОРТИРОВАНИЯ И ХРАНЕНИЯ
- 22 РЕКОМЕНДАЦИИ
Характеристики
Остались вопросы?Не нашли свой ответ в руководстве или возникли другие проблемы? Задайте свой вопрос в форме ниже с подробным описанием вашей ситуации, чтобы другие люди и специалисты смогли дать на него ответ. Если вы знаете как решить проблему другого человека, пожалуйста, подскажите ему :)













Как включить гриль?