Плита De Luxe 5040.32Г (КР) ЧР - инструкция пользователя по применению, эксплуатации и установке на русском языке. Мы надеемся, она поможет вам решить возникшие у вас вопросы при эксплуатации техники.
Если остались вопросы, задайте их в комментариях после инструкции.
"Загружаем инструкцию", означает, что нужно подождать пока файл загрузится и можно будет его читать онлайн. Некоторые инструкции очень большие и время их появления зависит от вашей скорости интернета.

ПОРЯДОК РАБОТЫ
15
Внимание!
Для плит без терморегулятора не рекомендуется включать
духовку на максимальную температуру более, чем на 1 час в день.
Режим “ГРИЛЬ”
Зажигание жарочной горелки (гриль) духовки (модели 5040.30г, 5040.40г)
производится следующим образом:
- открыть дверь духовки;
- нажать и повернуть ручку терморегулятора в положение “ ”, удерживая её
нажатой в этом положении зажечь горелку. После зажигания газа для
срабатывания устройства контроля пламени
продолжать удерживать ручку
нажатой в течение 10-15 с;
- отпустить ручку терморегулятора;
- убедившись, что горение устойчиво, закройте дверь духовки.
Если пламя по какой-либо причине погаснет, то чтобы снова зажечь горелку
необходимо сначала установить кран горелки в положение “кран закрыт”,
подождать не менее 1 мин, а затем опять повторить розжиг горелки.
При работе в режиме “гриль” дверь духовки должна быть закрыта. Это
предохраняет ручки управления плиты от перегрева.
Внимание!
Плита при работе гриля достигает высокой температуры.
Маленьких детей держать на расстоянии.
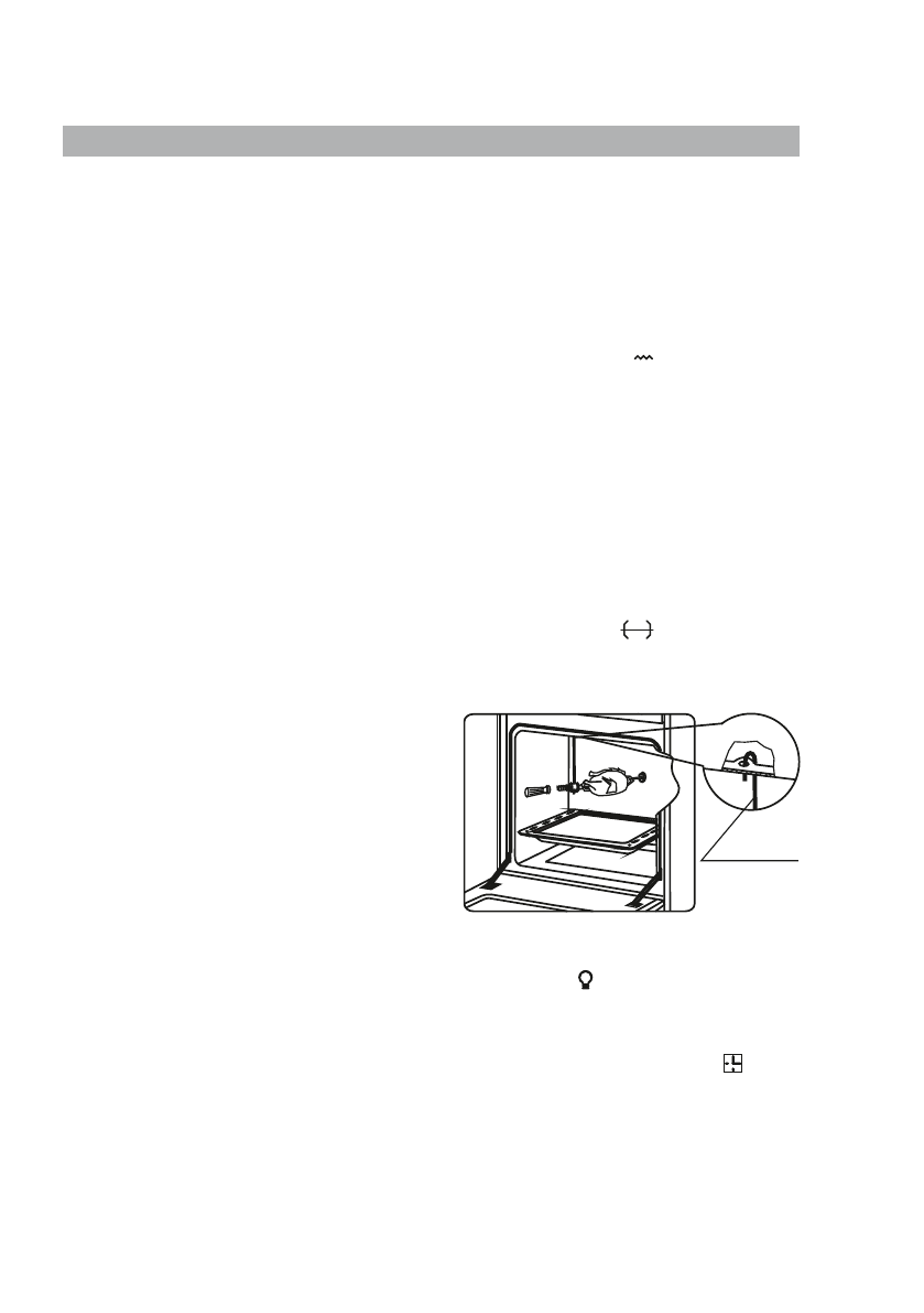
Вертел
Вращение вертела в плитах моделей 5040.30г, 5040.40г включается кнопкой,
которая расположена на панели управления под символом “ ”.
При использовании вертела необходимо:
- установить в духовку опору вертела;
- на штырь вертела насадить при-
готовленный для жарения продукт,
разместив продукт по середине, закрепить
его съёмными фиксаторами с двух сторон,
застопорить фиксаторы винтами;
- разместить вертел в духовке, вставив
его в муфту электродвигателя и на опору
вертела;
- снять ручку вертела;
- разместить противень на самый
нижний уровень духовки.
Освещение духовки
Освещение духовки в соответствующих моделях плит производится кнопкой
на панели управления, обозначенной символом “ ”. Освещение дает
возможность наблюдать за приготовлением пищи в любом режиме работы
духовки, не открывая двери.
Таймер механический
Таймер в плитах расположен на панели управления под символом “ ”.
Таймер работает независимо от духовки.
Чтобы завести таймер, необходимо повернуть ручку на один оборот по
часовой стрелке, затем вращая в обратную сторону, установить на необходимую
отметку времени. Время установки от 5 до 60 мин.
По харак терном у звук овом у сигналу Вы можете услышать, что
установленное время на таймере истекло.
332243.034-40
30
Опора
вертела
Содержание
- 2 ОБЩИЕ УКАЗАНИЯ; - температура окружающего; на природном газе; ТРЕБОВАНИЯ ПО ТЕХНИКЕ БЕЗОПАСНОСТИ; IEC; только
- 3 При использовании плита сильно нагревается. Опасайтесь
- 4 П р и н е с о бл юд е н и и в ы ш е п е р еч и с л е н н ы х т р е б о в а н и й
- 5 Горелки плоскости готовки:; ТЕХНИЧЕСКИЕ ДАННЫЕ
- 6 Противень; Горелки
- 7 УСТРОЙСТВО ПЛИТЫ
- 8 духовки; прекращает подачу газа на горелки в случае погасания пламени.; Духовка имеет три пары направляющих пазов, предназначенных для
- 9 УСТАНОВКА; установите плиту на ровную поверхность.; ПОДКЛЮЧЕНИЕ К ГАЗОВОЙ МАГИСТРАЛИ; Подключение к газовой магистрали должен производить только; жёсткого или гибкого; выполнены следующие требования:
- 10 Замена инжекторов в горелках плоскости
- 11 ПЕРЕВОД НА ДРУГОЙ ТИП ГАЗА; GPL
- 12 ЭКОНОМИЯ РАСХОДА ГАЗА; ПОДГОТОВКА К РАБОТЕ; “Руководством по эксплуатации” и следуйте его рекомендациям.
- 13 Газовые горелки; ПОРЯДОК РАБОТЫ; продолжать
- 14 продолжать удерживать ручку
- 15 Режим “ГРИЛЬ”; нижний уровень духовки.; Освещение духовки; По харак терном у звук овом у сигналу Вы можете услышать, что
- 16 Хозяйственное отделение
- 18 УТИЛИЗАЦИЯ; УСТРАНЕНИЕ НЕИСПРАВНОСТЕЙ
- 19 Вероятная причина
- 20 Штамп ОТК; Плита газовая бытовая; ТАЛОН НА УСТАНОВКУ
- 21 ГАРАНТИЙНЫЕ ОБЯЗАТЕЛЬСТВА; условий эксплуатации, хранения и транспортирования.; Ремонт плит производят ремонтные организации, адреса которых; ПРАВИЛА ТРАНСПОРТИРОВАНИЯ И ХРАНЕНИЯ; С и относительной влажности 80 % при
- 22 РЕКОМЕНДАЦИИ
Характеристики
Остались вопросы?Не нашли свой ответ в руководстве или возникли другие проблемы? Задайте свой вопрос в форме ниже с подробным описанием вашей ситуации, чтобы другие люди и специалисты смогли дать на него ответ. Если вы знаете как решить проблему другого человека, пожалуйста, подскажите ему :)