Страница 2 - CAUTION; BAЖHO; ЛАЗЕРНЫЙ; ПРЕДУПРЕЖДЕ; Условия эксплуатации
Ru 2 Восклицательный знак, заключенный в равносторонний треугольник, используется для предупреждения пользователя о наличии в литературе, поставляемой в комплекте с изделием, важных указаний по работе с ним и обслуживанию. Символ молнии, заключенный в равносторонний треугольник, используется для пре...
Страница 3 - МЕРЫ ПРЕДОСТОРОЖНОСТИ ПРИ
Ru 3 Ру сс ки й Если вилка шнура питания изделия не соответствует имеющейся электророзетке, вилку следует заменить на подходящую к розетке. Замена и установка вилки должны производиться только квалифицированным техником. Отсоединенная от кабеля вилка, подключенная к розетке, может вызвать тяжелое по...
Страница 5 - Перед началом работы; Комплект поставки; Откройте заднюю крышку и вставьте; Примечания
Ru 5 Ру сс ки й Перед началом работы Комплект поставки Пульт ДУ Аудио/ видео кабель Силовой кабель Батарейки AA (R6) x 2 Гарантийный талон Инструкции по эксплуатации (данный документ) Установка батареек в пульт ДУ Откройте заднюю крышку и вставьте батарейки как показано на рисунке ниже...
Страница 6 - Подключения; Подключение через аудио/; Подключение через кабель; Подключение через кабель
Ru 6 Подключения При выполнении или изменении подключений, обязательно отключите питание и отсоедините силовой кабель от розетки. После завершения всех подключений между устройствами подключите силовой кабель. Подключение через аудио/ видеокабель Задняя панель проигрывателя (DV- 220KV-K) Телевиз...
Страница 7 - Подключение через имеющиеся в
Ru 7 Ру сс ки й Данный проигрыватель разработан с целью подключения к устройствам, совместимым с HDMI. Он может не срабатывать соответствующим образом при подключении к устройствам DVI. Подключение к телевизору Задняя панель проигрывателя (DV- 220KV-K) К входному терминалу HDMI Выровняйте направле...
Страница 8 - Названия деталей и функции; Пульт ДУ
Ru 8 Названия деталей и функции Пульт ДУ STANDBY/ON OPEN/CLOSE AUDIO SUBTITLE ANGLE 1 2 3 CLEAR USB DVD/ 4 5 6 7 8 9 0 TOP MENU MENU ENTER RETURN PLAY MODE ZOOM DISPLAY PLAY PREV PAUSE DVD STOP NEXT HOMEMENU KARAOKE 5 10 11 4 8 12 13 1 2 3 7 9 22 14 16 15 19 20 21 23 24 18 17 KEY KEY ECHO - ECHO + 6...
Страница 9 - Пример: Навигатор диска для DVD
Ru 9 Ру сс ки й Фр а гмент A-B Повтор В случ. ПорядкеПрограммаРежим поиска A начало цикла B конец циклаВыкл Play Mode Фрагмент A-B Повторно воспроизводится указанный раздел внутри единой главы или дорожки. Повтор Повторное воспроизведение глав, разделов, дорожек или файлов. В случ. Порядке Вос...
Страница 10 - Воспроизведение; Воспроизведение дисков или файлов
Ru 10 Воспроизведение Воспроизведение дисков или файлов MIC VOLUME MIN MAX 1 Включите питание. 3 Загрузите диск. DV-220KV-K 4 Запускается воспроизведение. 2 Откройте лоток диска Для остановки. Перед началом, включите питание телевизора и переключите вход телевизора. Можно переключать язык экранн...
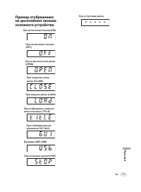
Страница 11 - Пример отображения
Ru 11 Ру сс ки й Пример отображения на дисплейном окошке основного устройства При включении питания (ON) При отключении питания (OFF) При открытии лотка диска (OPEN) При закрытии лотка диска (CLOSE) При загрузке диска (LOAD) При отображении главного меню или меню (TITLE) При отображении или управлен...
Страница 12 - Запись дорожек на аудио CD; Воспроизведение в нужном
Ru 12 Воспроизведение файлов, сохраненных на устройствах USB Проигрыватель может не распознавать устрой - ство USB, может не воспроизводить файлы или может не подавать питание на устройство USB. Подробнее, смотрите При подключении устрой - ства USB на стр. 22 . Pioneer не гарантирует воспроизвед...
Страница 13 - Караоке
Ru 13 Ру сс ки й 2 Выберите Программа. Используйте / для выбора, затем нажмите ENTER или . 3 Выберите Ввод/редактир. Используйте / для выбора, затем нажмите ENTER . Экран Ввод/ редактир. различается в зависимости от диска или файла. 4 Выберите главу, раздел, дорожку или файл для воспроиз...
Страница 14 - Изменение настроек; О функции Sound Retriever; Параметры; Настройки
Ru 14 Изменение настроек Заводские настройки по умолчанию указаны курсивом . Параметры Настройки звука Параметры (настройки) Sound Retriever ( Высок. / Низк. / Выкл ) Звучание файла WMA или МР3 вос - производится с высоким качеством. Это действует только для файлов с разрешениями “.wma” или “.mp3”...
Страница 16 - Сброс всех настроек на
Ru 16 Установка настроек Компонентн. вых. и Разрешение HDMI на их настройки по умолчанию 1 Отключите питание проигрывателя. Нажмите STANDBY/ON . 2 Нажмите STANDBY/ON, удерживая нажатой . Используйте кнопки на фронтальной панели проигры - вателя. Включается питание. Сброс всех настроек на настр...
Страница 17 - Воспроизводимые диски и файлы; Воспроизводимые диски
Ru 17 Ру сс ки й Воспроизводимые диски и файлы Воспроизводимые диски Имеющиеся в продаже DVD-Video диски DVD-R/ -RW/ -R DL и DVD+R/ +RW/ +R DL диски, записанные в режиме Video и закрытые для записи DVD-R/ -RW/ -R DL диски, записанные в режиме VR Video CD диски (включая Super VCD диски) Имеющие...
Страница 18 - Воспроизводимые файлы; Поддерживаемые форматы; DivX
Ru 18 Воспроизведение дисков, созданных на компьютерах или BD/ DVD рекордерах Диски, записанные с помощью компьютера, могут не воспроизводиться по причине настроек приложения или настроек среды компьютера. Записывайте диски в формате, воспроизводимом данным проигрывателем. За более подробной инфор...
Страница 19 - JPEG
Ru 19 Ру сс ки й Для файлов внешних субтитров поддерживаются следующие расширения в имени файла формата субтитра (пожалуйста, учтите, что данные файлы не отображаются в навигационном меню диска): .srt, .sub, .ssa, .smi Имя файла кинофильма должно повторяться в начале имени файла внешнего субтитр...
Страница 20 - Дополнительная информация; Возможные неисправности и способы их устранения; Общие неисправности
Ru 20 Дополнительная информация Возможные неисправности и способы их устранения Зачастую неправильное срабатываение ошибочно воспринимается за неполадки или неисправности. Если вы считаете, что имеется какая-либо неисправность на данном компоненте,изучите информацию ниже. В некоторых случаях непол...
Страница 22 - При подключении устройства USB
Ru 22 При подключении устройства USB Неисправность Проверьте Способ устранения Устройство USB не распознается. Подключено-ли устройство USB соот - ветствующим образом? Надежно подключите устройство (до конца). Подключено-ли устройство USB через концентратор USB? Данный проигрыватель не поддерживает ...
Страница 25 - Настройка телевизионной; Предостережения по; При перемещении; Место установки
Ru 25 Ру сс ки й Настройка телевизионной системы Если картинка воспроизводимого диска искажена, переключите телевизионную систему на систему, используемую в вашей стране или регионе. При переключении телевизионной системы огра - ничиваются типы воспроизводимых дисков. Заводская настройка по ум...
Страница 26 - Обращение с дисками
Ru 26 Когда проигрыватель не используется, отключите его питание. В зависимости от условий сигнала, на телевизионном экране могут отображаться полосы, и может попа - дать шум в звучание радиотрансляций, когда питание проигрывателя включено. В таком случае отключите питание проигрывателя. О конденсац...
Страница 27 - О дисках с особыми формами; Технические; контактного коннектора)
Ru 27 Ру сс ки й Не приклеивайте куски бумаги или наклейки на диски. Это может деформировать диски, делая их непригодными для воспроизведения. Также помните, что взятые напрокат диски часто имеют наклеенные этикетки, и клей этикетки может про - текать. Перед использвованием взятых напрокат дисков ...