Пилы торцовочные Makita LS1018LN - инструкция пользователя по применению, эксплуатации и установке на русском языке. Мы надеемся, она поможет вам решить возникшие у вас вопросы при эксплуатации техники.
Если остались вопросы, задайте их в комментариях после инструкции.
"Загружаем инструкцию", означает, что нужно подождать пока файл загрузится и можно будет его читать онлайн. Некоторые инструкции очень большие и время их появления зависит от вашей скорости интернета.

15
Использование
пылевого
мешка
обеспечивает
чистоту
при
выполнении
работ
и
легкость
сбора
пыли
.
Подсоедините
пылевой
мешок
,
установив
его
на
противопылевую
насадку
.
Когда
пылесборный
мешок
заполнится
примерно
наполовину
,
снимите
пылесборный
мешок
с
инструмента
и
вытяните
зажим
.
Удалите
содержимое
пылесборного
мешка
,
слегка
ударив
по
нему
,
чтобы
удалить
частицы
,
прилипшие
к
внутренней
части
,
которые
могут
ухудшить
дальнейший
сбор
пыли
.
Примечание
:
Подсоединение
пылесоса
к
пиле
повышает
чистоту
операций
.
Крепление
обрабатываемой
детали
ПРЕДУПРЕЖДЕНИЕ
:
•
Очень
важно
правильно
закреплять
деталь
в
тисках
или
в
ограничителях
.
Невыполнение
этого
требования
может
привести
к
тяжелым
травмам
и
повреждению
инструмента
и
/
или
детали
.
•
После
завершения
распиливания
не
поднимайте
диск
до
тех
пор
,
пока
он
не
остановится
полностью
.
Поднятие
вращающегося
диска
может
привести
к
тяжелым
травмам
и
повреждению
детали
.
•
При
отрезании
детали
,
длина
которой
больше
опорного
основания
пилы
,
необходимо
поддерживать
выступающую
часть
по
всей
длине
и
на
одном
уровне
,
чтобы
деталь
была
ровной
.
Надлежащая
опора
детали
поможет
предотвратить
защемление
диска
и
возможную
отдачу
,
которая
может
привести
к
тяжелым
травмам
.
При
креплении
обрабатываемой
детали
не
полагайтесь
полностью
только
на
вертикальные
и
/
или
горизонтальные
тиски
.
Детали
небольшой
толщины
могут
провисать
.
Во
избежание
защемления
дисковой
пилы
и
возможной
ОТДАЧИ
обеспечьте
опору
обрабатываемой
детали
по
всей
ее
длине
.
1
2
001549
 
 
 
Регулировка
ограждения
направляющей
(
ПОДВИЖНОЕ
ОГРАЖДЕНИЕ
)
1
2
015204
ПРЕДУПРЕЖДЕНИЕ
:
•
Перед
включением
инструмента
убедитесь
,
что
подвижное
ограждение
надежно
закреплено
.
•
Перед
срезанием
фаски
убедитесь
,
что
ни
одна
часть
инструмента
(
особенно
диск
),
не
касается
ограждения
при
полном
опускании
и
подъеме
рукоятки
,
а
также
при
перемещении
каретки
по
всей
длине
.
Если
инструмент
или
диск
коснется
ограждения
,
это
может
привести
к
отдаче
или
неожиданному
перемещению
материала
и
тяжелым
травмам
.
1
015206
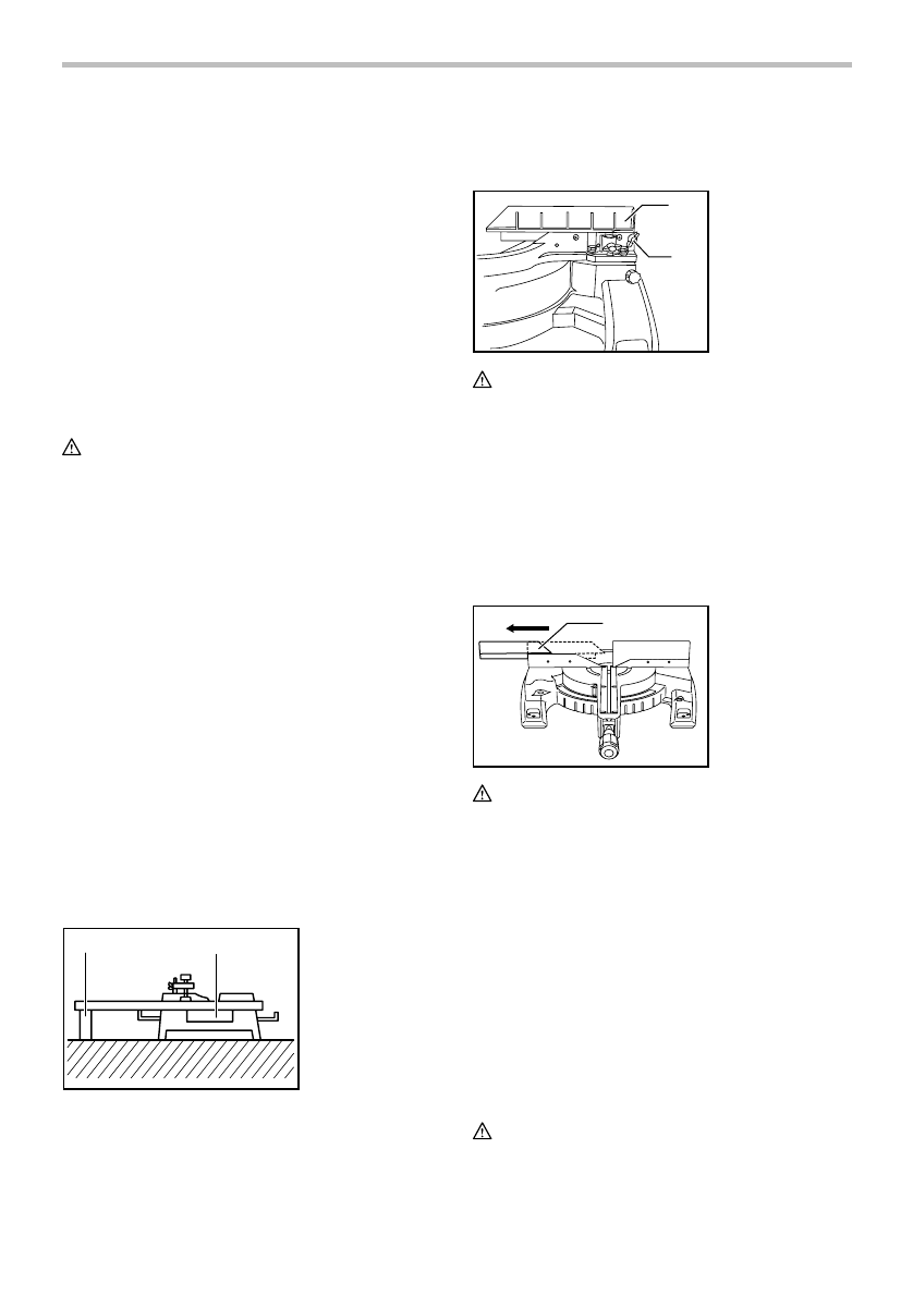
ПРЕДУПРЕЖДЕНИЕ
:
•
При
срезании
фаски
сместите
подвижное
ограждение
влево
и
закрепите
как
показано
на
рисунке
.
В
противном
случае
оно
будет
касаться
диска
или
другой
части
инструмента
,
что
может
привести
к
тяжелым
травмам
оператора
.
Этот
инструмент
оснащен
подвижным
ограждением
,
которое
обычно
должно
находиться
в
положении
,
показанном
на
рисунке
.
Однако
при
срезании
фаски
слева
устанавливайте
его
в
левое
положение
,
показанное
на
рисунке
,
если
наконечник
инструмента
касается
его
.
Завершив
срезание
фаски
,
обязательно
возвращайте
подвижное
ограждение
в
исходное
положение
и
закрепляйте
,
плотно
заворачивая
винт
фиксации
.
Сублинейка
R
ПРЕДУПРЕЖДЕНИЕ
:
•
Перед
включением
инструмента
убедитесь
,
что
правое
вспомогательное
ограждение
надежно
закреплено
.
1.
Подвижное
ограждение
1.
Подвижное
ограждение
2.
Зажимной
винт
1.
Опора
2.
Поворотное
основание
Характеристики
Остались вопросы?Не нашли свой ответ в руководстве или возникли другие проблемы? Задайте свой вопрос в форме ниже с подробным описанием вашей ситуации, чтобы другие люди и специалисты смогли дать на него ответ. Если вы знаете как решить проблему другого человека, пожалуйста, подскажите ему :)

 
  
  
  
  
  
  
  
  
  
  
  
  
  
  
  
  
  
  
  
  
  
  
  
  
  
  
  
 











