Philips FC6054/01 - Инструкция по эксплуатации

Philips FC6054/01

Philips FC6054/01 - инструкция пользователя по применению, эксплуатации и установке на русском языке. Мы надеемся, она поможет вам решить возникшие у вас вопросы при эксплуатации техники.

Если остались дополнительные вопросы — свяжитесь с нами через контактную форму.

1 Страница 1
2 Страница 2
3 Страница 3
4 Страница 4
5 Страница 5
6 Страница 6
7 Страница 7
8 Страница 8
9 Страница 9
10 Страница 10
11 Страница 11
12 Страница 12
13 Страница 13
14 Страница 14
15 Страница 15
16 Страница 16
Страница: / 16

Содержание:

  • Страница 6 – Внимание; русский
  • Страница 7 – При монтаже зарядного устройства на стене расстояние между; зарядка аккумулятора; Перед первым использованием прибора аккумулятор необходимо
  • Страница 8 – использование прибора; В поставку входят следующие принадлежности:; Очистка прибора; Перед очисткой зарядного устройства отключайте адаптер от
  • Страница 9 – Очистка пылесборника; Не забывайте регулярно очищать пылесборник и фильтры.; Хранение
  • Страница 11 – гарантия и обслуживание; Philips Domestic Appliances and Personal Care BV.
Загрузка инструкции

FC6053, FC6051, FC6050

4222.003.3316.2.indd 1

21-04-2006 16:00:09

"Загрузка инструкции" означает, что нужно подождать пока файл загрузится и можно будет его читать онлайн. Некоторые инструкции очень большие и время их появления зависит от вашей скорости интернета.

Краткое содержание

Страница 6 - Внимание; русский

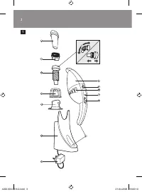
65 Общее описание (рис. 1) A Щелевая насадка B Щетка C Специальная щелевая насадка (только для FC6053) D Выходной фильтр E Входной фильтр F Зарядное устройство G Адаптер H Пылесборник I Кнопка для открывания пылесборника J Отверстия для выхода воздуха K Индикатор зарядки L Переключатель вкл./выкл. M...

Страница 7 - При монтаже зарядного устройства на стене расстояние между; зарядка аккумулятора; Перед первым использованием прибора аккумулятор необходимо

Зарядку аккумуляторов пылесоса следует производить при помощи адаптера и зарядного устройства, входящих в комплект поставки. Допускается некоторый нагрев адаптера в процессе зарядки. Всегда отключайте пылесос после использования. Храните прибор в недоступном для детей месте. Напряжение на ленточных ...

Страница 8 - использование прибора; В поставку входят следующие принадлежности:; Очистка прибора; Перед очисткой зарядного устройства отключайте адаптер от

Установите пылесос в зарядное устройство. (Рис. 5) Сигнальный индикатор загорится, показывая, что прибор заряжается. (Рис. 6) Примечание.Сигнальный индикатор горит постоянно, пока прибор установлен на зарядное устройство, а адаптер подключен к электросети. Примечание.Сигнальный индикатор не отобража...

Характеристики

Другие модели - Philips

Все другое Philips