Печи Smeg ALFA143HU - инструкция пользователя по применению, эксплуатации и установке на русском языке. Мы надеемся, она поможет вам решить возникшие у вас вопросы при эксплуатации техники.
Если остались вопросы, задайте их в комментариях после инструкции.
"Загружаем инструкцию", означает, что нужно подождать пока файл загрузится и можно будет его читать онлайн. Некоторые инструкции очень большие и время их появления зависит от вашей скорости интернета.

Монтаж
162
Используйте
пятижильный
кабель типа
5 x 1,5 мм²
.
Неподвижное соединение
Установите на линии питания
многополюсный переключатель в
соответствии с нормами установки.
Многополюсный выключатель должен
быть расположен рядом с варочной
панелью в легкодоступном месте.
Соединение посредством розетки и
штепсельной вилки
Следует проверить, чтобы розетка и
штепсельная вилка были одного типа.
Избегать использования переходников,
адаптеров или ответвителей, так как они
могут явиться причиной нагрева или
ожога.
Замена кабеля
1. Отвинтить винты заднего картера и
снять картер чтобы иметь доступ к
клеммнику.
2. Заменить кабель.
3. Убедиться в том, что провода
проложены оптимально во избежание
любого контакта с духовкой.
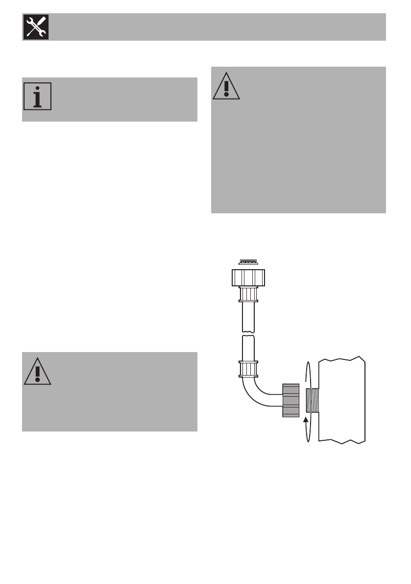
5.2 Гидравлическое подключение
Подсоединить вход для воды к
водозаборнику на задней части
прибора с резьбовой горловиной в ¾”.
Вышеуказанные значения
относятся к внутреннему
токопроводящему кабелю.
Электрическое напряжение
Опасность электрического
удара
• Дезактивировать общее
электрическое питание.
Неправильное использование
Риск повреждений прибора
• Если трубопровод подачи воды новый
или находился долгое время в
простое, перед подключением
убедиться, что вода прозрачная и не
имеет загрязнений (дать ей стечь).
• Давление на входе должно быть в
диапазоне минимум 50 кПа и
максимум 500 кПа.
Характеристики
Остались вопросы?Не нашли свой ответ в руководстве или возникли другие проблемы? Задайте свой вопрос в форме ниже с подробным описанием вашей ситуации, чтобы другие люди и специалисты смогли дать на него ответ. Если вы знаете как решить проблему другого человека, пожалуйста, подскажите ему :)













