Печи Kraft KF-MO 3506 KGLB - инструкция пользователя по применению, эксплуатации и установке на русском языке. Мы надеемся, она поможет вам решить возникшие у вас вопросы при эксплуатации техники.
Если остались вопросы, задайте их в комментариях после инструкции.
"Загружаем инструкцию", означает, что нужно подождать пока файл загрузится и можно будет его читать онлайн. Некоторые инструкции очень большие и время их появления зависит от вашей скорости интернета.

7
Э Л Е К Т Р И Ч Е С К А Я Д У Х О В К А
E L E C T R I C O V E N
ИНСТРУКЦИЯ ПО ЭКСПЛУАТАЦИИ • USER GUIDE
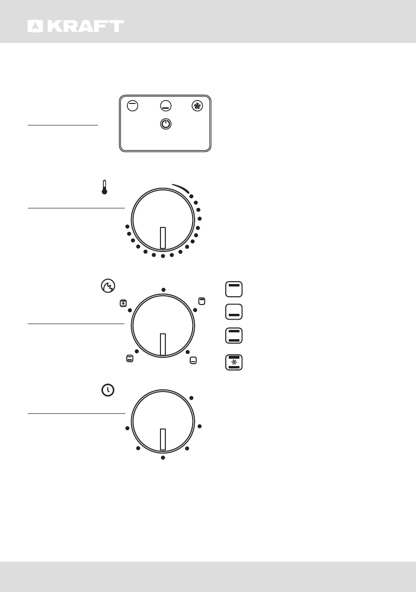
Регулировка
температуры
Установка
таймера
Выбор
режима
приготовления
Индикатор
работы
Таймер:
возможно установить
таймер в диапазоне от 0 до 120 мин.
Духовка будет всегда работать до
отключения ее вручную, при этом го-
рит индикатор работы духовки.
Установка температуры:
Тем-
пература регулируется в диапазо-
не от 70 до 230 °C. После того, как
электродуховка разогрелась до за-
данной температуры, нагреватель-
ный элемент может быть отключен
термостатом.
Диалоговое окно,
где отобра-
жается выбранные режимы и инди-
кация работы электродуховки.
Выбор режима приготовления:
Работает верхний
нагревательный тэн
Работает нижний
нагревательный тэн
Работают верхний и нижний
нагревательные тэны
Работают верхний и нижний
нагревательные тэны
с конвекцией
OFF
OFF
OFF
110
40
150
60
80
190
100
230
120
Temp
°C
Function
Timer (Min)
70
20
Панель управления для моделей KF-MO3506KGLB, KF-MO3507KGL
Содержание
- 3 Оглавление
- 4 техника безопасности.
- 5 СПеЦиФиКаЦиЯ; КОМПлеКТаЦиЯ; Модель
- 6 Установка температуры:; ОПиСание РеЖиМОв
- 8 Панель управления для модели KF-MO6001RGL
- 9 Панель управления для модели KF-MO6002RDGLB
- 10 ПеРеД наЧалОМ ЭКСПлУаТаЦии
- 11 на гарантийный ремонт; ТАЛОН No 2
- 13 гаРанТиЙнЫЙ ТалОн; УСЛОВИЯ гАРАНТИИ
Характеристики
Остались вопросы?Не нашли свой ответ в руководстве или возникли другие проблемы? Задайте свой вопрос в форме ниже с подробным описанием вашей ситуации, чтобы другие люди и специалисты смогли дать на него ответ. Если вы знаете как решить проблему другого человека, пожалуйста, подскажите ему :)