Печи ECON ECO-G2601MO - инструкция пользователя по применению, эксплуатации и установке на русском языке. Мы надеемся, она поможет вам решить возникшие у вас вопросы при эксплуатации техники.
Если остались вопросы, задайте их в комментариях после инструкции.
"Загружаем инструкцию", означает, что нужно подождать пока файл загрузится и можно будет его читать онлайн. Некоторые инструкции очень большие и время их появления зависит от вашей скорости интернета.

6
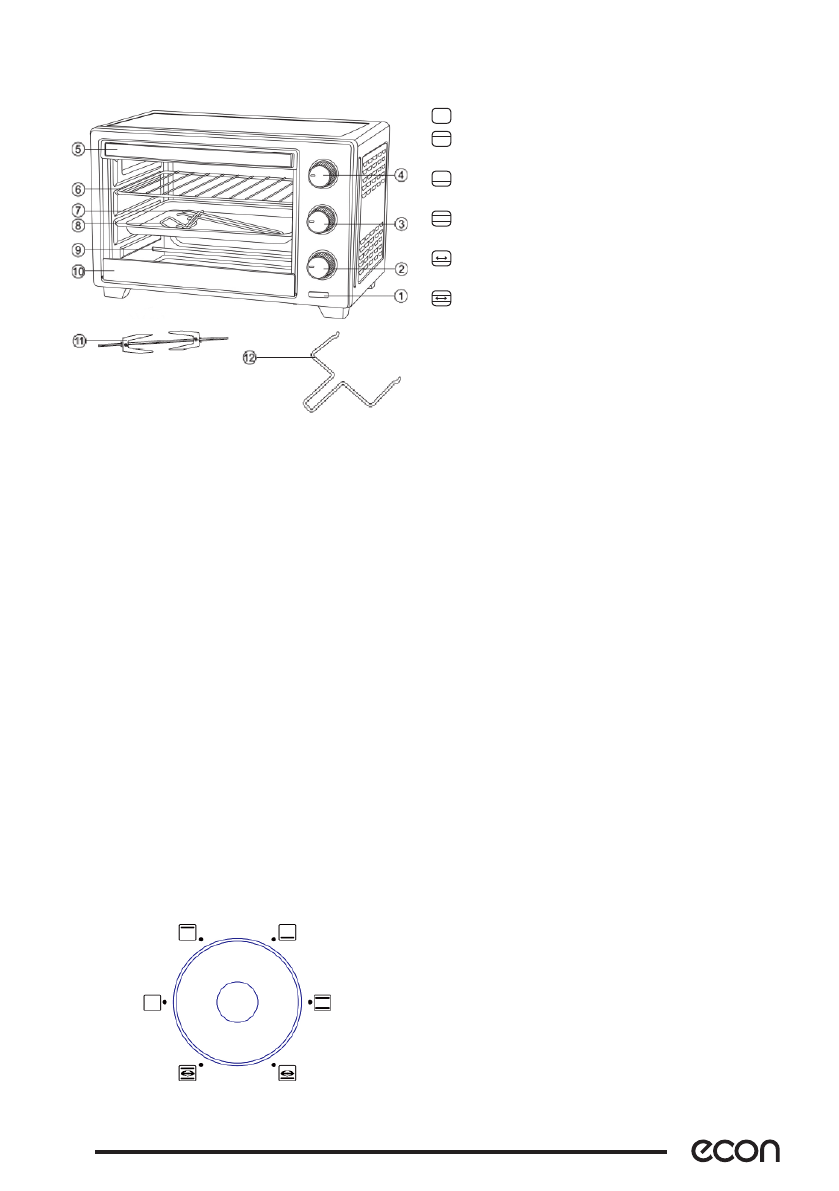
УСТРОЙСТВО ЭЛЕКТРОПЕЧИ
1. Индикатор работы
2. Ручка таймера
3. Переключатель режимов работы печи
4. Регулятор температуры
5. Ручка дверцы
6. Решетка
7. Поддон
8. Ухват для поддона
9. Нагревательные элементы
10. Дверца печи
11. Вертел
12. Держатель вертела
ВНИМАНИЕ:
Стеклянная дверца достаточно тяжелая,
во время открытия удерживайте ее за руч
-
ку, пока полностью не откроете. Не допу
-
скайте, чтобы дверца падала вниз.
ВЫБОР РЕЖИМА РАБОТЫ ПЕЧИ
Выбор режима работы печи осуществляется
с помощью соответствующего переключателя.
Положения переключателя соответствуют
следующим режимам печи:
– выключено;
– работает верхний нагревательный эле
-
мент;
– работает нижний нагревательный эле
-
мент;
– работают верхний и нижний нагрева
-
тельные элементы;
– работает нижний нагревательный эле
-
мент и вертел;
– работают оба нагревательных элемен
-
та и вертел.
УСТАНОВКА ВРЕМЕНИ
ПРИГОТОВЛЕНИЯ
Время приготовления устанавливается с по
-
мощью ручки таймера.
Поворачивая ручку по часовой стрелке
установите нужное время приготовления.
На панели управления печкой загорится ин
-
дикатор работы.
После того как время установлено, ручка
начинает автоматически медленно пово
-
рачиваться против часовой стрелки. Когда
установленное время истечет, приготовле
-
ние завершится, индикатор работы погаснет
и печь подаст звуковой сигнал.
ПОДГОТОВКА К РАБОТЕ
Извлеките печь из упаковки. Удалите всё
из камеры печи. Снимите с поверхности
печи и дверцы все наклейки (кроме наклей
-
ки с указанием модели и серийного номера)
и остатки упаковочной бумаги. Вымойте все
аксессуары водой с мягким моющим сред
-
ством и вытрите насухо.
Убедитесь, что ручка таймера находится
в положении «O». Подключите вилку сетево
-
го шнура к электрической розетке. Ничего
не кладите в камеру печи. Включите работу
обоих нагревательных элементов переклю
-
чателем режимов работы печи. Переведи
-
те регулятор температуры в максимальное
положение. Установите время таймера 15
минут. При первом включении из печи мо
-
жет выходить небольшое количество дыма
или исходить запах. Это нормально. Через
несколько минут печь очистится и будет го
-
това к работе.
Характеристики
Остались вопросы?Не нашли свой ответ в руководстве или возникли другие проблемы? Задайте свой вопрос в форме ниже с подробным описанием вашей ситуации, чтобы другие люди и специалисты смогли дать на него ответ. Если вы знаете как решить проблему другого человека, пожалуйста, подскажите ему :)












