Пароварки Miele DGM7440 - инструкция пользователя по применению, эксплуатации и установке на русском языке. Мы надеемся, она поможет вам решить возникшие у вас вопросы при эксплуатации техники.
Если остались вопросы, задайте их в комментариях после инструкции.
"Загружаем инструкцию", означает, что нужно подождать пока файл загрузится и можно будет его читать онлайн. Некоторые инструкции очень большие и время их появления зависит от вашей скорости интернета.

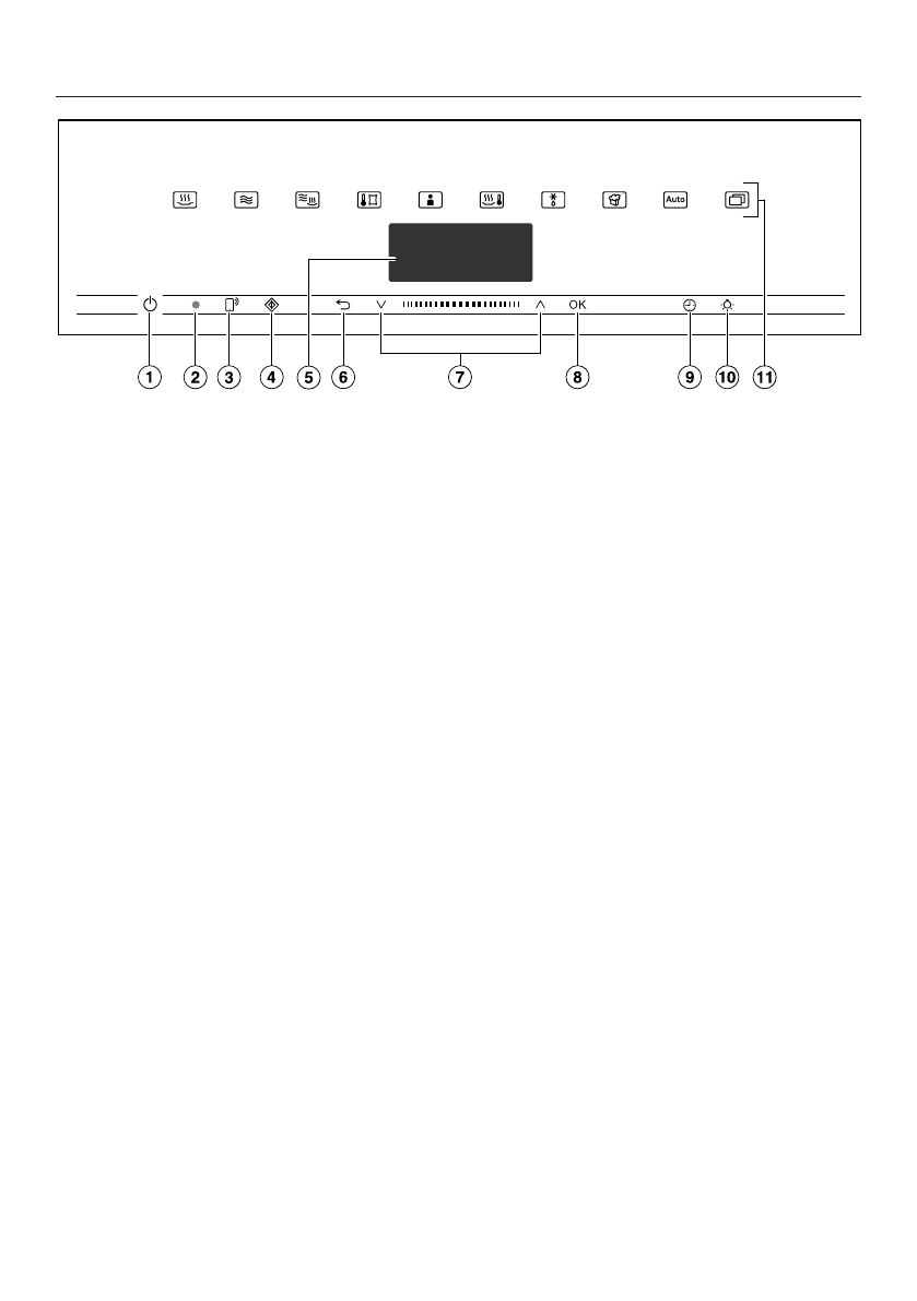
Элементы управления
24
a
Кнопка Вкл/Выкл
(«утоплена»)
Для включения и выключения па-
роварки
b
Оптический интерфейс
(только для сервисной службы
Miele)
c
Сенсорная кнопка
Для управления прибором с ваше-
го мобильного устройства
d
Сенсорная кнопка
Для запуска функции «Быстрый
старт СВЧ»
e
Дисплей
Для индикации текущего времени
и информации по управлению
f
Сенсорная кнопка
Для пошагового возвращения на-
зад и изменения пунктов меню во
время процесса приготовления
g
Область навигации с кнопками-
стрелками
и
Для пролистывания списков выбо-
ра и для изменения значений
h
Сенсорная кнопка
ОК
Для вызова функций и сохранения
установок
i
Сенсорная кнопка
Для установки времени таймера,
времени приготовления, времени
запуска или времени окончания
процесса приготовления
j
Сенсорная кнопка
Для включения и выключения ос-
вещения рабочей камеры
k
Сенсорные кнопки
Для выбора режимов работы, ав-
томатических программ и настро-
ек
Содержание
- 2 Содержание
- 3 Установки
- 4 Важно знать для приготовления на пару
- 6 Монтаж
- 7 Указания по безопасности и предупреждения
- 8 Надлежащее использование
- 9 Если у Вас есть дети
- 10 Техническая безопасность
- 12 Если вилка будет удалена с сетевого кабеля или кабель не
- 13 Правильная эксплуатация; Опасность получения травм из-за горячего пара и горячих по-
- 14 Режим СВЧ
- 15 Важно, чтобы температура в продукте распределялась рав-
- 17 Если продукты питания в рабочей камере начинают выделять
- 18 Теплоизолирующая упаковка имеет тонкий слой алюминиевой
- 19 Чистка и уход
- 20 Ваш вклад в охрану окружающей среды; Утилизация прибора
- 21 Обзор; Пароварка
- 22 Типовая табличка; гда
- 23 не; Таблетки для удаления накипи
- 24 Элементы управления; ОК
- 25 «утоплена» и; Дисплей; появляется главное ме-; Сенсорные кнопки; Сенсорные кнопки над дисплеем
- 26 Сенсорные кнопки под дисплеем; С помощью этой сенсорной кнопки вы запускаете функцию; . Процесс приготовления выполняется при
- 27 Сенсорная; Символы; Символ
- 28 Принцип управления; Выбор пункта меню; OK
- 29 Пролистывайте список выбора в; Подтвердите с помощью
- 30 Ввод чисел; Ввод букв; Активация MobileStart
- 31 Описание функций; Ёмкость для воды
- 32 Фаза нагрева; фаза нагрева также может; автоматически закрывается.
- 33 Принцип действия; только ту посуду, которая
- 34 Подходящая посуда
- 35 решётка
- 36 Неподходящая посуда
- 37 Крышка; Не
- 38 Стеклянный поддон; Для режима; всегда; Подсветка рабочей камеры; Если коснуться кнопки
- 39 Ввод в эксплуатацию; Доступность соединения Wi-Fi
- 40 Основные установки; Установка языка; Установка даты
- 41 Установка жёсткости воды; Первая чистка пароварки; Очистка ёмкости для воды
- 42 Вы должны
- 43 Обзор установок; Пункт меню
- 45 Вызов меню «Установки»; Индикация
- 46 Формат времени; Дата; Яркость
- 47 Громкость звука
- 48 Функция
- 49 Выберите нужный режим работы.
- 50 Жёсткость воды; или в миллионных
- 52 Безопасность; Блокировка кнопок
- 55 – Установленное обновление нельзя; Версия ПО
- 56 Заводские настройки
- 57 Таймер; Установка времени таймера
- 58 Удаление времени таймера; Выберите
- 59 Главное меню и подменю; Меню
- 61 Управление прибором; лодную питьевую воду
- 62 Чистка пароварки; Изменение значений и установок
- 63 Изменение температуры
- 64 Установка времени приготовления
- 65 Изменить время приготовления
- 66 Удалить время приготовления
- 67 Опасность получения травм от
- 69 Быстрый старт СВЧ и Попкорн
- 70 Попкорн
- 71 Посуда для приготовления; Контейнеры для приготовления
- 73 Собственные рецепты
- 74 Приготовление на пару; Eco Приготовление на пару; . Этот режим подходит прежде
- 78 Рыба
- 79 Рекомендации
- 81 – Для сохранения
- 83 Соотношение
- 85 Макароны / изделия из теста; Сухие продукты; Свежие продукты
- 86 Клецки; Паровые кнедли из дрожжевого теста
- 87 Чечевицу; С замачиванием
- 88 Без замачивания
- 89 Мелкие
- 90 Колбасные изделия; Колбасные изделия
- 91 Подготовка
- 93 Приготовление блюд меню; Уровень приготовления
- 94 Приготовление блюда меню
- 101 Повторный разогрев
- 102 Повторный разогрев в режиме Sous-vide
- 103 Специальные программы; Разогрев с помощью пара
- 105 Продукт
- 106 Опасность заражения из-за
- 110 Бланширование; Консервирование; Банки
- 111 – Рекомендуется использовать оста-
- 113 Стерилизация посуды; Подъём дрожжевого теста
- 114 Расплавление желатина; Замочите
- 115 Расплавление мёда; Расплавление шоколада
- 116 Приготовление йогурта; При использовании йогуртно-
- 117 Растапливание шпика; Шпик не подрумянивается.
- 118 Тушение лука; Получение сока
- 119 Снятие кожицы с продукта
- 120 Консервирование яблок
- 121 Размораживание и разогрев в режиме быстрого приготовления
- 122 Установите стеклянный поддон на уровень 1.
- 123 Приготовление риса; Влейте рис с жидкостью в неперфорированный контейнер.
- 124 Размораживание и разогрев c использованием СВЧ
- 126 Альтернативные настройки:; Указания к таблице
- 127 Размораживание в режиме СВЧ
- 129 Опасность получения травм
- 131 Опасность получения ожогов
- 132 Разогрев в режиме СВЧ
- 134 Автоматические программы; Категории
- 135 Персональные программы
- 137 Изменение названия
- 139 Тестовые блюда, приготовление блюд меню
- 141 Тестовые блюда согласно EN 60705 (режим СВЧ
- 143 Чистка рабочей камеры
- 144 Сразу; Снимите защиту от перелива.; Принадлежности
- 145 Установка
- 146 Очистка пароварки от накипи
- 147 Замачивание
- 150 в рабочей камере
- 153 Дополнительно приобретаемые принадлежности; Средства для чистки и ухода
- 154 Сервисная служба; – в сервисные центры Miele.
- 155 Указания по безопасности при встраивании прибора
- 157 Встраивание в шкаф под столешницей
- 160 Установка пароварки
- 161 Подключение к электросети
- 162 Параметры подключения
- 164 Гарантия качества товара
- 166 Контактная информация о Miele
- 167 Заявление о соответствии товара
- 171 Факс
Характеристики
Остались вопросы?Не нашли свой ответ в руководстве или возникли другие проблемы? Задайте свой вопрос в форме ниже с подробным описанием вашей ситуации, чтобы другие люди и специалисты смогли дать на него ответ. Если вы знаете как решить проблему другого человека, пожалуйста, подскажите ему :)













