Пароварки Miele DG6200 - инструкция пользователя по применению, эксплуатации и установке на русском языке. Мы надеемся, она поможет вам решить возникшие у вас вопросы при эксплуатации техники.
Если остались вопросы, задайте их в комментариях после инструкции.
"Загружаем инструкцию", означает, что нужно подождать пока файл загрузится и можно будет его читать онлайн. Некоторые инструкции очень большие и время их появления зависит от вашей скорости интернета.

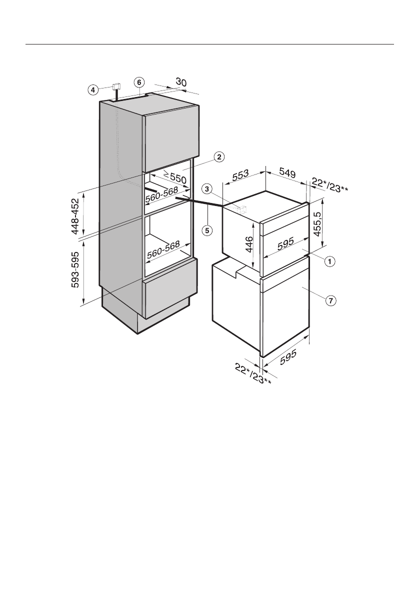
Âñòðàèâàíèå â êîìáèíàöèè ñ äóõîâûì øêàôîì
* Ïðèáîðû ñ ôðîíòàëüíîé ïîâåðõíîñòüþ èç ñòåêëà
** Ïðèáîðû ñ ôðîíòàëüíîé ïîâåðõíîñòüþ èç ìåòàëëà
a
Âñòðàèâàåìàÿ ïàðîâàðêà
b
Íèøà äëÿ âñòðàèâàíèÿ
c
Ïîäâîä ñåòåâîãî êàáåëÿ ê ïðèáîðó
d
Ðåêîìåíäóåìîå ìåñòî ïîäêëþ÷åíèÿ ê ýëåêòðîñåòè
e
Ñåòåâîé êàáåëü
f
Ïðîðåçü äëÿ âåíòèëÿöèè ïðè êîìáèíàöèè ñ äóõîâûì øêàôîì ñ ïèðîëèçîì
g
Äóõîâîé øêàô
Ðàçìåðû ïðèáîðà è íèøè äëÿ âñòðàèâàíèÿ
91
Характеристики
Остались вопросы?Не нашли свой ответ в руководстве или возникли другие проблемы? Задайте свой вопрос в форме ниже с подробным описанием вашей ситуации, чтобы другие люди и специалисты смогли дать на него ответ. Если вы знаете как решить проблему другого человека, пожалуйста, подскажите ему :)