Страница 4 - Обозначения; Компоненты
4 Лазерное устройство Обозначения на метках и их расположение ОПАСНО! èË ÓÚÍ˚‚‡ÌËË ‰ÂÈÒÚ‚ÛÂÚ Ì‚ˉËÏÓ ·ÁÂÌÓ ËÁÎÛ˜ÂÌËÂ. àÁ·Â„‡ÈÚ ÔflÏÓ„Ó ‚ÓÁ‰ÂÈÒÚ‚Ëfl ·ÁÂÌÓ„Ó ÎÛ˜‡. ЛАЗЕРНОЕ УСТРОЙСТВО КЛАССА 1 Осторожно: чÌÌÓ ÛÒÚÓÈÒÚ‚Ó ËÒÔÓθÁÛÂÚ Î‡ÁÂ. àÒÔÓθÁÓ‚‡ÌË Ò‰ÒÚ‚ ÛÔ‡‚ÎÂÌËfl ËÎË Â„ÛÎËÓ‚ÍË, ‡ Ú...
Страница 5 - Сенсорная; Включение
5 Эксплуатация устройства Сенсорная панель Включение питания На основном устройстве: Нажмите на середину сенсорной панели Выключение питания На основном устройстве: Нажмите и удерживайте нажатой не менее 1 секунды (дисплей источника) (Питание отключено) Питание в ключено (режим радио) Пример: режим ...
Страница 6 - Изменение
6 Эксплуатация устройства (продолжение) Изменение режима На основном устройстве: Для смены источника нажмите кнопку (индикация источника) На пульте ДУ: Для смены источника нажмите [PWR] (SOURCE). Режим радио (См. стр. 16) Режим CD-плейера (См. стр. 26) Режим CD-чейнджера (См. стр. 30) Установка AUX-...
Страница 10 - Замечания
10 Перед подготовкой к эксплуатации Замечания относительно сенсорной панели В рабочем режиме • При выполнении операций Вы должны дотрагиваться до панели только пальцами. • Не нажимайте на виртуальные кнопки слишком сильно, чтобы не повредить стекло на поверхности сенсорной панели. • Не дотрагивайтес...
Страница 11 - Органы
Установка батареи ¡ Выньте держатель батареи. Возьмитесь за держатель батареи со стороны "В" и вытяните его, нажав на участок "А", как указано на рисунке. ™ Установите батарею в держатель. Вставляйте батарею стороной (+) вверх, как показано на рисунке справа, нажимая на участок "...
Страница 12 - устройстве
12 Органы управления (на основном устройстве и сенсорной панели) Сенсорная панель • Включение питания. (См. стр. 14) Примечание: éÔ‡ˆËË ÏÓ„ÛÚ ‚˚ÔÓÎÌflÚ¸Òfl ÌÂÁ‡‚Ë- ÒËÏÓ ÓÚ ÚÓ„Ó, ̇ ͇ÍÛ˛ ˜‡ÒÚ¸ ÒÂÌÒÓÌÓÈ Ô‡ÌÂÎË Ç˚ ̇ʇÎË, çé íéãúäé èêà ÇäãûóÖççéå èàíÄçàà. [MENU] • Переход в режим установки парамет- р...
Страница 16 - Радио; Диапазон
16 Радио ¡ £ ™ Диапазон Нажмите кнопку [BAND] . Режим радиоприема Для выбора режима радио нажмите кнопку / [PWR] (SOURCE) . Нажмите для переключения. (Предустановка) Настройка / [>] : Более высокие частоты. / [<] : Более низкие частоты. Нажмите и удерживайте или / [>] или [<] не менее 0,...
Страница 19 - Параметры
19 £ [MENU] : Монофонический прием : Отмена (Стереофонический прием в диапазоне FM) : Во время поиска определяются только сильные станции. : Определяются даже станции с относительно слабым сигналом. £ Нажмите или / [ ] или [ ] для изменения параметров. Примечания: • ÑÎfl ‚ÓÁ‚‡˘ÂÌËfl ‚ ÌÓχθÌ˚È ÂÊË...
Страница 20 - Основные
20 Система радиоинформации (RDS) Некоторые станции в FM-диапазоне передают дополнительную информацию, совместимую с системой RDS. Данное устройство обладает удобными функциями, использующими эту информацию. Возможности системы RDS меняются в зависимости от региона. Пожалуйста, учтите, что если систе...
Страница 24 - Прием
24 Система радиоинформации (RDS) (продолжение) Прием программ заданного типа (PTY) Вызов предустановок PTY Типы программ запоминаются под номерами от 1 до 6 в памяти предварительных установок, как показано в таблице, приведенной на следующей странице. Для выбора желаемого типа программы нажмите или ...
Страница 46 - Руководство
46 Руководство по инсталляции № Наименование РисунокКоличество 1 Монтажный кожух 1 2 Крепежный болт (5 мм) 1 3 Разъем кабеля питания 1 4 Футляр для съемной лицевой панели 1 5 Декоративная окантовка 1 5 Антенный адаптер ISO 1 7 Пластина для демонтажа устройства 2 8 Фиксирующий зажим (П) 1 9 Фиксирующ...
Страница 48 - Чтобы
48 Руководство по инсталляции (продолжение) Чтобы вынуть устройство Выключите питание устройства. ¡ Удалите съемную лицевую панель. ™ С помощью отвертки удалите декоративную окантовку 5 . • Сначала удалите одну сторону, затем другую. £ Выньте устройство с помощью пластин для демонтажа 7 . ¢ Достаньт...
Страница 50 - Схема
50 Подключение электрических проводов Меры предосторожности (соединитель ISO) • Конфигурация разъема питания должна соответство- вать стандарту ISO. • В некоторых моделях автомобилей конфигурация разъемов может отличаться от стандарта ISO. • Убедитесь, что конфигурация разъемов в вашем авто- мобиле ...
Страница 52 - Усовершенствование
52 Подключение электрических проводов (продолжение) Разъем питания (Поставляется с CX-DP9061EN) 3 Разъем питания Кабель DIN Кабель R CA (опционный) Кабель RCA (опционный) * Для и спользования в качестве монофонического усилителя (мостовое соединение) Кабель RCA (Л) (белый) (П) (красный) Провод зазем...
Страница 54 - Чистка
54 Подключение акустических систем Плавкие предохранители Предупреждение: èÓʇÎÛÈÒÚ‡, ÒΉÛÈÚ ËÌÒÚÛ͈ËflÏ, Ô˂‰ÂÌÌ˚Ï ÌËÊÂ. çÂÒӷβ‰ÂÌË ˝ÚËı ÂÍÓÏẨ‡ˆËÈ ÏÓÊÂÚ ÔË‚ÂÒÚË Í ÔÓÎÓÏÍ ÛÒÚÓÈÒÚ‚‡ Ë ‡ÍÛÒÚ˘ÂÒÍËı ÒËÒÚÂÏ. • Используйте только акустические системы без заземления. • Максимальный выход акуст...
Страница 55 - Техническое
55 Замечания о компакт-дисках / CD-носителях (CD-R, CD-RW Техническое обслуживание и уход (продолжение) Маркированная сторона диска <Правильно> <Неправильно> Не используйте диски неправильной формы Если Вы используете компакт-диски, имеющиеся в продаже, убедитесь, что на них имеется марк...
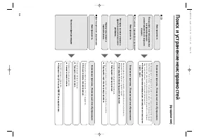
Страница 59 - Сообщения
59 Сообщение на дисплее Питание отключено ■ CD-плейер • Диск загрязнен или перевернут. • Загружен диск, содержащий информацию, отличную от CD-DA. \ éÚÍÓÈÚ ԇÌÂθ Ë Ì‡ÊÏËÚ [ 0 ]. • èӂ¸ Ú ‰ËÒÍ. • ᇄÛÁËÚ ‰ËÒÍ ÒÌÓ‚‡. Возможная причина / Возможный способ устранения Сообщения об ошибках на дисп...
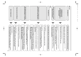
Страница 60 - Ключ
60 Поиск и устранение неисправностей (продолжение) Примечания: ëÓÓ·˘ÂÌËfl ̇ ‰ËÒÔÎÂÂ Ë ‰ÂÈÒÚ‚Ëfl ÔÓ ÛÒÚ‡ÌÂÌ˲ ӯ˷ÓÍ ÏÓ„ÛÚ ˜‡ÒÚ˘ÌÓ ÓÚ΢‡Ú¸Òfl ‰Îfl ‡Á΢Ì˚ı ˜ÂÈ̉ÊÂÓ‚. èÓ‰Ó·ÌÓ Ó ÒÔÓÒÓ·‡ı ÛÒÚ‡ÌÂÌËflı ӯ˷ÓÍ ˜ËÚ‡ÈÚ ‚ ÛÍÓ‚Ó‰ÒÚ‚Â ÔÓ ˝ÍÒÔÎÛ‡Ú‡ˆËË ËÒÔÓθÁÛÂÏÓ„Ó CD-˜ÂÈ̉ʇ. Сообщение на дисплее Номер ...