Отпариватели Scarlett GS130S09 - инструкция пользователя по применению, эксплуатации и установке на русском языке. Мы надеемся, она поможет вам решить возникшие у вас вопросы при эксплуатации техники.
Если остались вопросы, задайте их в комментариях после инструкции.
"Загружаем инструкцию", означает, что нужно подождать пока файл загрузится и можно будет его читать онлайн. Некоторые инструкции очень большие и время их появления зависит от вашей скорости интернета.

IM020
SC-GS130S09
3
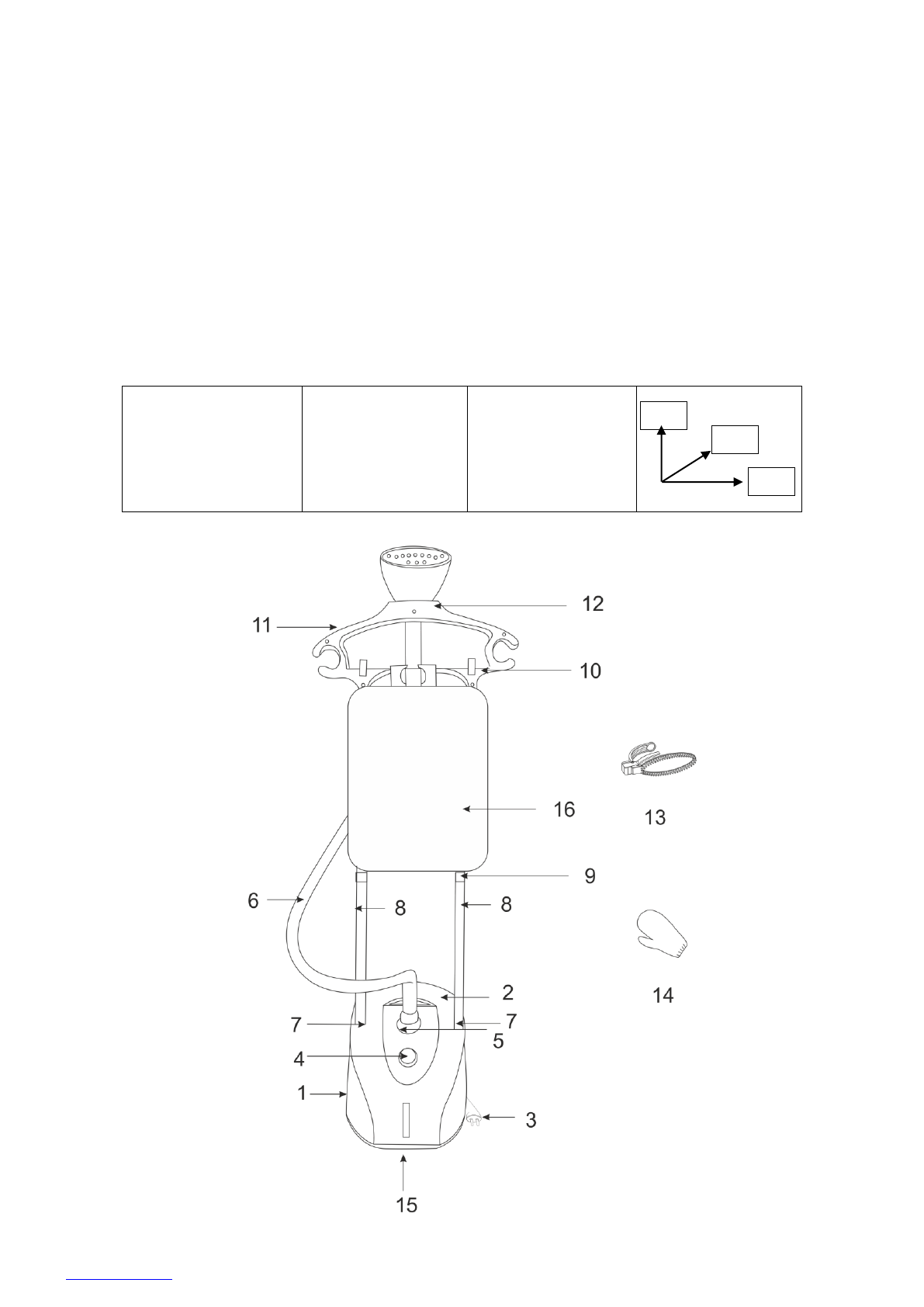
RO DESCRIEREA APARATULUI
PL BUDOWA WYROBU
1.
Bază
2.
Rezervor de apă (2.0 l)
3.
Ștecăr și cablu de alimentare
4. Regulator intensitate aburi
5. Orificiu conectare furtun
6. Furtun
7. Orificiu pentru suportul telescopic cu fixator
8. Suport telescopic
9.
Regulator înălțime suport
10.
Clești pentru pantaloni
11.
Umeraș pentru haine
12. Suport pentru accesoriu
13. Perie
14.
Mănușă
15.
Dop pentru îndepărtarea apei din rezervor
16. Pl
acă detașabilă pentru călcarea cu abur a hainelor
voluminoase și complexe
1. Baza
2.
Zbiornik na wodę (2.0 l)
3.
Wtyczka i przewód zasilający
4.
Regulator intensywności pary
5.
Otwór do podłączenia węża
6.
Wąż
7.
Otwór do stojaku teleskopowego z zatrzaskiem
8. Stojak teleskopowy
9.
Regulatory wysokości stojaka
10. Klamerki do spodni
11. Wieszak na ubrania
12.
Uchwyt na końcówkę
13. Szczotka
14.
Rękawica
15.
Zaślepka do usuwania wody ze zbiornika
16.
Zdejmowana deska do prasowania parą rzeczy o dużych
wymiarach oraz mających złożony krój
220-240 V ~ 50 Hz
1950 W
3.8 / 4.3 kg
mm
970
350
445
Характеристики
Остались вопросы?Не нашли свой ответ в руководстве или возникли другие проблемы? Задайте свой вопрос в форме ниже с подробным описанием вашей ситуации, чтобы другие люди и специалисты смогли дать на него ответ. Если вы знаете как решить проблему другого человека, пожалуйста, подскажите ему :)













