NeoClima ND-10AH - Инструкция по эксплуатации - Страница 19

Осушители воздуха NeoClima ND-10AH - инструкция пользователя по применению, эксплуатации и установке на русском языке. Мы надеемся, она поможет вам решить возникшие у вас вопросы при эксплуатации техники.

Если остались вопросы, задайте их в комментариях после инструкции.

"Загружаем инструкцию", означает, что нужно подождать пока файл загрузится и можно будет его читать онлайн. Некоторые инструкции очень большие и время их появления зависит от вашей скорости интернета.
Страница:
/ 28
Загружаем инструкцию
background image

19

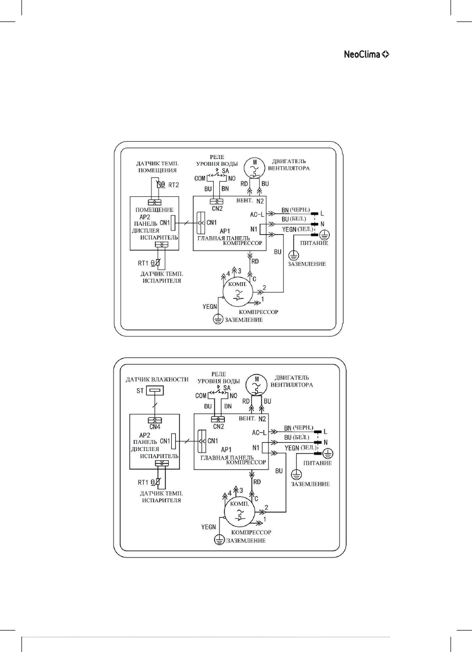
ЭЛЕК ТРИЧЕСКАЯ СХЕМА

Принципиальная  электрическая  схема  может  изменяться  без  предупреждения. 
Смотрите схему своего прибора.

Полезные видео

Характеристики

Оцените статью
tehnopanorama.ru
Остались вопросы?

Не нашли свой ответ в руководстве или возникли другие проблемы? Задайте свой вопрос в форме ниже с подробным описанием вашей ситуации, чтобы другие люди и специалисты смогли дать на него ответ. Если вы знаете как решить проблему другого человека, пожалуйста, подскажите ему :)

Задать вопрос

  1. Любовь

    У меня проблема с осушителем воздуха неоклима нд10ан.включаешь работает потом отключаеться и не собирает влагу.что сним не так

    Ответить
Часто задаваемые вопросы
Как посмотреть инструкцию к NeoClima ND-10AH?
Необходимо подождать полной загрузки инструкции в сером окне на данной странице
Руководство на русском языке?
Все наши руководства представлены на русском языке или схематично, поэтому вы без труда сможете разобраться с вашей моделью
Как скопировать текст из PDF?
Чтобы скопировать текст со страницы инструкции воспользуйтесь вкладкой "HTML"